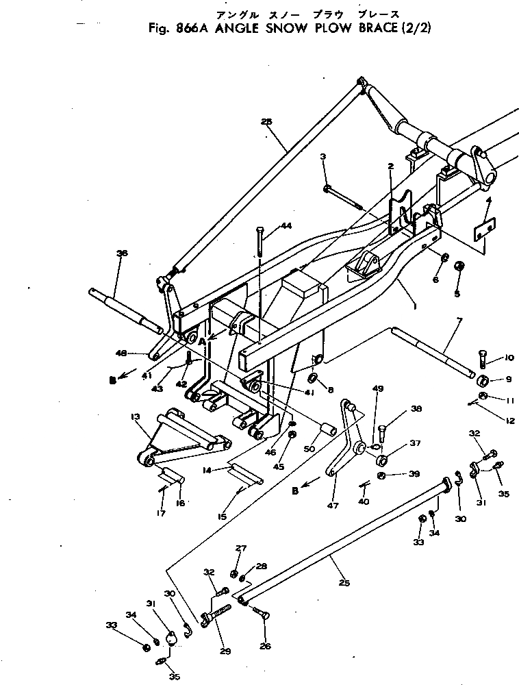
Запчасти Komatsu GD37-5H ANGLE SNOW PНИЗ. БАЛКА (/)(№.-) ОПЦИОННЫЕ КОМПОНЕНТЫ

Схема запчастей Komatsu GD37-5H - ANGLE SNOW PНИЗ. БАЛКА (/)(№.-) ОПЦИОННЫЕ КОМПОНЕНТЫ
FIT
1:1
100%

Артикул

Название

Примечание

Количество

1

232-970-1511

FRAME

SN: ...-UP

1шт.

1

232-970-1510

FRAME

SN: .-...

1шт.

2

232-979-3430

BRACKET

SN: .-UP

1шт.

3

232-970-1941

BOLT

SN: .-UP

2шт.

4

232-970-1950

LOCK

SN: .-UP

2шт.

5

01580-12016

NUT

SN: .-UP

2шт.

6

01602-22060

WASHER

SN: .-UP

2шт.

7

232-970-1550

SHAFT

SN: .-UP

1шт.

8

232-970-1560

SPACER

SN: .-UP

2шт.

9

232-70-13210

COLLAR

SN: .-UP

2шт.

10

01013-51400

BOLT

SN: .-UP

2шт.

11

01590-11416

NUT

SN: .-UP

2шт.

12

04050-03028

PIN

SN: .-UP

2шт.

13

232-979-3174

ARM

SN: ...-UP

1шт.

13

232-979-3172

ARM

SN: ..-...

1шт.

13

232-979-3170

ARM

SN: .-..

1шт.

14

232-970-1521

PIN

SN: ...-UP

2шт.

14

232-970-1520

PIN

SN: .-...

2шт.

15

04050-06060

PIN

SN: ...-UP

4шт.

15

04050-06060

PIN

SN: .-...

2шт.

16

232-979-3250

SHAFT

SN: ...-UP

1шт.

16

232-970-1650

SHAFT

SN: .-...

1шт.

17

04050-06060

PIN

SN: .-UP

2шт.

18

232-979-3240

ROD

SN: ..-UP

1шт.

18

232-970-1850

ROD

SN: .-..

1шт.

19

01010-51680

BOLT

SN: .-UP

1шт.

20

01580-11613

NUT

SN: .-UP

1шт.

21

01602-21648

WASHER

SN: .-UP

1шт.

22

232-970-1820

JOINT

SN: .-UP

1шт.

23

232-970-1840

SHAFT

SN: .-UP

2шт.

24

04050-05040

PIN

SN: .-UP

4шт.

25

232-970-1810

ROD,L.H.

SN: .-UP

1шт.

25

232-970-1860

ROD,R.H.

SN: .-UP

1шт.

26

01010-51680

BOLT

SN: .-UP

2шт.

27

01580-11613

NUT

SN: .-UP

2шт.

28

01602-21648

WASHER

SN: .-UP

2шт.

29

234-970-2150

JOINT ASS'Y

SN: .-UP

2шт.

30

232-71-11340

SHIM, 0.2MM

SN: .-UP

16шт.

31

232-71-11330

CAP

SN: .-UP

4шт.

32

01010-51665

BOLT

SN: .-UP

8шт.

33

01580-11613

NUT

SN: .-UP

8шт.

34

01602-21648

WASHER

SN: .-UP

8шт.

35

07020-00000

FITTING

SN: .-UP

4шт.

36

232-970-1531

SHAFT

SN: .-UP

1шт.

37

232-70-13210

COLLAR

SN: .-UP

2шт.

38

01013-51400

BOLT

SN: .-UP

2шт.

39

01590-11416

NUT

SN: .-UP

2шт.

40

04050-03028

PIN

SN: .-UP

2шт.

41

232-970-1620

BRACKET,L.H.

SN: .-UP

1шт.

41

232-970-1632

BRACKET,R.H.

SN: .-UP

1шт.

42

232-970-1570

SCREW

SN: .-UP

1шт.

43

04059-01640

WIRE

SN: .-UP

1шт.

44

232-970-1641

BOLT

SN: .-UP

4шт.

45

01580-11613

NUT

SN: .-UP

4шт.

46

01602-21648

WASHER

SN: .-UP

4шт.

47

232-970-1910

ARM

SN: .-UP

1шт.

48

232-970-1920

ARM

SN: .-UP

1шт.

49

07020-00000

FITTING

SN: .-UP

2шт.

50

232-970-1660

BUSHING

SN: .-UP

2шт.

51

232-970-1762

PIN

SN: .-UP

2шт.

52

01640-23345

WASHER

SN: .-UP

2шт.

53

04050-06060

PIN

SN: .-UP

2шт.

54

01590-13335

NUT

SN: .-UP

2шт.

55

232-970-1691

ROD

SN: .-UP

2шт.

56

232-970-1710

COLLAR

SN: .-UP

2шт.

57

232-970-1730

WASHER

SN: .-UP

2шт.

58

01590-13335

NUT

SN: .-UP

2шт.

59

04050-06060

PIN

SN: .-UP

2шт.

60

232-970-1720

SPRING

SN: .-UP

2шт.

61

232-970-1740

SHAFT

SN: .-UP

2шт.

62

232-970-1750

COLLAR

SN: .-UP

2шт.

63

232-970-1771

BOLT

SN: .-UP

2шт.

64

01590-11012

NUT

SN: .-UP

2шт.

65

04050-02020

PIN

SN: .-UP

2шт.

66

232-979-3140

PIN

SN: .-UP

2шт.

67

01590-12427

NUT

SN: .-UP

2шт.

68

01640-22540

WASHER

SN: .-UP

2шт.

69

04050-05045

PIN

SN: .-UP

2шт.

70

07020-00000

FITTING

SN: .-UP

2шт.

71

232-979-3152

PIN

SN: ...-UP

1шт.

71

232-979-3151

PIN

SN: ..-...

1шт.

71

232-979-3150

PIN

SN: .-..

2шт.

72

232-979-3161

PIN

SN: ..-UP

1шт.

72

232-979-3160

PIN

SN: .-..

2шт.

73

232-979-3373

SUPPORT

SN: ...-UP

1шт.

73

232-979-3372

SUPPORT

SN: ..-...

1шт.

73

232-979-3370

SUPPORT

SN: .-..

1шт.

74

232-979-3380

TUBE

SN: .-..

1шт.

75

232-979-3390

ROD

SN: .-..

1шт.

76

232-979-3410

PIN

SN: .-UP

1шт.

77

232-979-3181

ROD

SN: ..-UP

1шт.

78

232-979-3230

NUT

SN: ..-UP

1шт.

79

232-979-3160

PIN

SN: .-UP

1шт.

80

01590-13033

NUT

SN: .-..

1шт.

81

01640-13045

WASHER

SN: .-..

1шт.

82

04050-06050

PIN

SN: .-..

1шт.

84

232-979-3211

ROD

SN: ...-UP

1шт.

84

232-979-3210

ROD

SN: ..-...

2шт.

85

232-979-3221

YOKE

SN: ...-UP

1шт.

85

232-979-3220

YOKE

SN: ..-...

2шт.

86

232-979-3411

PIN

SN: ...-UP

1шт.

86

232-979-3410

PIN

SN: ..-...

2шт.

87

232-979-3280

PIN

SN: ...-UP

3шт.

88

232-979-3260

BUSHING

SN: ...-UP

2шт.

89

232-979-3270

BUSHING

SN: ...-UP

2шт.

90

232-979-3290

PLATE

SN: ...-UP

1шт.

91

01010-50820

BOLT

SN: ...-UP

1шт.

92

01602-20825

WASHER

SN: ...-UP

1шт.

93

232-979-3310

PIN

SN: ...-UP

2шт.

Выбрано товаров: 109