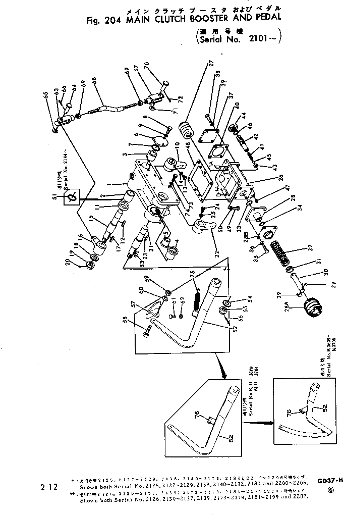
Запчасти Komatsu GD37-5H ОСНОВН. МУФТА УСИЛИТЕЛЬ И ПЕДАЛЬ СИЛОВАЯ ПЕРЕДАЧА

Схема запчастей Komatsu GD37-5H - ОСНОВН. МУФТА УСИЛИТЕЛЬ И ПЕДАЛЬ СИЛОВАЯ ПЕРЕДАЧА
FIT
1:1
100%

Артикул

Название

Примечание

Количество

|$0

232-43-00076

BOOSTER ASS'Y

SN: 3669-UP

1шт.

|$1

232-43-00075

BOOSTER ASS'Y

SN: 3597-3668

1шт.

|$2

232-43-00074

BOOSTER ASS'Y

SN: 2998-3596

1шт.

|$3

232-43-00073

BOOSTER ASS'Y

SN: 2975-2997

1шт.

|$4

232-43-00072

BOOSTER ASS'Y

SN: 2460-2974

1шт.

|$5

232-43-00071

BOOSTER ASS'Y

SN: 2144-2459

1шт.

|$6

232-43-00070

BOOSTER ASS'Y

SN: 2101-2143

1шт.

1

232-43-31111

CASE

SN: 2998-UP

1шт.

1

232-43-31110

CASE

SN: 2101-2997

1шт.

1A

04020-01228

PIN

SN: 2998-UP

2шт.

2

131-10-15270

BUSHING

SN: 2101-UP

1шт.

3

131-10-15330

BUSHING

SN: 2101-UP

1шт.

4

232-43-13121

BUSHING

SN: 2101-UP

1шт.

5

232-11-15220

BUSHING

SN: 2101-UP

1шт.

6

232-43-31120

COVER

SN: 2101-UP

1шт.

7

07000-13035

O-RING (KIT)

SN: 2101-UP

1шт.

8

01010-51022

BOLT

SN: 2101-UP

3шт.

9

01602-21030

WASHER

SN: 2101-UP

3шт.

10

131-10-15290

LEVER

SN: 2101-UP

1шт.

11

232-43-31260

RING

SN: 2144-UP

1шт.

11

07011-00035

SEAL (KIT)

SN: 2101-2143

1шт.

12

04000-00740

KEY

SN: 2101-UP

1шт.

13

131-10-15320

BOLT

SN: 2101-UP

1шт.

14

01602-20825

WASHER

SN: 2101-UP

1шт.

15

232-43-31251

SHAFT

SN: 2975-UP

1шт.

15

232-43-31250

SHAFT

SN: 2144-2974

1шт.

15

131-10-15250

SHAFT

SN: 2101-2143

1шт.

16

232-11-15150

LEVER

SN: 2101-UP

1шт.

17

04000-00740

KEY

SN: 2101-UP

1шт.

18

01640-22232

WASHER

SN: 2101-UP

1шт.

19

01590-12226

NUT

SN: 2975-UP

1шт.

19

01511-32215

NUT

SN: 2101-2974

1шт.

20

04050-15040

PIN

SN: 2101-UP

1шт.

21

232-11-15141

SHAFT

SN: 2975-UP

1шт.

21

232-11-15140

SHAFT

SN: 2101-2974

1шт.

22

131-10-15290

LEVER

SN: 2101-UP

1шт.

23

04000-00740

KEY

SN: 2101-UP

1шт.

24

131-10-15320

BOLT

SN: 2101-UP

1шт.

25

01602-20825

WASHER

SN: 2101-UP

1шт.

26

232-43-31211

CYLINDER

SN: 2998-UP

1шт.

26

232-43-31210

CYLINDER

SN: 2101-2997

1шт.

27

232-43-31320

PISTON

SN: 3597-UP

1шт.

27

131-10-15181

PISTON

SN: 2101-3596

1шт.

28

232-11-15230

FLANGE

SN: 2101-UP

1шт.

28A

232-43-31370

BOOT

SN: 2998-UP

1шт.

28B

232-43-31380

PLATE

SN: 2998-UP

1шт.

29

131-10-15220

RING

SN: 2101-UP

2шт.

30

232-43-31270

VALVE

SN: 2460-UP

1шт.

30

131-10-15190

VALVE

SN: 2101-2459

1шт.

31

232-43-31390

SEAT

SN: 2998-UP

1шт.

31

131-10-15210

SEAT

SN: 2101-2997

1шт.

32

232-43-31150

SPRING

SN: 2101-UP

1шт.

33

07000-13028

O-RING (KIT)

SN: 2101-UP

1шт.

34

07000-12018

O-RING (KIT)

SN: 2101-UP

1шт.

35

01010-51025

BOLT

SN: 2101-UP

4шт.

36

01602-21030

WASHER

SN: 2101-UP

4шт.

37

232-43-31420

COVER

SN: 3669-UP

1шт.

37

0

COVER

SN: 2101-3668

1шт.

38

01010-51020

BOLT

SN: 2101-UP

4шт.

39

01602-21030

WASHER

SN: 2101-UP

4шт.

40

131-10-15171

GASKET (KIT)

SN: 2101-UP

1шт.

41

232-11-15171

SPRING

SN: 2101-UP

1шт.

42

232-43-24450

SCREW

SN: 2101-UP

1шт.

43

232-11-15180

SEAT

SN: 2101-UP

1шт.

44

01583-12414

NUT

SN: 2975-UP

1шт.

44

01504-32410

NUT

SN: 2101-2974

1шт.

45

04260-01270

BALL

SN: 2101-UP

1шт.

46

07000-13020

O-RING (KIT)

SN: 2101-UP

1шт.

47

07042-20108

PLUG

SN: 2101-UP

1шт.

48

232-11-15131

GASKET

SN: 2998-UP

1шт.

48

232-11-15130

GASKET (KIT)

SN: 2101-2997

1шт.

49

01010-51230

BOLT

SN: 2101-UP

6шт.

50

01602-21236

WASHER

SN: 2101-UP

6шт.

51

07000-13035

O-RING

SN: 2144-UP

1шт.

52

232-43-31134

LEVER

SN: 3610-UP

1шт.

52

232-43-31133

LEVER

SN: 3609-3609

1шт.

52

232-43-31132

LEVER

SN: 2207-3608

1шт.

52

232-43-31131

LEVER

SN: 2200-2206

1шт.

52

232-43-31132

LEVER

SN: 2181-2199

1шт.

52

232-43-31131

LEVER

SN: 2180-2180

1шт.

52

232-43-31132

LEVER

SN: 2173-2179

1шт.

52

232-43-31131

LEVER

SN: 2140-2172

1шт.

52

232-43-31132

LEVER

SN: 2139-2139

1шт.

52

232-43-31131

LEVER

SN: 2138-2138

1шт.

52

232-43-31132

LEVER

SN: 2130-2137

1шт.

52

232-43-31131

LEVER

SN: 2127-2129

1шт.

52

232-43-31132

LEVER

SN: 2126-2126

1шт.

52

232-43-31131

LEVER

SN: 2101-2125

1шт.

53

04000-00740

KEY

SN: 2101-UP

1шт.

54

01640-22232

WASHER

SN: 2101-UP

1шт.

55

01590-12226

NUT

SN: 2975-UP

1шт.

55

01511-32215

NUT

SN: 2101-2974

1шт.

56

04050-15040

PIN

SN: 2101-UP

1шт.

57

232-43-13130

PEDAL

SN: 2101-UP

1шт.

58

01010-51045

BOLT

SN: 2101-UP

1шт.

59

01580-11008

NUT

SN: 2101-3930

1шт.

60

01602-21030

WASHER

SN: 2101-UP

1шт.

61

232-43-31410

BOLT

SN: 3657-UP

1шт.

61

0

BOLT

SN: 2975-3656

1шт.

61

01046-01260

BOLT

SN: 2101-2974

1шт.

62

01580-11210

NUT

SN: 2975-UP

1шт.

62

01504-31207

NUT

SN: 2101-2974

1шт.

63

232-43-31310

YOKE

SN: 2975-UP

1шт.

63

04210-01456

YOKE

SN: 2101-2974

1шт.

64

04205-11438

PIN

SN: 2101-UP

1шт.

65

01641-21423

WASHER

SN: 2101-UP

1шт.

66

04050-04022

PIN

SN: 2101-UP

1шт.

67

04211-21478

YOKE

SN: 2101-UP

1шт.

68

232-43-31141

ROD

SN: 2975-UP

1шт.

68

232-43-31140

ROD

SN: 2101-2974

1шт.

69

01583-11408

NUT

SN: 2975-UP

2шт.

69

01501-31408

NUT

SN: 2101-2974

2шт.

70

04205-11438

PIN

SN: 2101-UP

1шт.

71

01641-21423

WASHER

SN: 2101-UP

1шт.

72

04050-14022

PIN

SN: 2101-UP

1шт.

73

01010-51225

BOLT

SN: 2101-UP

7шт.

74

01602-21236

WASHER

SN: 2101-UP

7шт.

75

230-43-13120

SPRING

SN: 2207-UP

1шт.

75

230-43-12351

SPRING

SN: 2200-2206

1шт.

75

230-43-13120

SPRING

SN: 2181-2199

1шт.

75

230-43-12351

SPRING

SN: 2180-2180

1шт.

75

230-43-13120

SPRING

SN: 2173-2179

1шт.

75

230-43-12351

SPRING

SN: 2140-2172

1шт.

75

230-43-13120

SPRING

SN: 2139-2139

1шт.

75

230-43-12351

SPRING

SN: 2138-2138

1шт.

75

230-43-13120

SPRING

SN: 2130-2137

1шт.

75

230-43-12351

SPRING

SN: 2127-2129

1шт.

75

230-43-13120

SPRING

SN: 2126-2126

1шт.

75

230-43-12351

SPRING

SN: 2101-2125

1шт.

76

232-43-13551

CUSHION

SN: 3610-UP

1шт.

76

232-43-13550

CUSHION

SN: 2207-3609

1шт.

76

232-43-13550

CUSHION

SN: 2181-2199

1шт.

76

232-43-13550

CUSHION

SN: 2173-2179

1шт.

76

232-43-13550

CUSHION

SN: 2139-2139

1шт.

76

232-43-13550

CUSHION

SN: 2130-2137

1шт.

76

232-43-13550

CUSHION

SN: 2126-2126

1шт.

Выбрано товаров: 136