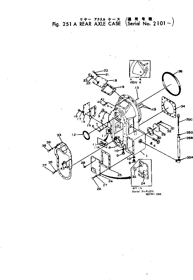
Запчасти Komatsu GD37-5H ЗАДН. МОСТ КОРПУС СИЛОВАЯ ПЕРЕДАЧА

Схема запчастей Komatsu GD37-5H - ЗАДН. МОСТ КОРПУС СИЛОВАЯ ПЕРЕДАЧА
FIT
1:1
100%

Артикул

Название

Примечание

Количество

|$0

232-22-00015

CASE ASS'Y

SN: 3609-UP

1шт.

|$1

232-22-00014

CASE ASS'Y

SN: 3537-3608

1шт.

|$2

232-22-00013

CASE ASS'Y

SN: 2975-3536

1шт.

|$3

232-22-00012

CASE ASS'Y

SN: 2101-2974

1шт.

1

232-22-11115

CASE

SN: 3537-UP

1шт.

1

232-22-11114

CASE

SN: 2101-3536

1шт.

2

06120-03520

BEARING

SN: 2101-UP

3шт.

3

07046-15020

PLUG

SN: 2101-UP

1шт.

4

07011-00035

SEAL (KIT)

SN: 2101-UP

1шт.

5

01141-51420

STUD

SN: 2975-UP

2шт.

5

232-22-11142

STUD

SN: 2101-2974

2шт.

6

01582-11411

NUT

SN: 2975-UP

2шт.

6

01500-31411

NUT

SN: 2101-2974

2шт.

7

01602-21442

WASHER

SN: 2101-UP

2шт.

8

04020-01434

PIN

SN: 2101-UP

1шт.

9

07044-13620

PLUG

SN: 2101-UP

2шт.

10

07002-13634

O-RING (KIT)

SN: 2101-UP

2шт.

11

07040-01812

PLUG

SN: 3537-UP

1шт.

11

07042-00415

PLUG

SN: 2101-3536

1шт.

11A

07002-11823

O-RING (KIT)

SN: 3537-UP

1шт.

12

07000-15175

O-RING (KIT)

SN: 2101-UP

1шт.

13

230-10-11420

PIN

SN: 2101-UP

3шт.

14

232-22-11160

COVER

SN: 2101-3536

1шт.

15

232-22-11170

GASKET (KIT)

SN: 2101-3536

1шт.

16

01010-50820

BOLT

SN: 2975-3536

8шт.

16

01000-30820

BOLT

SN: 2101-2974

8шт.

17

01602-20825

WASHER

SN: 2101-3536

8шт.

18

232-11-11120

COVER

SN: 2101-UP

1шт.

19

232-11-11130

GASKET (KIT)

SN: 2101-UP

1шт.

20

01010-51020

BOLT

SN: 2101-UP

8шт.

21

01602-21030

WASHER

SN: 2101-UP

8шт.

22

07005-03016

GASKET

SN: .-UP

1шт.

22

0

GASKET

SN: 2101-.

1шт.

23

232-23-11220

BREATHER

SN: 3735-UP

1шт.

23

0

BREATHER

SN: 2101-3734

1шт.

24

232-11-11351

COVER

SN: 3537-UP

1шт.

24

232-11-11350

COVER

SN: 2975-3536

1шт.

24

232-11-11151

PLATE

SN: 2256-2974

1шт.

24

232-11-11153

COVER

SN: 2255-2255

1шт.

24

232-11-11151

PLATE

SN: 2101-2254

1шт.

25

232-11-11160

GASKET (KIT)

SN: 2101-UP

1шт.

26

01010-51025

BOLT

SN: 2101-UP

8шт.

27

01602-21030

WASHER

SN: 2101-UP

8шт.

28

07042-00108

PLUG

SN: 2256-UP

1шт.

28

07042-00108

PLUG

SN: 2101-2254

1шт.

29

232-11-11170

COVER

SN: 2101-3536

1шт.

30

232-11-11180

GASKET (KIT)

SN: 2101-3536

1шт.

31

01010-51025

BOLT

SN: 2101-3536

4шт.

32

01602-21030

WASHER

SN: 2101-3536

4шт.

33

232-22-11151

GASKET (KIT)

SN: 2101-UP

1шт.

34

232-22-11370

GASKET

SN: 2101-UP

1шт.

35

230-09-12910

GAUGE

SN: 2255-2255

1шт.

35A

230-14-11120

ELBOW

SN: 3537-UP

1шт.

35B

232-22-11521

TUBE

SN: 3609-UP

1шт.

35B

232-22-11520

TUBE

SN: 3537-3608

1шт.

35C

232-22-11511

GAUGE

SN: 3609-UP

1шт.

35C

232-22-11510

GAUGE

SN: 3537-3608

1шт.

35D

07000-13022

O-RING (KIT)

SN: 3609-UP

2шт.

36

07000-15480

O-RING (KIT)

SN: 3645-UP

1шт.

36

07000-15485

O-RING (KIT)

SN: 2101-3644

1шт.

37

01010-51445

BOLT

SN: 2975-UP

16шт.

37

01040-31445

BOLT

SN: 2101-2974

16шт.

38

01010-51440

BOLT

SN: 2975-UP

4шт.

38

01040-31440

BOLT

SN: 2101-2974

4шт.

39

01602-21442

WASHER

SN: 2101-UP

20шт.

40

01010-51240

BOLT

SN: 2101-UP

13шт.

41

01602-21236

WASHER

SN: 2101-UP

13шт.

42

232-22-11190

STOPPER

SN: 2101-3325

1шт.

43

01641-21423

WASHER

SN: 2101-3325

1шт.

Выбрано товаров: 69