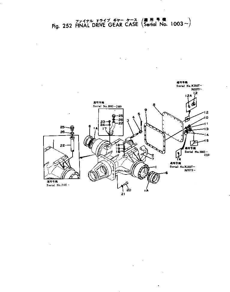
Запчасти Komatsu GD37-5H КОНЕЧНАЯ ПЕРЕДАЧА И ВАЛ КОРПУС СИЛОВАЯ ПЕРЕДАЧА

Схема запчастей Komatsu GD37-5H - КОНЕЧНАЯ ПЕРЕДАЧА И ВАЛ КОРПУС СИЛОВАЯ ПЕРЕДАЧА
FIT
1:1
100%

Артикул

Название

Примечание

Количество

|$0

232-22-00025

CASE ASS'Y

SN: 3931-UP

1шт.

|$1

0

CASE ASS'Y

SN: 3537-3930

1шт.

|$2

232-22-00023

CASE ASS'Y

SN: 2975-3536

1шт.

|$3

232-22-00022

CASE ASS'Y

SN: 2101-2974

1шт.

1

232-22-11314

CASE

SN: 3931-UP

1шт.

1

0

CASE

SN: 2975-3930

1шт.

|$$7

(232-22-11314,232-22-11460)

-1шт.

1

232-22-11312

CASE

SN: 2101-2974

1шт.

1A

232-22-11460

SPACER

SN: 3931-UP

2шт.

2

232-22-11450

COVER

SN: .-UP

2шт.

2

0

COVER

SN: 2975-.

2шт.

2

232-22-11330

COVER

SN: 2101-2974

2шт.

3

232-22-11321

STUD

SN: 2975-UP

4шт.

3

232-22-11320

STUD

SN: 2101-2974

4шт.

4

01590-12022

NUT

SN: 2975-UP

4шт.

4

01510-02022

NUT

SN: 2101-2974

4шт.

5

04050-14040

PIN

SN: 2101-UP

4шт.

6

07011-00100

SEAL (KIT)

SN: 2101-UP

2шт.

7

04020-01024

PIN

SN: 2101-UP

2шт.

8

232-22-11392

COVER

SN: 3537-UP

1шт.

8

0

COVER

SN: 2101-3536

1шт.

|$$22

(232-22-11392,07040-21812,

-1шт.

|$$23

07000-12014,07000-13634)

-1шт.

9

232-22-11410

GASKET (KIT)

SN: 2101-UP

1шт.

10

01010-51225

BOLT

SN: 2975-UP

20шт.

10

01000-31225

BOLT

SN: 2101-2974

20шт.

11

01602-21236

WASHER

SN: 2101-UP

20шт.

12

07040-21812

PLUG

SN: 3537-UP

1шт.

12

07042-00415

PLUG

SN: 2101-3536

1шт.

12A

07000-12014

O-RING (KIT)

SN: 3537-UP

1шт.

13

07044-13620

PLUG

SN: 2101-UP

1шт.

14

07002-13634

O-RING

SN: 3537-UP

1шт.

14

07003-13642

GASKET

SN: 2101-3536

1шт.

16

232-22-05510

SHIM ASS'Y (KIT)

SN: 2101-UP

2шт.

16

0

SHIM, 0.5MM

SN: 2101-UP

2шт.

16

0

SHIM, 1.0MM

SN: 2101-UP

2шт.

16

0

SHIM, 3.2MM

SN: 2101-UP

1шт.

18

01010-51645

BOLT

SN: 2975-UP

8шт.

18

01000-31645

BOLT

SN: 2101-2974

8шт.

19

01602-21648

WASHER

SN: 2101-UP

8шт.

20

01010-51655

BOLT

SN: 2975-UP

16шт.

20

01040-31655

BOLT

SN: 2101-2974

16шт.

21

01602-21648

WASHER

SN: 2101-UP

16шт.

22

232-22-11423

FILLER

SN: 2101-UP

1шт.

25

232-22-11220

BREATHER

SN: 3735-UP

1шт.

25

0

BREATHER

SN: 2101-3734

1шт.

26

07005-03016

GASKET

SN: .-UP

1шт.

26

07003-03036

GASKET (KIT)

SN: 2101-.

1шт.

Выбрано товаров: 48