Запчасти Komatsu S4D120-11F DYNAMO И MOUTING(A¤A) ОХЛАЖД-Е И ЭЛЕКТРИКАS

Схема запчастей Komatsu S4D120-11F - DYNAMO И MOUTING(A¤A) ОХЛАЖД-Е И ЭЛЕКТРИКАS
FIT
1:1
100%

Артикул

Название

Примечание

Количество

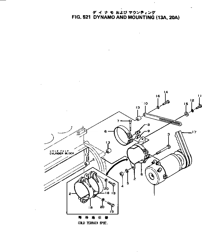
1

6112-81-6310

DYNAMO ASS'Y (13A),(SEE FIG.541A)

SN: 51212-UP

1шт.

1

0

DYNAMO ASS'Y (13A),(SEE FIG.541)

SN: 50026-51211

1шт.

1

6672-82-2530

DYNAMO ASS'Y (20A),(SEE FIG.542A)(A)

SN: 61639-UP

1шт.

1

6112-81-6390

DYNAMO ASS'Y (20A),(SEE FIG.542)(A)

SN: 50026-61638

1шт.

2

6110-23-6470

BRACKET

SN: 50026-UP

1шт.

2

6110-23-6980

BRACKET,(A)

SN: 61639-UP

1шт.

2

6112-21-6990

BRACKET,(A)

SN: 50026-61638

1шт.

3

6110-23-6581

BOLT

SN: 70450-UP

1шт.

3

6110-23-6580

BOLT

SN: 50026-70449

1шт.

4

01580-01411

NUT

SN: 70450-UP

1шт.

4

01503-31411

NUT

SN: 50026-70449

1шт.

5

01602-01442

WASHER

SN: 50026-UP

1шт.

6

6111-21-6460

BAND

SN: 50026-UP

2шт.

7

6110-21-6520

BOLT

SN: 50026-UP

2шт.

8

6110-21-6530

PIN

SN: 50026-UP

2шт.

9

6110-21-6540

PIN, WITH THREAD

SN: 50026-UP

2шт.

10

6110-23-6462

PLATE

SN: 73996-UP

1шт.

10

0

PLATE

SN: 50026-73995

1шт.

|$$19

(6110-23-6462,04121-02253)

-1шт.

11

01010-31255

BOLT

SN: 51212-UP

1шт.

11

01010-31270

BOLT

SN: 50026-51211

1шт.

12

01602-01236

WASHER

SN: 50026-UP

1шт.

13

6110-23-6480

SPACER

SN: 51212-UP

3шт.

13

6112-23-6480

SPACER

SN: 50026-51211

2шт.

14

01010-31025

BOLT

SN: 50026-UP

1шт.

15

6110-23-6490

SPACER

SN: 50026-UP

1шт.

16

01602-01030

WASHER

SN: 50026-UP

1шт.

17

04121-22266

V-BELT SET

SN: .-UP

1шт.

17

0

V-BELT SET

SN: 85044-.

1шт.

17

04121-02253

V-BELT

SN: 73996-85043

1шт.

17

6110-83-2611

V-BELT

SN: 63028-73995

2шт.

17

0

V-BELT

SN: 50026-63027

2шт.

18

6110-21-6510

BAND,(A)

SN: 61639-UP

2шт.

19

01010-31045

BOLT,(A)

SN: 50026-UP

2шт.

20

01602-01030

WASHER,(A)

SN: 50026-UP

2шт.

1

6112-81-6310

DYNAMO ASS'Y (13A),(SEE FIG.541A)

SN: 51212-UP

1шт.

1

0

DYNAMO ASS'Y (13A),(SEE FIG.541)

SN: 50026-51211

1шт.

1

6672-82-2530

DYNAMO ASS'Y (20A),(SEE FIG.542A)(A)

SN: 61639-UP

1шт.

1

6112-81-6390

DYNAMO ASS'Y (20A),(SEE FIG.542)(A)

SN: 50026-61638

1шт.

2

6110-23-6470

BRACKET

SN: 50026-UP

1шт.

2

6110-23-6980

BRACKET,(A)

SN: 61639-UP

1шт.

2

6112-21-6990

BRACKET,(A)

SN: 50026-61638

1шт.

3

6110-23-6581

BOLT

SN: 70450-UP

1шт.

3

6110-23-6580

BOLT

SN: 50026-70449

1шт.

4

01580-01411

NUT

SN: 70450-UP

1шт.

4

01503-31411

NUT

SN: 50026-70449

1шт.

5

01602-01442

WASHER

SN: 50026-UP

1шт.

6

6111-21-6460

BAND

SN: 50026-UP

2шт.

7

6110-21-6520

BOLT

SN: 50026-UP

2шт.

8

6110-21-6530

PIN

SN: 50026-UP

2шт.

9

6110-21-6540

PIN, WITH THREAD

SN: 50026-UP

2шт.

10

6110-23-6462

PLATE

SN: 73996-UP

1шт.

10

0

PLATE

SN: 50026-73995

1шт.

|$$19

(6110-23-6462,04121-02253)

-1шт.

11

01010-31255

BOLT

SN: 51212-UP

1шт.

11

01010-31270

BOLT

SN: 50026-51211

1шт.

12

01602-01236

WASHER

SN: 50026-UP

1шт.

13

6110-23-6480

SPACER

SN: 51212-UP

3шт.

13

6112-23-6480

SPACER

SN: 50026-51211

2шт.

14

01010-31025

BOLT

SN: 50026-UP

1шт.

15

6110-23-6490

SPACER

SN: 50026-UP

1шт.

16

01602-01030

WASHER

SN: 50026-UP

1шт.

17

04121-22266

V-BELT SET

SN: .-UP

1шт.

17

0

V-BELT SET

SN: 85044-.

1шт.

17

04121-02253

V-BELT

SN: 73996-85043

1шт.

17

6110-83-2611

V-BELT

SN: 63028-73995

2шт.

17

0

V-BELT

SN: 50026-63027

2шт.

18

6110-21-6510

BAND,(A)

SN: 61639-UP

2шт.

19

01010-31045

BOLT,(A)

SN: 50026-UP

2шт.

20

01602-01030

WASHER,(A)

SN: 50026-UP

2шт.

Выбрано товаров: 70