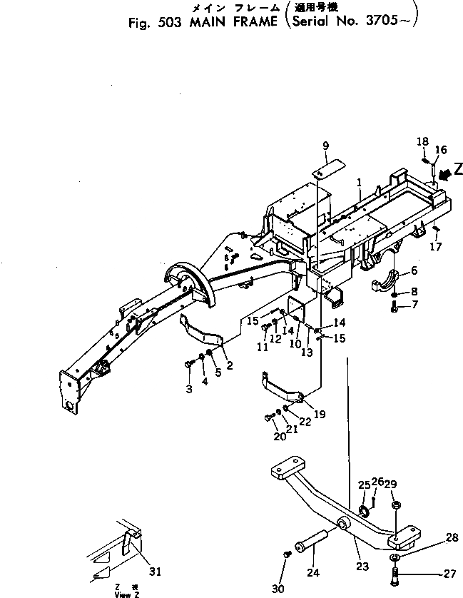
Запчасти Komatsu GD37-6H ОСНОВН. РАМА(№7-) РАМА И ЧАСТИ КОРПУСА

Схема запчастей Komatsu GD37-6H - ОСНОВН. РАМА(№7-) РАМА И ЧАСТИ КОРПУСА
FIT
1:1
100%

Артикул

Название

Примечание

Количество

|$0

232-801-0079

MAIN FRAME ASS'Y

SN: 5005-UP

1шт.

|$1

232-801-0078

MAIN FRAME ASS'Y

SN: 4443-5004

1шт.

|$2

232-801-0077

MAIN FRAME ASS'Y

SN: 4434-4442

1шт.

|$3

232-801-0078

MAIN FRAME ASS'Y

SN: 4419-4433

1шт.

|$4

232-801-0077

MAIN FRAME ASS'Y

SN: 4417-4418

1шт.

|$5

232-801-0076

MAIN FRAME ASS'Y

SN: 3705-4416

1шт.

1

232-801-1099

FRAME

SN: 4419-UP

1шт.

1

232-801-1098

FRAME

SN: 3705-4418

1шт.

2

232-860-9111

PROTECTOR

SN: 3512-UP

1шт.

3

01010-51235

BOLT

SN: 3512-UP

4шт.

4

01602-21236

WASHER

SN: 3512-UP

4шт.

5

01640-21223

WASHER

SN: 3512-UP

4шт.

6

232-22-11381

CAP

SN: 2998-UP

2шт.

7

01011-83040

BOLT

SN: 2998-UP

4шт.

8

01601-23075

WASHER

SN: 2998-UP

4шт.

9

232-46-11850

COVER

SN: 3705-UP

2шт.

10

232-801-3341

COVER

SN: 4443-UP

2шт.

10

232-801-3340

COVER

SN: 4434-4442

2шт.

10

232-801-3341

COVER

SN: 4417-4433

2шт.

10

232-801-3340

COVER

SN: 3123-4416

2шт.

11

01010-51225

BOLT

SN: 2975-UP

4шт.

12

01602-21236

WASHER

SN: 2101-UP

4шт.

13

232-54-11521

PIN

SN: 2101-UP

2шт.

14

01641-20812

WASHER

SN: 2101-UP

4шт.

15

04050-12012

PIN

SN: 2101-UP

4шт.

16

232-46-11711

PIN

SN: 2387-UP

1шт.

17

232-46-11920

PIN

SN: 2387-UP

1шт.

18

04025-01065

PIN

SN: 2387-UP

1шт.

19

232-46-11771

PROTECTOR

SN: 3705-UP

1шт.

20

01010-51435

BOLT

SN: 2975-UP

4шт.

21

01602-21442

WASHER

SN: 2101-UP

4шт.

22

01640-21426

WASHER

SN: 2101-UP

4шт.

|$32

232-14-00034

FRAME ASS'Y

SN: 5005-UP

1шт.

23

232-14-11310

FRAME

SN: 2101-UP

1шт.

24

232-14-11321

PIN

SN: 2101-UP

1шт.

25

01640-23950

WASHER

SN: 2101-UP

1шт.

26

04050-16065

PIN

SN: 2101-UP

1шт.

27

01010-82070

BOLT

SN: 2975-UP

4шт.

28

01602-22060

WASHER

SN: 2101-UP

4шт.

29

01580-12016

NUT

SN: 3837-UP

4шт.

30

07048-01210

PLUG

SN: 4981-UP

1шт.

30

0

PLUG

SN: 4889-4980

1шт.

31

232-806-9510

BRACKET (OP)

SN: .-UP

1шт.

Выбрано товаров: 43