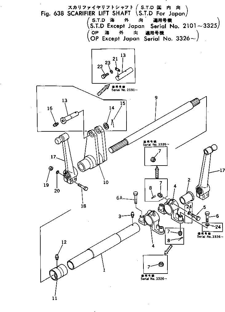
Запчасти Komatsu GD37-6H SCARIFIER LIFT ВАЛ ГИДРАВЛИКА

Схема запчастей Komatsu GD37-6H - SCARIFIER LIFT ВАЛ ГИДРАВЛИКА
FIT
1:1
100%

Артикул

Название

Примечание

Количество

|$0

232-71-00212

SHAFT ASS'Y

SN: 2101-UP

1шт.

1

232-71-16110

SHAFT

SN: 2101-UP

1шт.

2

232-71-16121

BUSHING

SN: 2101-UP

1шт.

3

07020-00000

FITTING

SN: 2101-UP

1шт.

4

232-70-16290

BLOCK

SN: .-UP

2шт.

4

0

BLOCK

SN: 2101-.

2шт.

5

01011-82005

BOLT

SN: 3326-UP

2шт.

5

232-71-16221

BOLT

SN: 2975-3325

2шт.

5

01001-32005

BOLT

SN: 2591-2974

2шт.

5

232-71-16220

BOLT

SN: 2101-2590

2шт.

6

01010-82085

BOLT

SN: .-UP

2шт.

6

01010-82095

BOLT

SN: 3326-.

2шт.

6

01013-62020

BOLT

SN: 2975-3325

2шт.

6

01001-62015

BOLT

SN: 2591-2974

2шт.

6

232-71-16230

BOLT

SN: 2101-2590

2шт.

6A

01090-52290

BOLT

SN: .-UP

2шт.

6A

01091-52200

BOLT

SN: 2101-.

2шт.

7

01580-12016

NUT

SN: 3326-UP

6шт.

7

01590-02022

NUT

SN: 2975-3325

6шт.

7

01500-32016

NUT

SN: 2591-2974

6шт.

7

01510-32022

NUT

SN: 2101-2590

6шт.

8

04050-04040

PIN

SN: 2101-3325

6шт.

9

232-71-16312

SHAFT

SN: 2101-UP

1шт.

|$23

232-71-00223

ARM ASS'Y

SN: 2591-UP

1шт.

|$24

232-71-00222

ARM ASS'Y

SN: 2101-2590

1шт.

10

232-71-16323

ARM

SN: 2591-UP

1шт.

10

232-71-16322

ARM

SN: 2101-2590

1шт.

11

232-71-16330

BUSHING

SN: 2101-UP

1шт.

12

07020-00000

FITTING

SN: 2101-UP

1шт.

13

232-71-16370

PIN

SN: 2591-UP

2шт.

13

232-71-16340

PIN

SN: 2101-2590

1шт.

14

232-71-16350

WASHER

SN: 2101-2590

1шт.

15

04050-08060

PIN

SN: 2101-2590

1шт.

16

07020-00000

FITTING

SN: 2101-2590

1шт.

17

232-71-16412

ARM

SN: 2101-UP

2шт.

18

01010-81690

BOLT

SN: 2975-UP

4шт.

18

01000-61695

BOLT

SN: 2101-2974

4шт.

19

01580-11613

NUT

SN: 2975-UP

4шт.

19

01500-31613

NUT

SN: 2101-2974

4шт.

20

01602-21648

WASHER

SN: 2101-UP

4шт.

21

04082-00212

LOCK

SN: 2591-UP

1шт.

22

01010-51225

BOLT

SN: 2591-UP

2шт.

23

01602-21236

WASHER

SN: 2591-UP

2шт.

24

01602-22060

WASHER

SN: 3326-UP

6шт.

Выбрано товаров: 44