Запчасти Komatsu GD37-6H ЦИЛИНДР НАКЛОНА ПОВОРОТН. ОТВАЛ Д/СНЕГА (OP)(№7-) ГИДРАВЛИКА

Схема запчастей Komatsu GD37-6H - ЦИЛИНДР НАКЛОНА ПОВОРОТН. ОТВАЛ Д/СНЕГА (OP)(№7-) ГИДРАВЛИКА
FIT
1:1
100%

Артикул

Название

Примечание

Количество

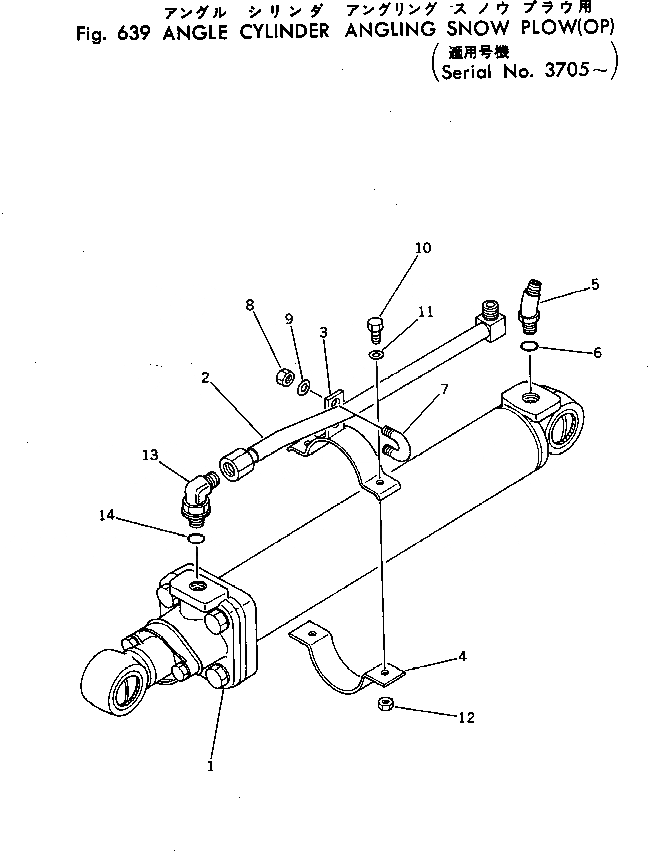
1

232-63-32003

CYLINDER ASS'Y

SN: 3705-UP

2шт.

2

232-979-5660

TUBE

SN: 3705-UP

2шт.

3

232-870-8330

BAND

SN: 3705-UP

2шт.

4

232-870-8320

BAND

SN: 3705-UP

2шт.

5

07236-10422

ELBOW

SN: 3705-UP

2шт.

6

07002-12034

O-RING

SN: 3705-UP

2шт.

7

07283-12236

CLIP

SN: 3705-UP

2шт.

8

01599-01011

NUT

SN: 3705-UP

4шт.

9

01643-01032

WASHER

SN: 3705-UP

4шт.

10

01010-50830

BOLT

SN: 3705-UP

4шт.

11

01602-20825

WASHER

SN: 3705-UP

4шт.

12

01580-10806

NUT

SN: 3705-UP

4шт.

13

07235-10422

ELBOW

SN: 3705-UP

2шт.

14

07002-12034

O-RING

SN: 3705-UP

2шт.

Выбрано товаров: 14