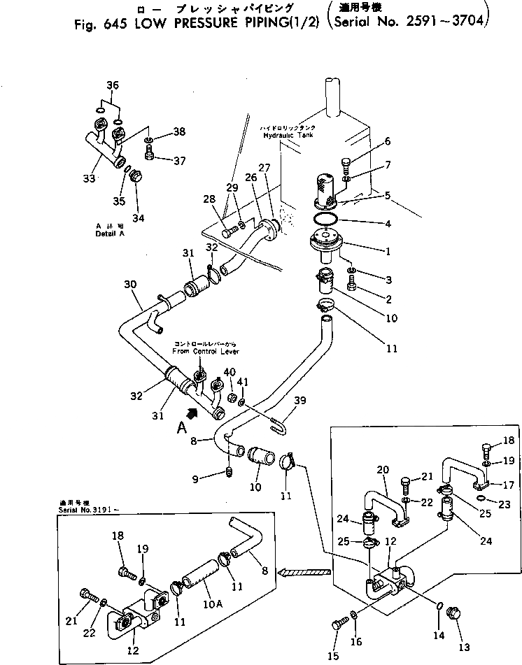
Запчасти Komatsu GD37-6H НИЗ. PRESSURE ТРУБЫ (/)(№9-7) ГИДРАВЛИКА

Схема запчастей Komatsu GD37-6H - НИЗ. PRESSURE ТРУБЫ (/)(№9-7) ГИДРАВЛИКА
FIT
1:1
100%

Артикул

Название

Примечание

Количество

1

232-60-15114

TUBE

SN: 2975-3704

1шт.

1

232-60-15113

TUBE

SN: 2101-2974

1шт.

2

01010-31025

BOLT

SN: 2975-3704

4шт.

2

01000-31025

BOLT

SN: 2101-2974

4шт.

3

01602-01030

WASHER

SN: 2101-@

4шт.

4

07000-15100

O-RING (KIT)

SN: 2591-3704

1шт.

5

232-70-15121

STRAINER

SN: 2101-@

1шт.

6

01010-30614

BOLT

SN: 2101-3704

4шт.

7

01602-00619

WASHER

SN: 2101-@

4шт.

8

232-60-15136

TUBE

SN: 3191-3704

1шт.

8

232-60-15135

TUBE

SN: 2101-3190

1шт.

9

07042-00312

PLUG

SN: 2101-3704

1шт.

10

07260-04111

HOSE

SN: 3191-3704

1шт.

10

07260-04111

HOSE

SN: 2101-3190

2шт.

10A

07260-04118

HOSE

SN: 3191-@

1шт.

11

07280-05729

CLAMP

SN: 3191-3704

8шт.

11

07280-05729

CLAMP

SN: 2101-3190

4шт.

12

232-60-15147

FLANGE

SN: 3191-@

1шт.

12

232-60-15146

FLANGE

SN: 2975-3190

1шт.

12

232-60-15145

FLANGE

SN: 2143-2974

1шт.

13

07041-14212

PLUG

SN: 2975-@

1шт.

13

07041-04212

PLUG

SN: 2143-2974

1шт.

14

07000-13040

O-RING (KIT)

SN: 2143-3704

1шт.

15

01010-31025

BOLT

SN: 2975-3704

2шт.

15

01000-31025

BOLT

SN: 2101-2974

2шт.

16

01602-01030

WASHER

SN: 2101-3704

2шт.

17

232-60-15661

TUBE

SN: .-3190

1шт.

17

232-60-15660

TUBE

SN: 2721-2727

1шт.

17

232-60-15660

TUBE

SN: 2687-2707

1шт.

17

232-60-15660

TUBE

SN: 2607-2674

1шт.

17

232-60-15660

TUBE

SN: 2591-2605

1шт.

18

01010-31025

BOLT

SN: 2591-@

4шт.

19

01602-01030

WASHER

SN: 2591-@

4шт.

20

232-60-15651

TUBE

SN: .-3190

1шт.

20

232-60-15650

TUBE

SN: 2721-2727

1шт.

20

232-60-15650

TUBE

SN: 2687-2707

1шт.

20

232-60-15650

TUBE

SN: 2607-2674

1шт.

20

232-60-15650

TUBE

SN: 2591-2605

1шт.

21

01010-31025

BOLT

SN: 2591-@

4шт.

22

01602-01030

WASHER

SN: 2591-@

4шт.

23

07000-13035

O-RING (KIT)

SN: 2591-@

2шт.

24

07260-03210

HOSE

SN: 2101-3190

2шт.

25

07280-05026

CLAMP

SN: 2101-3190

4шт.

26

232-60-15750

TUBE

SN: 2591-3704

1шт.

27

07000-13052

O-RING (KIT)

SN: 2591-3704

1шт.

28

01010-31030

BOLT

SN: 2975-@

4шт.

28

01000-31030

BOLT

SN: 2101-2974

4шт.

29

01602-01030

WASHER

SN: 2101-@

4шт.

30

232-60-15631

TUBE

SN: 3326-3704

1шт.

30

232-60-15630

TUBE

SN: 2591-3325

1шт.

31

07260-04111

HOSE

SN: 2591-@

2шт.

32

07280-05729

CLAMP

SN: 2591-@

4шт.

33

232-60-15641

TUBE

SN: 3326-@

1шт.

33

232-60-15640

TUBE

SN: 2591-3325

1шт.

34

07041-13612

PLUG

SN: 2975-@

1шт.

34

07041-03612

PLUG

SN: 2591-2974

1шт.

35

07000-13032

O-RING (KIT)

SN: 2591-3704

1шт.

36

07000-13030

O-RING

SN: 3326-@

2шт.

36

07000-13038

O-RING (KIT)

SN: 2591-3325

2шт.

37

01010-31040

BOLT

SN: 2591-@

4шт.

38

01602-01030

WASHER

SN: 2591-@

4шт.

39

07283-04346

CLIP

SN: 2591-@

2шт.

40

01554-01011

NUT

SN: 2591-@

4шт.

41

01643-01032

WASHER

SN: 2591-@

4шт.

Выбрано товаров: 0