Запчасти Komatsu GD37-6H ГИДРАВЛ РЫЧАГ УПРАВЛ-Я И МЕХАНИЗМ ДЛЯ SNOW WING (OP)(№87-) ГИДРАВЛИКА

Схема запчастей Komatsu GD37-6H - ГИДРАВЛ РЫЧАГ УПРАВЛ-Я И МЕХАНИЗМ ДЛЯ SNOW WING (OP)(№87-) ГИДРАВЛИКА
FIT
1:1
100%

Артикул

Название

Примечание

Количество

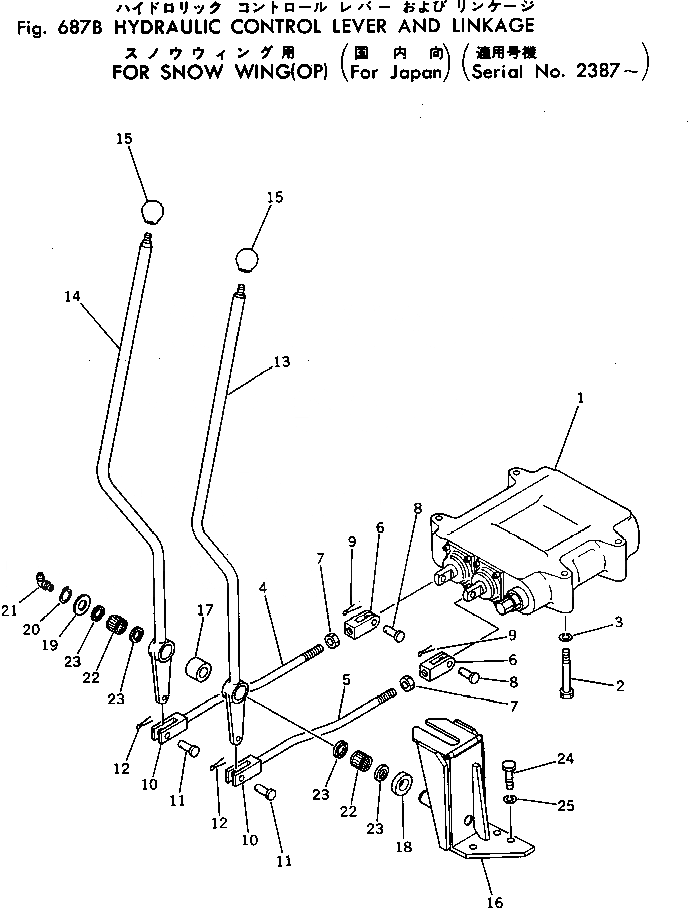
1

700-72-21000

VALVE ASS'Y

SN: 3326-UP

1шт.

1

700-12-17000

VALVE ASS'Y

SN: 2591-3325

1шт.

1

700-12-16000

VALVE ASS'Y

SN: 2387-2590

1шт.

2

01010-50880

BOLT

SN: 3326-UP

4шт.

2

01010-31085

BOLT

SN: 2975-3325

4шт.

2

01000-31085

BOLT

SN: 2387-2974

4шт.

3

01602-20825

WASHER

SN: 3326-UP

4шт.

3

01602-01030

WASHER

SN: 2387-3325

4шт.

4

232-971-4342

ROD

SN: 3326-UP

2шт.

4

232-971-4341

ROD

SN: 2387-3325

1шт.

5

232-971-4351

ROD

SN: 2387-3325

1шт.

6

232-971-4441

YOKE

SN: .-UP

2шт.

6

232-971-4440

YOKE

SN: 3326-.

2шт.

7

01582-11210

NUT

SN: 2975-UP

2шт.

7

01501-01207

NUT

SN: 2387-2974

2шт.

8

04205-10828

PIN

SN: .-UP

2шт.

8

04205-00828

PIN

SN: 2387-.

2шт.

9

04050-12012

PIN

SN: .-UP

2шт.

9

04050-02012

PIN

SN: 2387-.

2шт.

10

04210-21248

YOKE

SN: 2387-UP

2шт.

11

04205-11235

PIN

SN: 2387-UP

2шт.

12

04050-13020

PIN

SN: .-UP

2шт.

12

04050-03020

PIN

SN: 2387-.

2шт.

13

232-971-4363

LEVER

SN: 3326-UP

1шт.

13

232-971-4362

LEVER

SN: 2387-3325

1шт.

14

232-971-4373

LEVER

SN: 3326-UP

1шт.

14

232-971-4372

LEVER

SN: 2387-3325

1шт.

15

09304-00835

KNOB

SN: 2975-UP

2шт.

15

232-60-12280

KNOB

SN: 2101-2974

2шт.

16

232-971-4382

BRACKET

SN: 3326-UP

1шт.

16

232-971-4381

BRACKET

SN: 2178-3325

1шт.

17

232-975-5450

COLLAR

SN: 2178-UP

1шт.

18

232-975-5550

COLLAR

SN: 2178-UP

1шт.

19

232-975-5490

SPACER

SN: 2178-UP

1шт.

20

04064-02012

RING

SN: 2178-UP

1шт.

21

07020-00900

FITTING

SN: 2178-UP

1шт.

22

06120-02016

BEARING

SN: 2178-UP

2шт.

23

06122-02004

SEAL

SN: 2178-UP

4шт.

24

01010-51025

BOLT

SN: 2975-UP

3шт.

24

01000-31025

BOLT

SN: 2178-2974

3шт.

25

01602-21030

WASHER

SN: 2178-UP

3шт.

Выбрано товаров: 41