Запчасти Komatsu GD37-6H ГИДРАВЛ РЫЧАГ УПРАВЛ-Я И МЕХАНИЗМ ДЛЯ SNOW WING (OP)(№8-) ГИДРАВЛИКА

Схема запчастей Komatsu GD37-6H - ГИДРАВЛ РЫЧАГ УПРАВЛ-Я И МЕХАНИЗМ ДЛЯ SNOW WING (OP)(№8-) ГИДРАВЛИКА
FIT
1:1
100%

Артикул

Название

Примечание

Количество

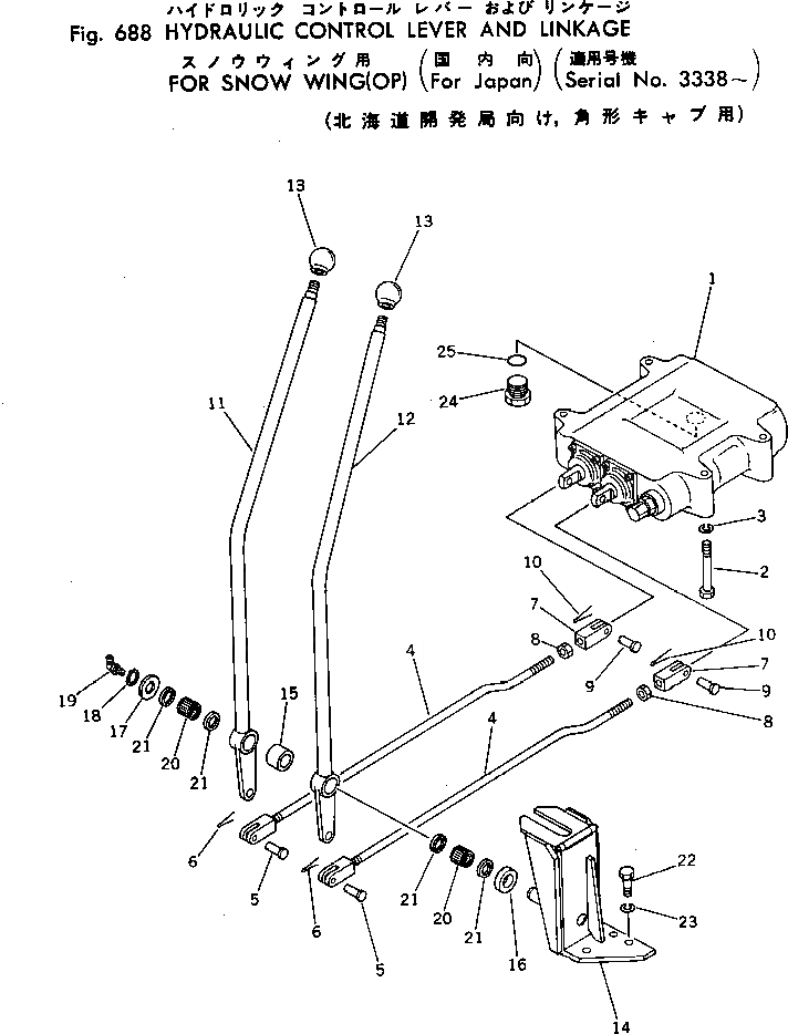
1

700-72-21000

VALVE ASS'Y

SN: 3705-UP

1шт.

1

700-12-17000

VALVE ASS'Y

SN: 3338-3704

1шт.

2

01010-50880

BOLT

SN: 3705-UP

4шт.

2

01010-51085

BOLT

SN: 3338-3704

4шт.

3

01602-20825

WASHER

SN: 3705-UP

4шт.

3

01602-21030

WASHER

SN: 3338-3704

4шт.

4

232-971-5841

ROD

SN: 3705-UP

2шт.

4

232-971-5840

ROD

SN: 3338-3704

2шт.

5

04205-01235

PIN

SN: 3338-UP

2шт.

6

04050-03020

PIN

SN: 3338-UP

2шт.

7

232-971-4441

YOKE

SN: 3705-UP

2шт.

7

232-971-4440

YOKE

SN: 3338-3704

2шт.

8

01582-11210

NUT

SN: 3338-UP

2шт.

9

04205-00828

PIN

SN: 3338-UP

2шт.

10

04050-02012

PIN

SN: 3338-UP

2шт.

11

232-971-5822

LEVER

SN: 3705-UP

1шт.

11

232-971-5821

LEVER

SN: 3338-3704

1шт.

12

232-971-5832

LEVER

SN: 3705-UP

1шт.

12

232-971-5831

LEVER

SN: 3338-3704

1шт.

13

09304-00835

KNOB

SN: 3338-UP

2шт.

14

232-971-4382

BRACKET

SN: 3338-UP

1шт.

15

232-975-5450

COLLAR

SN: 3338-UP

1шт.

16

232-975-5550

COLLAR

SN: 3338-UP

1шт.

17

232-975-5490

SPACER

SN: 3338-UP

1шт.

18

04064-02012

RING

SN: 3338-UP

1шт.

19

07020-00900

FITTING

SN: 3338-UP

1шт.

20

06120-02016

BEARING

SN: 3338-UP

2шт.

21

06122-02004

SEAL

SN: 3338-UP

4шт.

22

01010-51025

BOLT

SN: .-UP

3шт.

22

01010-31025

BOLT

SN: 3338-.

3шт.

23

01602-21030

WASHER

SN: 3338-UP

3шт.

24

232-971-4451

PLUG

SN: .-UP

4шт.

25

07002-12034

O-RING

SN: .-UP

4шт.

Выбрано товаров: 33