Запчасти Komatsu GD37-6H ПАНЕЛЬ ПРИБОРОВ(№-7) КОМПОНЕНТЫ ДВИГАТЕЛЯ И ЭЛЕКТРИКА

Схема запчастей Komatsu GD37-6H - ПАНЕЛЬ ПРИБОРОВ(№-7) КОМПОНЕНТЫ ДВИГАТЕЛЯ И ЭЛЕКТРИКА
FIT
1:1
100%

Артикул

Название

Примечание

Количество

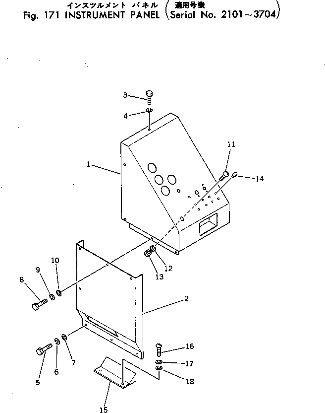
1

232-801-1523

PANEL

SN: 2975-3704

1шт.

1

232-801-1522

PANEL

SN: 2591-2974

1шт.

1

232-801-1521

PANEL

SN: 2101-2590

1шт.

2

232-06-15170

PLATE

SN: 2101-3704

1шт.

3

01010-31225

BOLT

SN: 2975-3704

4шт.

3

01000-31225

BOLT

SN: 2101-2974

4шт.

4

01602-01236

WASHER

SN: 2101-3704

4шт.

5

01000-31216

BOLT

SN: 2101-3704

3шт.

6

01602-01236

WASHER

SN: 2101-2974

3шт.

7

01642-21216

WASHER

SN: 2101-2974

3шт.

8

01010-31216

BOLT

SN: 2975-3704

4шт.

8

01000-31225

BOLT

SN: 2101-2974

4шт.

9

01642-21216

WASHER

SN: 2975-3704

4шт.

9

01602-01236

WASHER

SN: 2101-2974

4шт.

10

01642-21216

WASHER

SN: 2101-2974

4шт.

11

01210-40412

SCREW

SN: 2975-3704

1шт.

11

01210-00412

SCREW

SN: 2735-2974

1шт.

12

01601-00410

WASHER

SN: 2975-3704

1шт.

13

01580-00403

NUT

SN: 2975-3704

1шт.

13

01501-00404

NUT

SN: 2735-2974

1шт.

14

130-911-1640

PLUG

SN: 2975-3704

6шт.

15

232-06-15180

COVER

SN: 2101-3704

1шт.

16

01210-40816

SCREW

SN: 2975-3704

2шт.

16

01210-00816

SCREW

SN: 2101-2974

2шт.

17

01602-00825

WASHER

SN: 2975-3704

2шт.

18

01641-20812

WASHER

SN: 2101-3704

2шт.

Выбрано товаров: 26