Запчасти Komatsu GD37-6H СТАЛЬНАЯ КАБИНА (B-ТИП) (КРОМЕ ЯПОН.)(№-) ОПЦИОННЫЕ КОМПОНЕНТЫ

Схема запчастей Komatsu GD37-6H - СТАЛЬНАЯ КАБИНА (B-ТИП) (КРОМЕ ЯПОН.)(№-) ОПЦИОННЫЕ КОМПОНЕНТЫ
FIT
1:1
100%

Артикул

Название

Примечание

Количество

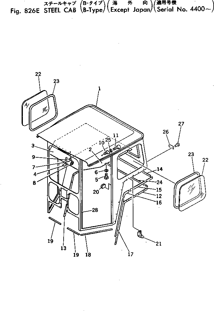
|$0

232-903-0064

STEEL CAB ASS'Y

SN: 4400-UP

1шт.

1

232-855-8101

CAB

SN: 3326-UP

1шт.

7

232-855-1320

SPRING

SN: 3326-UP

1шт.

8

01641-20608

WASHER

SN: 3326-UP

2шт.

9

04050-01610

PIN

SN: 3326-UP

2шт.

10

232-855-1330

HOOK

SN: 3326-UP

4шт.

11

01010-30620

BOLT

SN: 4400-UP

8шт.

12

232-855-1381

PLATE

SN: 4400-UP

1шт.

13

232-855-1391

PLATE

SN: 4400-UP

1шт.

14

232-855-1451

PACKING

SN: .-UP

1шт.

15

232-855-1461

PACKING

SN: .-UP

2шт.

16

232-855-1431

PACKING

SN: .-UP

2шт.

17

232-855-1441

PACKING

SN: .-UP

2шт.

18

232-855-8321

PACKING

SN: .-UP

2шт.

19

232-855-8340

PACKING

SN: 3326-UP

2шт.

20

232-855-1541

ASHTRAY (OP)

SN: 4400-UP

1шт.

20

01224-40406

SCREW,(NOT SHOWN) (OP)

SN: 4400-UP

1шт.

21

232-855-1551

STOPPER

SN: 4400-UP

2шт.

22

232-855-1270

GLASS

SN: 3326-UP

2шт.

23

232-855-2180

RUBBER

SN: 3326-UP

2шт.

24

232-855-8311

PLATE

SN: 4400-UP

1шт.

25

01602-00619

WASHER

SN: 4400-UP

8шт.

25

01640-20610

WASHER,(NOT SHOWN)

SN: 4400-UP

8шт.

25

01580-10605

NUT,(NOT SHOWN)

SN: 4400-UP

8шт.

26

232-855-8270

SEAL

SN: 3326-UP

1шт.

27

04400-00412

RIVET

SN: 3326-UP

2шт.

28

232-855-8511

SEAL

SN: 4400-UP

2шт.

Выбрано товаров: 27