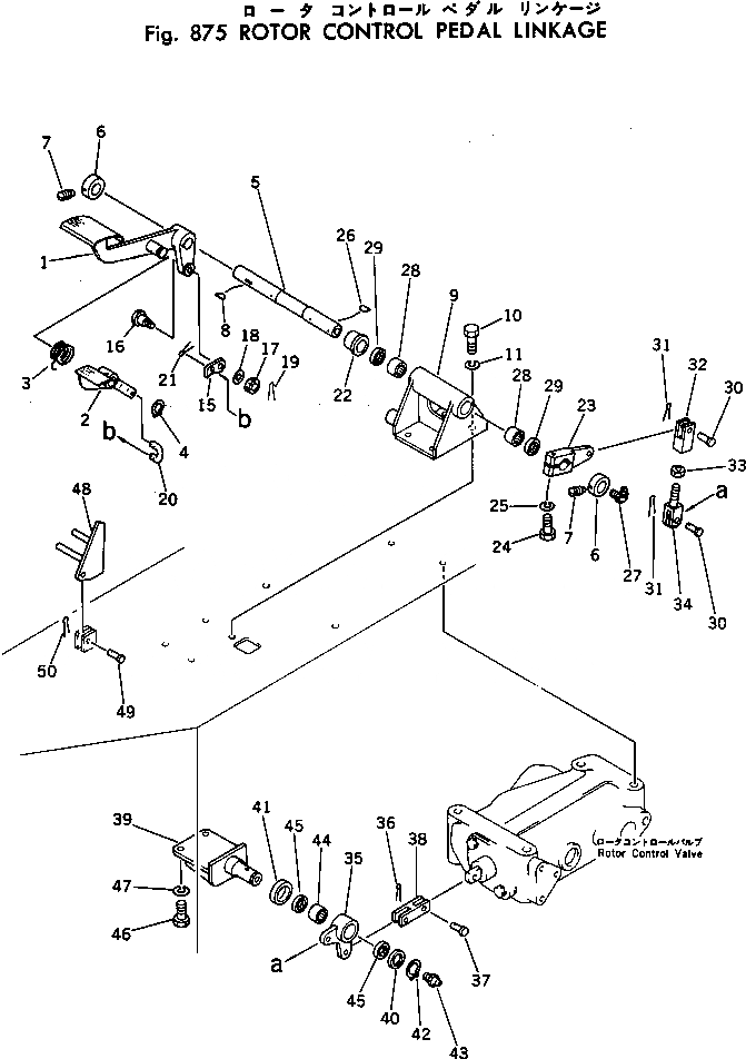
Запчасти Komatsu GD37-6H ROTOR ПЕДАЛЬ УПРАВЛ-Я И МЕХАНИЗМ ОПЦИОННЫЕ КОМПОНЕНТЫ

Схема запчастей Komatsu GD37-6H - ROTOR ПЕДАЛЬ УПРАВЛ-Я И МЕХАНИЗМ ОПЦИОННЫЕ КОМПОНЕНТЫ
FIT
1:1
100%

Артикул

Название

Примечание

Количество

1

232-975-5110

PEDAL

SN: 2101-UP

1шт.

2

232-975-5120

PEDAL

SN: 2101-UP

1шт.

3

232-975-5170

SPRING

SN: 2101-UP

1шт.

4

04066-00016

RING

SN: 2101-UP

1шт.

5

232-975-5130

SHAFT

SN: 2101-UP

1шт.

6

232-975-5360

COLLAR

SN: 2101-UP

2шт.

7

01322-40612

SCREW

SN: 2975-UP

2шт.

7

01322-00612

SCREW

SN: 2101-2974

2шт.

8

04010-00516

KEY

SN: 2101-UP

1шт.

9

232-975-5140

BRACKET

SN: 2101-UP

1шт.

10

01010-51020

BOLT

SN: 2975-UP

4шт.

10

01040-31020

BOLT

SN: 2101-2974

4шт.

11

01602-21030

WASHER

SN: 2101-UP

4шт.

15

232-43-16160

STOPPER

SN: 2101-UP

1шт.

16

232-43-16171

SHAFT

SN: 2975-UP

1шт.

16

0

SHAFT

SN: 2101-2974

1шт.

|$$17

(232-43-16171,01590-10809)

-1шт.

17

01590-10809

NUT

SN: 2975-UP

1шт.

17

01511-00807

NUT

SN: 2101-2974

1шт.

18

01640-20816

WASHER

SN: 2101-UP

1шт.

19

04050-12022

PIN

SN: 2101-UP

1шт.

20

232-975-5160

HOOK

SN: 2101-UP

1шт.

21

04050-11610

PIN

SN: 2101-UP

4шт.

22

232-975-5150

COLLAR

SN: 2101-UP

1шт.

23

232-975-5480

LEVER

SN: 2101-UP

1шт.

24

01010-50830

BOLT

SN: 2975-UP

1шт.

24

01000-30830

BOLT

SN: 2101-2974

1шт.

25

01602-20825

WASHER

SN: 2101-UP

1шт.

26

04010-00516

KEY

SN: 2101-UP

1шт.

27

07020-00900

FITTING

SN: 2101-UP

1шт.

28

06120-02016

BEARING

SN: 2101-UP

2шт.

29

06122-02004

SEAL

SN: 2101-UP

2шт.

30

04205-11026

PIN

SN: 2101-UP

2шт.

31

04050-13015

PIN

SN: 2101-UP

2шт.

32

04210-21040

YOKE

SN: 2101-UP

1шт.

33

01593-11008

NUT

SN: 2975-UP

1шт.

33

01501-01006

NUT

SN: 2101-2974

1шт.

34

232-975-5180

JOINT

SN: 2101-UP

1шт.

35

232-975-5190

LEVER

SN: 2101-UP

1шт.

36

04050-13015

PIN

SN: 2101-UP

2шт.

37

04205-11026

PIN

SN: 2101-UP

2шт.

38

04213-21040

YOKE

SN: 2101-UP

1шт.

39

232-975-5210

BRACKET

SN: 2101-UP

1шт.

40

232-975-5490

SPACER

SN: 2101-UP

1шт.

41

232-975-5550

COLLAR

SN: 2101-UP

1шт.

42

04064-02012

RING

SN: 2101-UP

1шт.

43

07020-00000

FITTING

SN: 2101-UP

1шт.

44

06120-02016

BEARING

SN: 2101-UP

1шт.

45

06122-02004

SEAL

SN: 2101-UP

2шт.

46

01010-51020

BOLT

SN: 2975-UP

3шт.

46

01040-31020

BOLT

SN: 2101-2974

3шт.

47

01602-21030

WASHER

SN: 2101-UP

3шт.

48

232-976-2170

STOPPER

SN: 2101-UP

1шт.

49

04205-10625

PIN

SN: 2101-UP

1шт.

50

04050-11610

PIN

SN: 2101-UP

1шт.

Выбрано товаров: 55