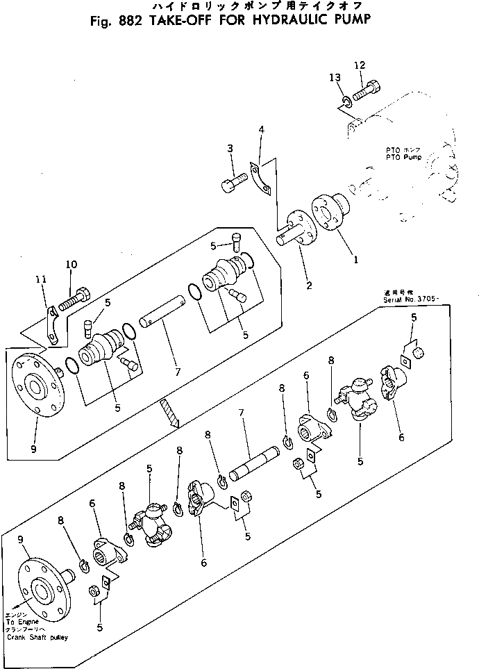
Запчасти Komatsu GD37-6H TAKE-OFF (ДЛЯ ГИДР. НАСОС.) ОПЦИОННЫЕ КОМПОНЕНТЫ

Схема запчастей Komatsu GD37-6H - TAKE-OFF (ДЛЯ ГИДР. НАСОС.) ОПЦИОННЫЕ КОМПОНЕНТЫ
FIT
1:1
100%

Артикул

Название

Примечание

Количество

1

232-971-2172

JOINT

SN: 2101-UP

1шт.

2

232-976-8230

COUPLING

SN: 3705-UP

1шт.

2

232-971-2550

SHAFT

SN: 2101-3704

1шт.

3

01050-51025

BOLT

SN: 2975-UP

4шт.

3

01000-31025

BOLT

SN: 2101-2974

4шт.

4

232-971-2570

LOCK

SN: 2101-UP

2шт.

5

232-43-23100

JOINT ASS'Y

SN: 3705-UP

2шт.

5

234-40-12900

JOINT ASS'Y

SN: 2101-3704

2шт.

6

232-43-33120

JOINT

SN: 3705-UP

4шт.

7

232-976-8220

SHAFT

SN: 3705-UP

1шт.

7

232-976-8140

SHAFT

SN: 2101-3704

1шт.

8

04064-02512

RING

SN: 3705-UP

6шт.

9

232-976-8210

COUPLING

SN: 3705-UP

1шт.

9

232-971-5120

COUPLING

SN: 2101-3704

1шт.

10

01050-51250

BOLT

SN: 2975-UP

6шт.

10

02030-30851

BOLT

SN: 2101-2974

6шт.

11

6623-31-8710

PLATE

SN: 2101-UP

3шт.

12

01010-51245

BOLT

SN: 2975-UP

4шт.

12

01040-31245

BOLT

SN: 2101-2974

4шт.

13

01602-01236

WASHER

SN: 2101-UP

4шт.

Выбрано товаров: 20