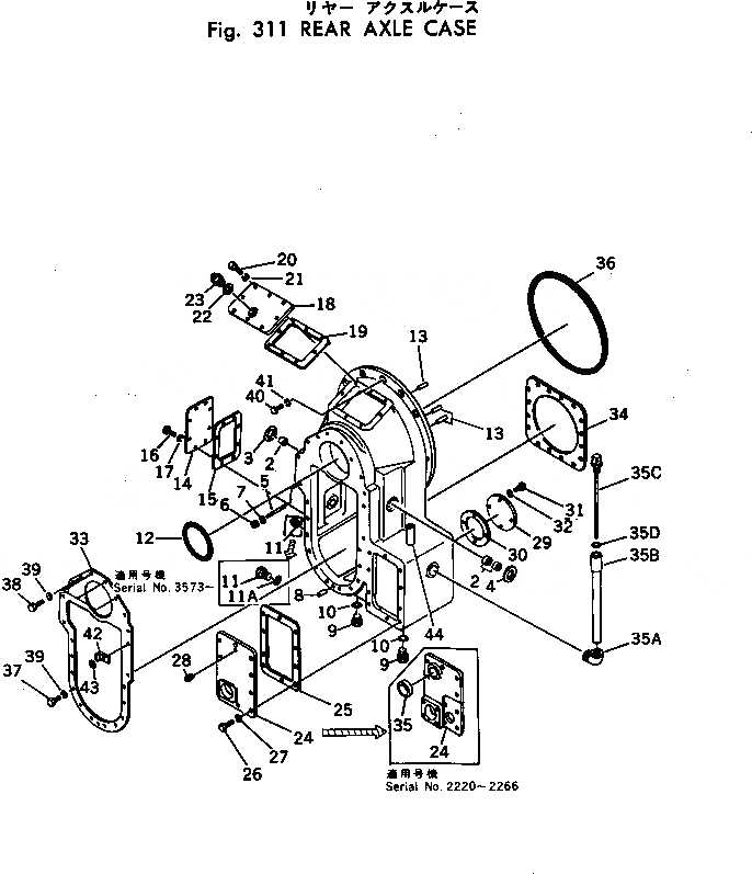
Запчасти Komatsu GD37-6H ЗАДН. МОСТ КОРПУС СДВОЕНН. ПРИВОД И КОЛЕСА

Схема запчастей Komatsu GD37-6H - ЗАДН. МОСТ КОРПУС СДВОЕНН. ПРИВОД И КОЛЕСА
FIT
1:1
100%

Артикул

Название

Примечание

Количество

|$0

232-22-00017

CASE ASS'Y

SN: 5809-UP

1шт.

|$1

232-22-00016

CASE ASS'Y

SN: 5600-5808

1шт.

|$2

232-22-00015

CASE ASS'Y

SN: 3705-5999

1шт.

|$3

232-22-00014

CASE ASS'Y

SN: 3573-3704

1шт.

|$4

232-22-00013

CASE ASS'Y

SN: 2975-3572

1шт.

|$5

232-22-00012

CASE ASS'Y

SN: 2101-2974

1шт.

1

232-22-11116

CASE

SN: 5809-UP

1шт.

1

232-22-11212

CASE

SN: 5600-5808

1шт.

1

232-22-11211

CASE

SN: 3573-5599

1шт.

1

0

CASE

SN: 2101-3572

1шт.

|$$11

(232-22-11211,07040-11812,

-1шт.

|$$12

07002-11823)

-1шт.

2

06120-03520

BEARING

SN: 2101-UP

3шт.

3

07046-15020

PLUG

SN: 2101-UP

1шт.

4

07011-00035

SEAL (KIT)

SN: 2101-UP

1шт.

5

01141-51420

STUD

SN: 2975-UP

2шт.

5

232-22-11142

STUD

SN: 2101-2974

2шт.

6

01582-11411

NUT

SN: 2975-UP

2шт.

6

01500-31411

NUT

SN: 2101-2974

2шт.

7

01602-21442

WASHER

SN: 2101-UP

2шт.

8

04020-01434

PIN

SN: 2101-UP

1шт.

9

07044-13620

PLUG

SN: 2101-UP

2шт.

10

07002-13634

O-RING (KIT)

SN: 2101-UP

2шт.

11

07040-11812

PLUG

SN: 3573-UP

1шт.

11

07042-00415

PLUG

SN: 2101-3572

1шт.

11A

07002-11823

O-RING (KIT)

SN: 3573-UP

1шт.

12

07000-15175

O-RING (KIT)

SN: 2101-5599

1шт.

13

230-10-11420

PIN

SN: 2101-UP

3шт.

14

232-22-11160

COVER

SN: 2101-3572

1шт.

15

232-22-11170

GASKET (KIT)

SN: 2101-3572

1шт.

16

01010-50820

BOLT

SN: 2975-3572

8шт.

16

01000-30820

BOLT

SN: 2101-2974

8шт.

17

01602-20825

WASHER

SN: 2101-3572

8шт.

18

232-11-11120

COVER

SN: 5809-UP

1шт.

18

232-11-11121

COVER

SN: 5600-5808

1шт.

18

232-11-11120

COVER

SN: 2101-5599

1шт.

19

232-11-11130

GASKET (KIT)

SN: 5809-UP

1шт.

19

232-11-11131

GASKET (KIT)

SN: 5600-5808

1шт.

19

232-11-11130

GASKET (KIT)

SN: 2101-5599

1шт.

20

01010-51020

BOLT

SN: 5809-UP

8шт.

20

01010-51025

BOLT

SN: 5600-5808

8шт.

20

01010-51020

BOLT

SN: 2101-5599

8шт.

21

01602-21030

WASHER

SN: 2101-UP

8шт.

22

07005-03016

GASKET

SN: .-UP

1шт.

22

07003-13036

GASKET (KIT)

SN: 2101-.

1шт.

23

232-23-11220

BREATHER

SN: 4029-UP

1шт.

23

0

BREATHER

SN: 2101-4028

1шт.

24

232-11-11360

COVER

SN: .-UP

1шт.

24

232-11-11351

COVER

SN: 3573-.

1шт.

24

232-11-11350

COVER

SN: 2975-3572

1шт.

24

232-11-11151

PLATE

SN: 2267-2974

1шт.

24

232-11-11153

COVER

SN: 2220-2266

1шт.

24

232-11-11151

PLATE

SN: 2101-2219

1шт.

25

232-11-11160

GASKET (KIT)

SN: 2101-UP

1шт.

26

01010-51025

BOLT

SN: 2101-UP

8шт.

27

01602-21030

WASHER

SN: 2101-UP

8шт.

28

07042-00108

PLUG

SN: 2267-3572

1шт.

28

07042-00108

PLUG

SN: 2101-2219

1шт.

29

232-11-11170

COVER

SN: 2101-3572

1шт.

30

232-11-11180

GASKET (KIT)

SN: 2101-3572

1шт.

31

01010-51025

BOLT

SN: 2101-3572

4шт.

32

01602-21030

WASHER

SN: 2101-3572

4шт.

33

232-22-11151

GASKET (KIT)

SN: 2101-UP

1шт.

34

232-22-11370

GASKET (KIT)

SN: 2101-UP

1шт.

35

230-09-12910

GAUGE

SN: 2220-2266

1шт.

35A

07323-21000

ELBOW

SN: .-UP

1шт.

35A

0

ELBOW

SN: 3573-.

1шт.

35B

232-22-11521

TUBE

SN: 3705-UP

1шт.

35B

0

TUBE

SN: 3573-3704

1шт.

|$$70

(232-22-11521,232-22-11511,

-1шт.

|$$71

07000-03022)

-1шт.

35C

232-22-11511

GAUGE

SN: 3705-UP

1шт.

35C

0

GAUGE

SN: 3573-3704

1шт.

|$$74

(232-22-11511,232-22-11521,

-1шт.

|$$75

07000-03022)

-1шт.

35D

07000-03022

O-RING (KIT)

SN: 3705-UP

2шт.

36

07000-15480

O-RING (KIT)

SN: 3801-UP

1шт.

36

07000-15485

O-RING (KIT)

SN: 2101-3800

1шт.

37

01010-51445

BOLT

SN: 5600-UP

20шт.

37

01010-51445

BOLT

SN: 2975-5599

16шт.

37

01040-31445

BOLT

SN: 2101-2974

16шт.

38

01010-51440

BOLT

SN: 2975-5599

4шт.

38

01040-31440

BOLT

SN: 2101-2974

4шт.

39

01602-21442

WASHER

SN: 2101-UP

20шт.

40

01010-51240

BOLT

SN: 5600-UP

11шт.

40

01010-51240

BOLT

SN: 2101-5599

13шт.

41

01602-21236

WASHER

SN: 5600-UP

11шт.

41

01602-21236

WASHER

SN: 2101-5599

13шт.

42

232-22-11190

STOPPER

SN: 2101-3337

1шт.

43

01641-21423

WASHER

SN: 2101-3337

1шт.

44

232-22-11280

TUBE

SN: 5809-UP

1шт.

Выбрано товаров: 91