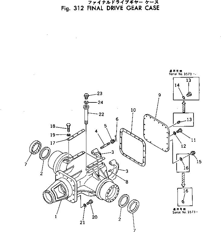
Запчасти Komatsu GD37-6H КОНЕЧНАЯ ПЕРЕДАЧА И ВАЛ КОРПУС СДВОЕНН. ПРИВОД И КОЛЕСА

Схема запчастей Komatsu GD37-6H - КОНЕЧНАЯ ПЕРЕДАЧА И ВАЛ КОРПУС СДВОЕНН. ПРИВОД И КОЛЕСА
FIT
1:1
100%

Артикул

Название

Примечание

Количество

|$0

232-22-00026

CASE ASS'Y

SN: 6349-UP

1шт.

|$1

232-22-00025

CASE ASS'Y

SN: 4714-6348

1шт.

|$2

0

CASE ASS'Y

SN: 3573-4713

1шт.

|$3

232-22-00023

CASE ASS'Y

SN: 2975-3572

1шт.

|$4

232-22-00022

CASE ASS'Y

SN: 2101-2974

1шт.

1

232-22-11315

CASE

SN: 6349-UP

1шт.

1

232-22-11314

CASE

SN: 4714-6348

1шт.

1

0

CASE

SN: 2975-4713

1шт.

|$$9

(232-22-11314,232-22-11460)

-1шт.

1

232-22-11312

CASE

SN: 2101-2974

1шт.

2

232-22-11460

SPACER

SN: 4714-UP

2шт.

3

232-22-11331

COVER

SN: .-UP

2шт.

3

0

COVER

SN: 2975-.

2шт.

3

232-22-11330

COVER

SN: 2101-2974

2шт.

4

232-22-11321

STUD

SN: 2975-UP

4шт.

4

232-22-11320

STUD

SN: 2101-2974

4шт.

5

01590-12022

NUT

SN: 2975-UP

4шт.

5

01510-02022

NUT

SN: 2101-2974

4шт.

6

04050-14040

PIN

SN: 2101-UP

4шт.

7

07011-00100

SEAL (KIT)

SN: 2101-UP

2шт.

8

04020-01024

PIN

SN: 2101-UP

2шт.

9

232-22-11392

COVER

SN: 3573-UP

1шт.

9

0

COVER

SN: 2101-3572

1шт.

|$$24

(232-22-11392,07040-11812,

-1шт.

|$$25

07000-12014,07002-13634)

-1шт.

10

232-22-11410

GASKET (KIT)

SN: 2101-UP

1шт.

11

01010-51225

BOLT

SN: 2975-UP

20шт.

11

01000-31225

BOLT

SN: 2101-2974

20шт.

12

01602-21236

WASHER

SN: 2101-UP

20шт.

13

07040-11812

PLUG

SN: 3573-UP

1шт.

13

07042-00415

PLUG

SN: 2101-3572

1шт.

14

07000-12014

O-RING (KIT)

SN: 3573-UP

1шт.

15

07044-13620

PLUG

SN: 2101-UP

1шт.

16

07002-13634

O-RING (KIT)

SN: 3573-UP

1шт.

16

07003-13642

GASKET (KIT)

SN: 2101-3572

1шт.

17

232-22-05510

SHIM ASS'Y

SN: 2101-UP

2шт.

17

232-22-11360

SHIM, 0.5MM (KIT)

SN: 2101-UP

2шт.

17

232-22-11340

SHIM, 1.0MM (KIT)

SN: 2101-UP

2шт.

17

232-22-11350

SHIM, 3.2MM (KIT)

SN: 2101-UP

1шт.

18

01010-51645

BOLT

SN: 2975-UP

8шт.

18

01000-31645

BOLT

SN: 2101-2974

8шт.

19

01602-21648

WASHER

SN: 2101-UP

8шт.

20

01010-51655

BOLT

SN: 2975-UP

16шт.

20

01040-31655

BOLT

SN: 2101-2974

16шт.

21

01602-21648

WASHER

SN: 2101-UP

16шт.

22

232-22-11423

FILLER

SN: 2101-UP

1шт.

23

232-22-11220

BREATHER

SN: 4029-UP

1шт.

23

0

BREATHER

SN: 2101-4028

1шт.

24

07005-03016

GASKET (KIT)

SN: .-UP

1шт.

24

07003-03036

GASKET (KIT)

SN: 2101-.

1шт.

Выбрано товаров: 0