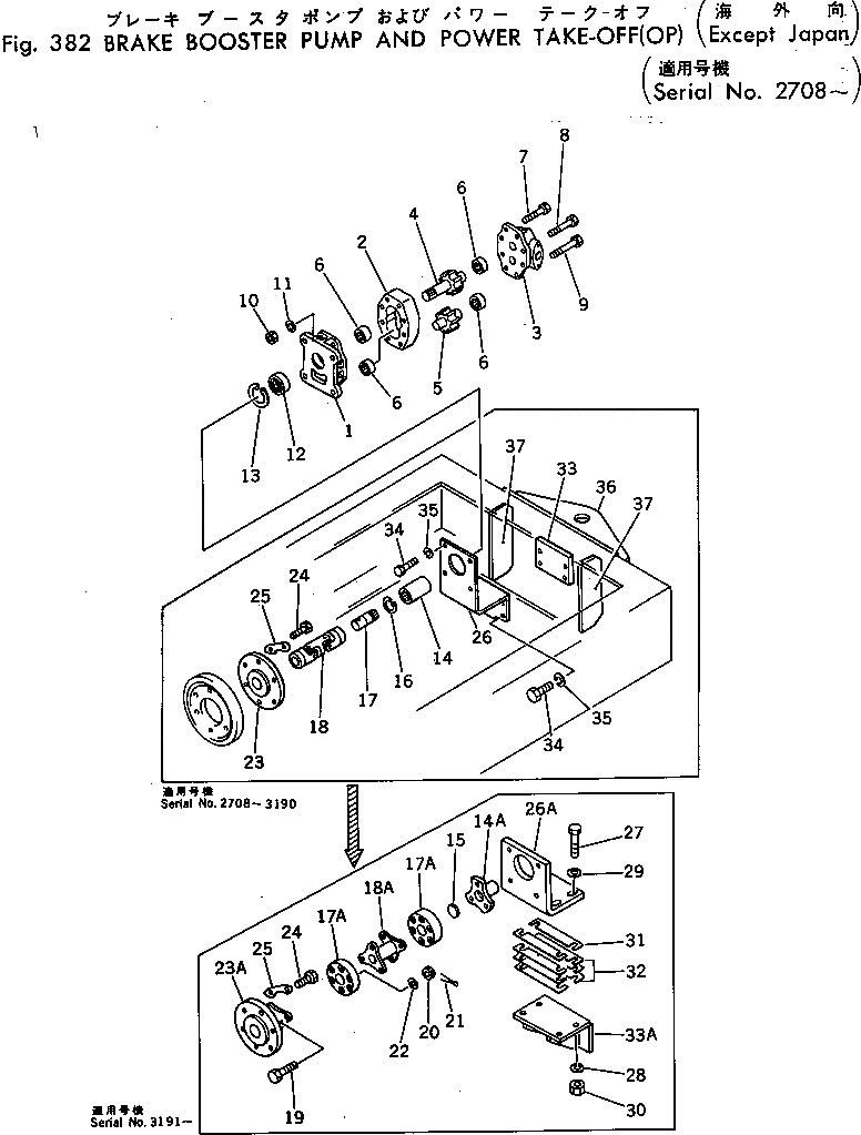
Запчасти Komatsu GD37-6H УСИЛИТЕЛЬ ТОРМОЗА НАСОС И P.T.O (OP) (КРОМЕ ЯПОН.)(№78-) СДВОЕНН. ПРИВОД И КОЛЕСА

Схема запчастей Komatsu GD37-6H - УСИЛИТЕЛЬ ТОРМОЗА НАСОС И P.T.O (OP) (КРОМЕ ЯПОН.)(№78-) СДВОЕНН. ПРИВОД И КОЛЕСА
FIT
1:1
100%

Артикул

Название

Примечание

Количество

|$0

07428-71202

PUMP ASS'Y

SN: .-UP

1шт.

|$1

0

PUMP ASS'Y

SN: 2708-.

1шт.

1

07426-71011

BRACKET

SN: 2708-UP

1шт.

2

07428-71020

CASE

SN: 2708-UP

1шт.

3

07426-71231

HOUSING

SN: 2708-UP

1шт.

|$5

07428-70040

GEAR ASS'Y

SN: 2708-UP

1шт.

4

07428-71040

GEAR

SN: 2708-UP

1шт.

5

07428-71050

GEAR

SN: 2708-UP

1шт.

6

07426-71061

BEARING

SN: 2708-UP

4шт.

7

07428-71070

BOLT

SN: 2708-UP

2шт.

8

07428-71080

BOLT

SN: 2708-UP

4шт.

9

07428-71090

BOLT

SN: 2708-UP

2шт.

10

01582-01008

NUT

SN: 2708-UP

8шт.

11

01602-11030

WASHER

SN: 2708-UP

8шт.

12

07426-71160

SEAL

SN: 2708-UP

1шт.

13

04065-04218

RING

SN: 2708-UP

1шт.

14

232-843-2311

COUPLING

SN: .-3190

1шт.

14

0

COUPLING

SN: 2708-.

1шт.

14A

232-843-3240

COUPLING

SN: 3191-UP

1шт.

15

07046-12820

PLUG

SN: 3191-UP

1шт.

16

04065-02012

RING

SN: 2708-3190

1шт.

17

232-843-2731

SHAFT

SN: .-3190

1шт.

17

232-843-2730

SHAFT

SN: 2708-.

1шт.

17A

232-843-3210

COUPLING

SN: 3191-UP

2шт.

18

232-843-2800

JOINT ASS'Y

SN: 2708-3190

1шт.

18A

232-843-3230

COUPLING

SN: 3191-UP

1шт.

19

01012-50845

BOLT

SN: 3191-UP

12шт.

20

01590-10809

NUT

SN: 3191-UP

12шт.

21

04050-12015

PIN

SN: 3191-UP

12шт.

22

01640-20816

WASHER

SN: 3191-UP

12шт.

23

232-843-2740

COUPLING

SN: 2708-3190

1шт.

23A

232-843-3220

COUPLING

SN: 3191-UP

1шт.

24

01050-51250

BOLT

SN: 3191-UP

6шт.

24

02030-30851

BOLT

SN: 2708-3190

6шт.

25

6623-31-8710

PLATE

SN: 2708-UP

3шт.

26

232-843-2241

BRACKET

SN: 2975-3190

1шт.

26

232-843-2240

BRACKET

SN: 2708-2974

1шт.

26A

232-843-2243

BRACKET

SN: 3191-UP

1шт.

27

01010-51255

BOLT

SN: 3191-UP

4шт.

28

01602-21236

WASHER

SN: 3191-UP

4шт.

29

01640-21223

WASHER

SN: 3191-UP

4шт.

30

01580-11210

NUT

SN: 3191-UP

4шт.

31

232-843-3250

SHIM

SN: 3191-UP

2шт.

32

232-843-3260

SHIM

SN: 3191-UP

8шт.

33

232-843-2251

BRACKET (WELDED)

SN: 2975-3190

1шт.

33

232-843-2250

BRACKET (WELDED)

SN: 2708-2974

1шт.

33A

232-843-2252

BRACKET (WELDED)

SN: 3191-UP

1шт.

34

01010-51030

BOLT

SN: 3191-UP

4шт.

34

01010-51030

BOLT

SN: 2975-3190

8шт.

34

01000-31030

BOLT

SN: 2708-2974

8шт.

35

01602-21030

WASHER

SN: 3191-UP

4шт.

35

01602-21030

WASHER

SN: 2708-3190

8шт.

36

232-843-2290

BRACKET (WELDED)

SN: 2708-UP

1шт.

37

232-843-2320

PLATE (WELDED)

SN: 3191-UP

2шт.

Выбрано товаров: 54