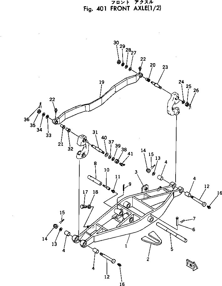
Запчасти Komatsu GD37-6H ПЕРЕДНИЙ МОСТ (/) СИСТЕМАУПРАВЛЕНИЯ ПОВОРОТОМ

Схема запчастей Komatsu GD37-6H - ПЕРЕДНИЙ МОСТ (/) СИСТЕМАУПРАВЛЕНИЯ ПОВОРОТОМ
FIT
1:1
100%

Артикул

Название

Примечание

Количество

|$0

232-27-00075

FRONT AXLE ASS'Y

SN: 3705-UP

1шт.

|$1

0

FRONT AXLE ASS'Y

SN: 2975-3704

1шт.

|$2

232-27-00073

FRONT AXLE ASS'Y

SN: 2591-2974

1шт.

|$3

232-27-00072

FRONT AXLE ASS'Y

SN: 2387-2590

1шт.

|$4

232-27-00071

FRONT AXLE ASS'Y

SN: 2101-2386

1шт.

1

232-27-11117

AXLE

SN: 3705-UP

1шт.

1

232-27-11116

AXLE

SN: 2975-3704

1шт.

1

232-27-11115

AXLE

SN: 2591-2974

1шт.

1

232-27-11114

AXLE

SN: 2387-2590

1шт.

1

233-27-11113

AXLE

SN: 2101-2386

1шт.

2

232-946-7120

HOOK (OP)

SN: 3705-UP

1шт.

3

232-27-11120

STOPPER

SN: 2101-UP

1шт.

4

232-27-11130

BUSHING

SN: 2101-UP

4шт.

5

232-27-11142

SHAFT

SN: 4957-UP

1шт.

5

0

SHAFT

SN: 2101-4956

1шт.

6

232-27-11150

PIN

SN: 2101-UP

1шт.

7

04050-14025

PIN

SN: 2101-UP

1шт.

8

232-27-11163

PIN

SN: 2591-UP

1шт.

8

232-27-11162

PIN

SN: 2101-2590

1шт.

9

232-70-11231

PIN (KIT)

SN: 2101-3704

1шт.

10

232-27-11170

TUBE

SN: 2101-UP

1шт.

11

07020-00000

FITTING

SN: 2101-UP

1шт.

12

232-27-11251

SHAFT

SN: 2975-UP

2шт.

12

232-27-11250

SHAFT

SN: 2101-2974

2шт.

13

01640-23345

WASHER

SN: 2101-UP

2шт.

14

01590-13335

NUT

SN: 2975-UP

2шт.

14

01511-33320

NUT

SN: 2101-2974

2шт.

15

04050-16060

PIN

SN: 2101-UP

2шт.

16

07020-00000

FITTING

SN: 2101-UP

2шт.

17

232-27-11631

BOLT

SN: 2975-3325

2шт.

17

232-27-11630

BOLT

SN: 2387-2974

2шт.

18

01580-11210

NUT

SN: 2975-3325

2шт.

18

01501-31207

NUT

SN: 2387-2974

2шт.

|$33

232-27-00062

ROD ASS'Y

SN: 2975-UP

1шт.

|$34

232-27-00061

ROD ASS'Y

SN: 2101-2974

1шт.

19

232-27-11812

ROD

SN: 2975-UP

1шт.

19

232-27-11811

ROD

SN: 2101-2974

1шт.

20

232-27-11830

BUSHING

SN: 2101-UP

1шт.

21

232-27-11820

BUSHING

SN: 2101-UP

1шт.

22

07020-00000

FITTING

SN: 2101-UP

2шт.

23

232-27-11712

ARM

SN: 2975-UP

1шт.

23

232-27-11711

ARM

SN: 2101-2974

1шт.

24

01640-23345

WASHER

SN: 2101-UP

1шт.

25

01590-13335

NUT

SN: 2975-UP

1шт.

25

01511-33320

NUT

SN: 2101-2974

1шт.

26

04050-16060

PIN

SN: 2101-UP

1шт.

27

232-27-11730

WASHER

SN: 2101-UP

1шт.

28

01640-22440

WASHER

SN: 2101-UP

1шт.

29

01658-22416

WASHER

SN: 2975-UP

1шт.

29

01656-22416

WASHER

SN: 2101-2974

1шт.

30

01530-02410

NUT

SN: 2101-UP

1шт.

31

232-27-11723

ARM

SN: 2975-UP

1шт.

31

232-27-11722

ARM

SN: 2591-2974

1шт.

31

232-27-11721

ARM

SN: 2101-2590

1шт.

32

232-27-11740

COLLAR

SN: 2101-UP

1шт.

33

232-27-11750

WASHER

SN: 2101-UP

1шт.

34

01640-22440

WASHER

SN: 2101-UP

1шт.

35

01590-12427

NUT

SN: 2975-UP

1шт.

35

01511-32415

NUT

SN: 2101-2974

1шт.

36

04050-15045

PIN

SN: 2101-UP

1шт.

37

01640-23345

WASHER

SN: 2591-UP

1шт.

37

01640-23045

WASHER

SN: 2101-2590

1шт.

38

01530-03310

NUT

SN: 2591-UP

1шт.

38

01530-03010

NUT

SN: 2101-2590

1шт.

39

01658-23318

WASHER

SN: 2975-UP

1шт.

39

01656-23318

WASHER

SN: 2591-2974

1шт.

39

01656-23018

WASHER

SN: 2101-2590

1шт.

40

01640-24560

WASHER

SN: 2591-UP

1шт.

41

07020-00675

FITTING

SN: 2591-UP

1шт.

Выбрано товаров: 69