Запчасти Komatsu GD37-6H РУЛЕВ. УПРАВЛЕНИЕ INTERMEDIATE ВАЛ (ДЛЯ ЯПОН.) СИСТЕМАУПРАВЛЕНИЯ ПОВОРОТОМ

Схема запчастей Komatsu GD37-6H - РУЛЕВ. УПРАВЛЕНИЕ INTERMEDIATE ВАЛ (ДЛЯ ЯПОН.) СИСТЕМАУПРАВЛЕНИЯ ПОВОРОТОМ
FIT
1:1
100%

Артикул

Название

Примечание

Количество

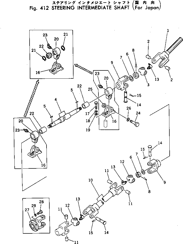
1

232-40-12211

SHAFT

SN: 2101-UP

1шт.

|1

0

YOKE

SN: 2101-UP

1шт.

2

232-40-12230

PIN

SN: 2101-UP

2шт.

3

232-40-12240

SPIDER

SN: 2101-UP

1шт.

4

232-40-12312

SHAFT

SN: 2975-UP

1шт.

|4

232-40-12311

SHAFT

SN: 2101-2974

1шт.

5

04010-00725

KEY

SN: 2101-UP

2шт.

6

01593-11613

NUT

SN: 2975-UP

2шт.

|6

01511-31612

NUT

SN: 2101-2974

2шт.

7

01640-21626

WASHER

SN: 2101-UP

2шт.

8

04050-14030

PIN

SN: 2975-UP

2шт.

|8

04050-04035

PIN

SN: 2101-2974

2шт.

9

232-40-12350

YOKE

SN: 2101-UP

2шт.

10

232-40-12252

SHAFT

SN: 4669-UP

1шт.

|10

232-40-12280

SHAFT

SN: 3326-4668

1шт.

|10

232-40-12252

SHAFT

SN: 2101-3325

1шт.

|10

0

YOKE

SN: 2101-UP

2шт.

11

232-40-12230

PIN

SN: 2101-UP

4шт.

12

232-40-12240

SPIDER

SN: 2101-UP

2шт.

13

07020-00675

FITTING

SN: 2101-UP

3шт.

14

232-40-12270

PIN

SN: 2101-UP

3шт.

15

04050-14025

PIN

SN: 2101-UP

3шт.

16

232-40-12360

BRACKET

SN: 2101-UP

2шт.

17

01010-51025

BOLT

SN: 2975-UP

4шт.

|17

01000-31025

BOLT

SN: 2101-2974

4шт.

18

01602-21030

WASHER

SN: 2101-UP

4шт.

19

01640-21016

WASHER

SN: 2101-UP

4шт.

|20

232-40-00052

SUPPORT ASS'Y

SN: 2975-UP

2шт.

|20

232-40-00051

SUPPORT ASS'Y

SN: 2891-2974

2шт.

|20

232-40-00050

SUPPORT ASS'Y

SN: 2101-2890

2шт.

20

232-40-12690

BEARING

SN: 2975-UP

1шт.

|20

232-40-12331

SUPPORT

SN: 2891-2974

1шт.

|20

232-40-12330

SUPPORT

SN: 2101-2890

1шт.

21

04065-04218

RING

SN: 2891-UP

2шт.

22

230-09-13250

BEARING

SN: 2891-UP

1шт.

|22

232-40-12560

BUSHING

SN: 2101-2890

1шт.

23

07020-00675

FITTING

SN: 2975-UP

1шт.

|23

07020-00000

FITTING

SN: 2101-2974

1шт.

24

01010-51255

BOLT

SN: 2975-UP

2шт.

|24

01000-31250

BOLT

SN: 2101-2974

2шт.

25

01580-11210

NUT

SN: 2975-UP

2шт.

|25

01500-31210

NUT

SN: 2101-2974

2шт.

26

01602-21236

WASHER

SN: 2101-UP

2шт.

27

232-40-12290

JOINT

SN: 4669-5640

1шт.

28

01010-51025

BOLT

SN: 4669-5640

4шт.

29

01602-21030

WASHER

SN: 4669-5640

4шт.

Выбрано товаров: 46