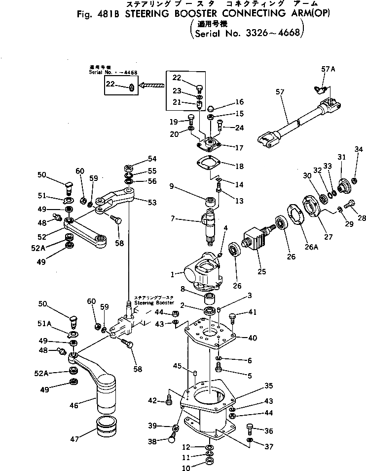
Запчасти Komatsu GD37-6H РУЛЕВ. УПРАВЛЕНИЕ УСИЛИТЕЛЬ СОЕДИНЕНИЕ РУКОЯТЬ (OP)(№-8) СИСТЕМАУПРАВЛЕНИЯ ПОВОРОТОМ

Схема запчастей Komatsu GD37-6H - РУЛЕВ. УПРАВЛЕНИЕ УСИЛИТЕЛЬ СОЕДИНЕНИЕ РУКОЯТЬ (OP)(№-8) СИСТЕМАУПРАВЛЕНИЯ ПОВОРОТОМ
FIT
1:1
100%

Артикул

Название

Примечание

Количество

|1

232-40-00351

STEERING GEAR ASS'Y

SN: .-4668

1шт.

|1

0

STEERING GEAR ASS'Y

SN: 3326-.

1шт.

1

232-40-33410

CASE

SN: 3326-4668

1шт.

2

232-40-33520

SEAL

SN: 3326-4668

1шт.

3

234-40-13770

PIN

SN: 3326-4668

2шт.

4

07042-20312

PLUG

SN: 3326-4668

1шт.

5

234-40-13880

BOLT

SN: 3326-4668

6шт.

6

01602-01236

WASHER

SN: 3326-4668

6шт.

7

232-40-33420

SHAFT

SN: 3326-4668

1шт.

8

232-40-33470

BEARING

SN: 3326-4668

1шт.

9

232-40-33480

BEARING

SN: 3326-4668

1шт.

10

01583-02716

NUT

SN: 3326-4668

1шт.

11

01602-02783

WASHER

SN: 3326-4668

1шт.

12

01640-22740

WASHER

SN: 3326-4668

1шт.

13

234-40-13680

SCREW

SN: 3326-4668

1шт.

14

234-40-13710

SHIM

SN: 3326-4668

1шт.

15

01583-11408

NUT

SN: 3326-4668

1шт.

16

232-40-33530

NUT

SN: 3326-4668

1шт.

17

232-40-33460

COVER

SN: 3326-4668

1шт.

18

232-40-33490

GASKET

SN: 3326-4668

1шт.

19

01050-61025

BOLT

SN: 3326-4668

4шт.

20

01602-01030

WASHER

SN: 3326-4668

4шт.

21

234-40-13560

FILLER

SN: 3326-4668

1шт.

22

07042-20312

PLUG

SN: .-4668

1шт.

|22

234-40-13570

PLUG

SN: 3326-.

1шт.

23

232-40-33240

PACKING

SN: 3326-.

1шт.

24

01220-30508

SCREW

SN: 3326-4668

1шт.

25

232-40-33540

BALL NUT ASS'Y

SN: 3326-4668

1шт.

26

232-40-33440

BEARING

SN: 3326-4668

2шт.

26A

232-40-33510

SHIM ASS'Y

SN: 3326-4668

1шт.

27

232-40-33450

COVER

SN: 3326-4668

1шт.

28

01050-61030

BOLT

SN: 3326-4668

4шт.

29

01602-01030

WASHER

SN: 3326-4668

4шт.

30

232-40-33520

SEAL

SN: 3326-4668

1шт.

31

232-40-33430

FLANGE

SN: 3326-4668

1шт.

32

07000-12020

O-RING

SN: 3326-4668

1шт.

33

07001-02020

RING

SN: 3326-4668

1шт.

34

234-40-13730

NUT

SN: 3326-4668

1шт.

35

232-41-11111

BRACKET

SN: 3326-4668

1шт.

36

01010-51640

BOLT

SN: 3326-4668

4шт.

37

01602-21648

WASHER

SN: 3326-4668

4шт.

38

01016-51680

BOLT

SN: 3326-4668

2шт.

39

01580-11613

NUT

SN: 3326-4668

2шт.

40

232-41-11120

PLATE

SN: 3326-4668

1шт.

41

01010-51245

BOLT

SN: 3326-4668

2шт.

42

01010-51235

BOLT

SN: 3326-4668

2шт.

43

01602-21236

WASHER

SN: 3326-4668

4шт.

44

01580-11210

NUT

SN: 3326-4668

4шт.

45

04020-01228

PIN

SN: 3326-4668

2шт.

46

232-41-26122

ARM

SN: 3326-4668

1шт.

47

232-41-26131

BUSHING

SN: 3326-4668

1шт.

48

07020-00000

FITTING

SN: 2387-4668

2шт.

49

07145-00025

SEAL

SN: 3326-4668

4шт.

50

234-41-11132

PIN

SN: 4588-4668

2шт.

|50

234-41-11131

PIN

SN: 2975-4587

2шт.

51

234-41-11230

LOCK

SN: 4513-4587

1шт.

|51

234-41-11160

PLATE

SN: 2387-4512

1шт.

51A

234-41-11160

PLATE

SN: 2387-4587

1шт.

52

232-41-26112

ARM,(INSTALL AT FACTORY)

SN: 3326-4668

1шт.

|52

234-41-11110

ARM,(INSTALL AT DISTRIBUTOR)

SN: 3326-4668

1шт.

52A

232-41-26190

COLLAR

SN: 3326-4668

2шт.

53

234-41-11121

YOKE

SN: 4588-4668

1шт.

|53

234-41-11120

YOKE

SN: 2387-4587

1шт.

54

01582-12016

NUT

SN: 2975-4668

1шт.

55

01602-22060

WASHER

SN: 2387-4668

1шт.

56

234-41-11171

WASHER

SN: 4588-4668

1шт.

|56

01643-22045

WASHER

SN: 2387-4587

1шт.

57

232-40-12252

SHAFT

SN: 3326-4668

1шт.

|57

232-40-12240

SPIDER (WELDED)

SN: 3326-4668

2шт.

|57

232-40-12230

PIN (WELDED)

SN: 3326-4668

4шт.

57A

07020-00675

FITTING

SN: 3326-4668

2шт.

58

01010-50860

BOLT

SN: 3326-4668

2шт.

59

01602-20825

WASHER

SN: 4588-4668

2шт.

60

01580-10806

NUT

SN: 3326-4668

2шт.

Выбрано товаров: 74