Запчасти Komatsu GD37-6H СИДЕНЬЕ ОПЕРАТОРА (/)(№7-) РАМА И ЧАСТИ КОРПУСА

Схема запчастей Komatsu GD37-6H - СИДЕНЬЕ ОПЕРАТОРА (/)(№7-) РАМА И ЧАСТИ КОРПУСА
FIT
1:1
100%

Артикул

Название

Примечание

Количество

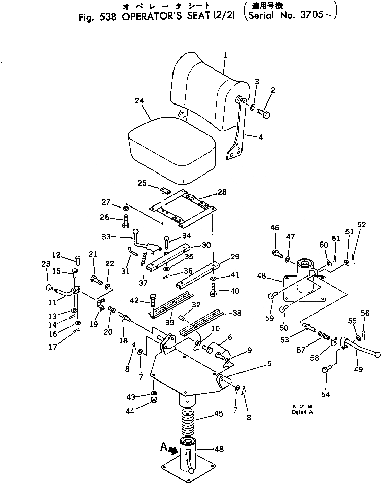
|1

237-54-14102

OPERATOR'S SEAT A.

SN: 6049-UP

1шт.

|1

0

OPERATOR'S SEAT A.

SN: 5401-6048

1шт.

|1

0

OPERATOR'S SEAT A.

SN: 5204-5400

1шт.

|1

0

OPERATOR'S SEAT A.

SN: 4381-5203

1шт.

|1

0

SEAT ASS'Y

SN: 3705-4380

1шт.

1

236-54-22661

CUSHION

SN: 5401-UP

1шт.

|1

236-54-22660

CUSHION

SN: 4381-5400

1шт.

2

01010-51240

BOLT

SN: 4381-UP

2шт.

3

01602-21236

WASHER

SN: 4381-UP

2шт.

4

237-54-51120

BRACKET

SN: 6049-UP

1шт.

|4

237-54-14121

BRACKET

SN: 5401-6048

1шт.

|4

237-54-14120

BRACKET

SN: 5204-5400

1шт.

|4

236-54-22320

BRACKET

SN: 4381-5203

1шт.

5

232-57-51111

BASE

SN: 6049-UP

1шт.

|5

236-54-22311

BASE

SN: 5401-6048

1шт.

|5

236-54-22310

BASE

SN: 4381-5400

1шт.

6

236-54-22610

PIN

SN: 4381-UP

2шт.

7

01640-22540

WASHER

SN: 4381-UP

2шт.

8

04050-15035

PIN

SN: 4381-UP

2шт.

9

236-54-22480

SPRING

SN: 4381-UP

1шт.

10

236-54-22490

SPRING

SN: 4381-UP

1шт.

11

232-57-51150

LEVER

SN: 6049-UP

1шт.

|11

236-54-22410

LEVER

SN: 4381-6048

1шт.

12

04205-10830

PIN

SN: 4381-UP

1шт.

13

01641-20608

WASHER

SN: 4381-UP

2шт.

14

04050-11610

PIN

SN: 4381-UP

1шт.

15

04205-10630

PIN

SN: 4381-UP

1шт.

16

01641-20812

WASHER

SN: 4381-UP

1шт.

17

04050-12012

PIN

SN: 4381-UP

1шт.

18

236-54-22430

PIN

SN: 4381-UP

1шт.

19

236-54-22420

PLATE

SN: 4381-UP

1шт.

20

236-54-22470

SPRING

SN: 4381-UP

1шт.

21

01220-40410

SCREW

SN: 4381-UP

4шт.

22

01601-20410

WASHER

SN: 4381-UP

4шт.

23

09304-00835

KNOB

SN: 4381-UP

3шт.

24

237-54-14152

CUSHION

SN: 6049-UP

1шт.

|24

237-54-14151

CUSHION

SN: 5401-6048

1шт.

|24

237-54-14150

CUSHION

SN: 5204-5400

1шт.

|24

236-54-22650

CUSHION

SN: 4381-5203

1шт.

25

236-54-22380

PLATE

SN: 4381-5184

4шт.

26

01010-50620

BOLT

SN: 4381-UP

8шт.

27

01602-20619

WASHER

SN: 4381-UP

8шт.

28

236-54-22370

PLATE

SN: 4381-5184

1шт.

|29

236-54-00030

CASE ASS'Y,L.H.

SN: 4381-UP

1шт.

|29

236-54-00040

CASE ASS'Y,R.H.

SN: 4381-UP

1шт.

29

236-54-22331

ADJUSTER ASS'Y

SN: 6049-UP

1шт.

|29

236-54-22330

CASE

SN: 4381-6048

1шт.

30

236-54-22351

ADJUSTER ASS'Y

SN: 6049-UP

1шт.

|30

236-54-22350

ADJUSTER

SN: 4381-6048

1шт.

31

236-54-22450

PIN

SN: 4381-6048

2шт.

32

236-54-22440

ROLLER

SN: 4381-6048

2шт.

33

236-54-22390

LEVER

SN: 4381-6048

1шт.

34

04205-10616

PIN

SN: 4381-6048

1шт.

35

01641-20608

WASHER

SN: 4381-6048

1шт.

36

04050-11610

PIN

SN: 4381-6048

1шт.

37

236-54-22460

SPRING

SN: 4381-6048

1шт.

38

236-54-22340

CASE

SN: 4381-6048

1шт.

39

236-54-22360

CASE

SN: 4381-6048

1шт.

40

01220-40840

SCREW

SN: 6049-UP

4шт.

|40

01010-50810

BOLT

SN: 4381-6048

4шт.

41

01602-20825

WASHER

SN: 4381-UP

4шт.

42

01010-50816

BOLT

SN: 4381-UP

4шт.

43

01602-20825

WASHER

SN: 4381-UP

4шт.

44

01580-10806

NUT

SN: 4381-UP

4шт.

45

236-54-22590

SPRING

SN: 4381-UP

1шт.

46

236-54-22580

BOLT

SN: 4381-UP

1шт.

47

01640-21626

WASHER

SN: 4381-UP

1шт.

48

232-57-51170

STAND

SN: 6049-UP

1шт.

|48

236-54-22510

STAND

SN: 4381-6048

1шт.

49

236-54-22540

LEVER

SN: 4381-UP

1шт.

50

236-54-22550

PIN

SN: 4381-UP

1шт.

51

01641-20812

WASHER

SN: 4381-UP

1шт.

52

04050-12012

PIN

SN: 4381-UP

1шт.

53

236-54-22520

PIN

SN: 4381-UP

1шт.

54

04205-10630

PIN

SN: 4381-UP

1шт.

55

01641-20608

WASHER

SN: 4381-UP

1шт.

56

04050-11610

PIN

SN: 4381-UP

1шт.

57

236-54-22530

SPRING

SN: 4381-UP

1шт.

58

236-54-22560

PLATE

SN: 4381-UP

1шт.

59

236-54-22570

PIN

SN: 4381-UP

2шт.

60

01641-20508

WASHER

SN: 4381-UP

2шт.

61

04050-11208

PIN

SN: 4381-UP

2шт.

Выбрано товаров: 82