Запчасти Komatsu GD37-6H АКСЕЛЕРАТОР РЫЧАГ (/)(№7-) КОМПОНЕНТЫ ДВИГАТЕЛЯ И ЭЛЕКТРИКА

Схема запчастей Komatsu GD37-6H - АКСЕЛЕРАТОР РЫЧАГ (/)(№7-) КОМПОНЕНТЫ ДВИГАТЕЛЯ И ЭЛЕКТРИКА
FIT
1:1
100%

Артикул

Название

Примечание

Количество

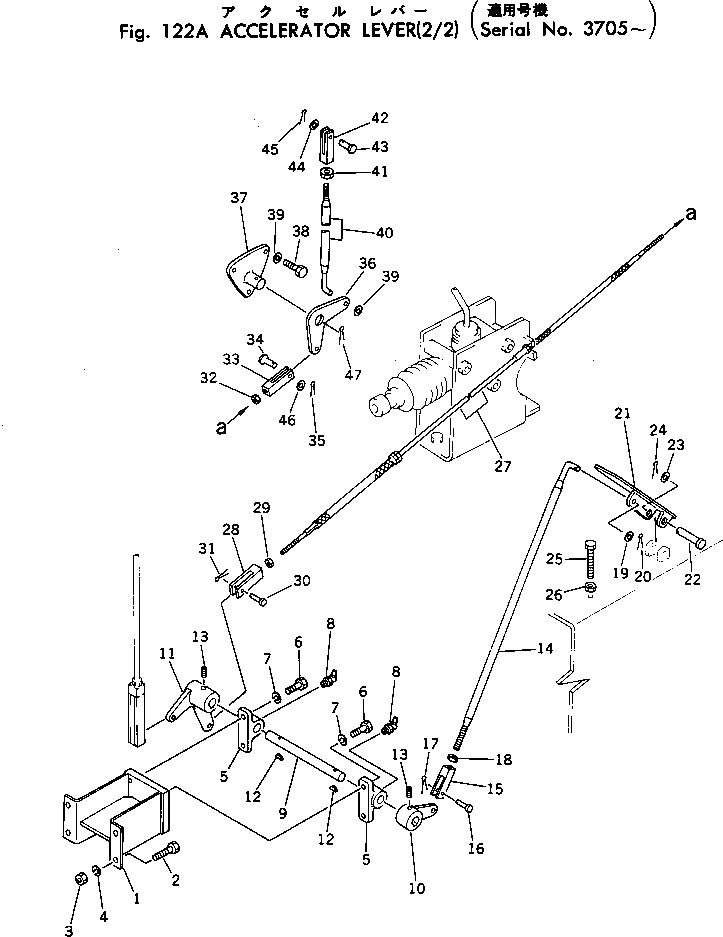
1

232-43-12233

BRACKET

SN: 3777-UP

1шт.

|1

232-43-12232

BRACKET

SN: 3705-3776

1шт.

2

01010-51030

BOLT

SN: 3705-UP

4шт.

3

01580-11008

NUT

SN: 3705-UP

4шт.

4

01602-21030

WASHER

SN: 3705-UP

4шт.

5

232-43-12240

BLOCK

SN: 3705-UP

2шт.

6

01010-50825

BOLT

SN: 3705-UP

4шт.

7

01602-20825

WASHER

SN: 3705-UP

4шт.

8

07020-00675

FITTING

SN: 3705-UP

2шт.

9

232-43-12263

SHAFT

SN: 3705-UP

1шт.

10

232-43-12282

LEVER

SN: 3705-UP

1шт.

11

232-43-12294

LEVER

SN: 3705-UP

1шт.

12

04010-00519

KEY

SN: 3705-UP

2шт.

13

232-43-12310

SCREW

SN: 3705-UP

2шт.

14

232-43-12325

ROD

SN: 3705-UP

1шт.

15

04211-20844

YOKE

SN: 3705-UP

1шт.

16

04205-10822

PIN

SN: 3705-UP

1шт.

17

04050-12012

PIN

SN: 3705-UP

1шт.

18

01580-10806

NUT

SN: 3705-UP

1шт.

19

01641-20812

WASHER

SN: 3705-UP

1шт.

20

04050-12012

PIN

SN: 3705-UP

1шт.

21

232-43-12490

PEDAL

SN: 3705-UP

1шт.

22

232-43-12510

PIN

SN: 3705-UP

1шт.

23

01641-21016

WASHER

SN: 3705-UP

1шт.

24

04050-13015

PIN

SN: 3705-UP

1шт.

25

01016-51090

BOLT

SN: 3705-UP

1шт.

26

01580-11008

NUT

SN: 3705-UP

1шт.

27

232-801-3450

CABLE

SN: 3705-UP

1шт.

28

232-43-12550

YOKE

SN: 3705-UP

1шт.

29

01580-10605

NUT

SN: 3705-UP

1шт.

30

04205-10822

PIN

SN: 3705-UP

1шт.

31

04050-12012

PIN

SN: 3705-UP

1шт.

32

01580-10605

NUT

SN: 3705-UP

1шт.

33

232-43-12550

YOKE

SN: 3705-UP

1шт.

34

04205-10828

PIN

SN: 3705-UP

1шт.

35

04050-12012

PIN

SN: 3705-UP

1шт.

36

232-801-1840

LEVER

SN: 3705-UP

1шт.

37

232-43-12330

SHAFT

SN: 3705-UP

1шт.

38

01010-51025

BOLT

SN: 3705-UP

3шт.

39

01602-21030

WASHER

SN: 3705-UP

3шт.

40

232-801-1192

ROD

SN: 3705-UP

1шт.

41

01580-10806

NUT

SN: 3705-UP

1шт.

42

04211-20844

YOKE

SN: 3705-UP

1шт.

43

04205-10825

PIN

SN: 3705-UP

1шт.

44

01641-20812

WASHER

SN: 3705-UP

1шт.

45

04050-12012

PIN

SN: 3705-UP

1шт.

46

01641-20812

WASHER

SN: 3705-UP

1шт.

47

04050-14040

PIN

SN: 3705-UP

1шт.

Выбрано товаров: 48