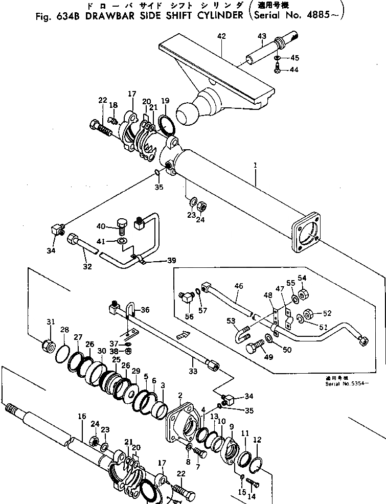
Запчасти Komatsu GD37-6H БОКОВ. СДВИГ СЦЕПН. УСТР-ВА ЦИЛИНДР(№88-) ГИДРАВЛИКА

Схема запчастей Komatsu GD37-6H - БОКОВ. СДВИГ СЦЕПН. УСТР-ВА ЦИЛИНДР(№88-) ГИДРАВЛИКА
FIT
1:1
100%

Артикул

Название

Примечание

Количество

|1

232-63-22005

CYLINDER ASS'Y

SN: 5354-UP

1шт.

|1

232-63-22004

CYLINDER ASS'Y

SN: 4885-5353

1шт.

1

232-63-22144

CYLINDER

SN: 5354-UP

1шт.

|1

232-63-22143

CYLINDER

SN: 4885-5353

1шт.

2

232-63-12130

HEAD

SN: 2591-UP

1шт.

3

07177-05030

BUSHING

SN: 2591-UP

1шт.

4

236-63-62173

PACKING (KIT)

SN: 2591-UP

1шт.

5

07000-12085

O-RING (KIT)

SN: 2591-UP

1шт.

6

07146-02086

RING (KIT)

SN: 2591-UP

1шт.

7

01010-31645

BOLT

SN: 2975-UP

4шт.

8

01602-01648

WASHER

SN: 2591-UP

4шт.

9

07178-05035

GLAND

SN: 2591-UP

1шт.

10

07177-05012

BUSHING

SN: 2591-UP

1шт.

11

07016-00507

SEAL (KIT)

SN: 2591-UP

1шт.

12

07179-00069

RING

SN: 2591-UP

1шт.

13

07000-03065

O-RING (KIT)

SN: 2591-UP

1шт.

14

01010-31240

BOLT

SN: 2975-UP

2шт.

15

01602-01236

WASHER

SN: 2591-UP

2шт.

16

232-63-22120

ROD

SN: 2591-UP

1шт.

|16

0

HEAD

SN: 2591-UP

1шт.

17

07138-00980

CAP

SN: 2591-UP

2шт.

18

07020-00900

FITTING

SN: 2591-UP

2шт.

19

232-63-12390

SEAL (KIT)

SN: 2591-UP

2шт.

20

07139-00902

SHIM¤ 0.2MM (KIT)

SN: 2591-UP

4шт.

21

07139-00905

SHIM¤ 0.5MM (KIT)

SN: 2591-UP

2шт.

22

01010-32075

BOLT

SN: 2975-UP

4шт.

23

01602-02060

WASHER

SN: 2591-UP

4шт.

24

01580-02016

NUT

SN: 2975-UP

4шт.

|25

232-61-00010

PISTON SUB ASS'Y

SN: 2591-UP

1шт.

25

232-63-12471

PISTON

SN: 3705-UP

1шт.

26

232-63-12451

PACKING

SN: 2591-UP

2шт.

27

232-63-12490

RETAINER

SN: 3705-UP

1шт.

28

112-63-79550

RING (KIT)

SN: 3705-UP

1шт.

29

232-63-12480

RETAINER

SN: 2591-UP

1шт.

30

07155-00925

RING (KIT)

SN: 2591-UP

1шт.

31

07165-12729

NUT

SN: 3705-UP

1шт.

32

232-63-22192

TUBE

SN: 4885-5353

1шт.

33

232-63-22290

TUBE

SN: 4885-5353

1шт.

34

07235-10422

ELBOW

SN: 4885-UP

2шт.

35

07002-12034

O-RING (KIT)

SN: 2591-UP

2шт.

36

07283-22236

CLIP

SN: 4885-5353

1шт.

37

01643-01032

WASHER

SN: 2591-5353

2шт.

38

01599-01011

NUT

SN: 2975-5353

2шт.

39

07282-02288

CLAMP

SN: 4885-5353

1шт.

40

01010-51020

BOLT

SN: 4885-5353

2шт.

41

01602-21030

WASHER

SN: 4885-5353

2шт.

42

232-71-12312

BRACKET

SN: 2591-UP

1шт.

|42

232-71-12323

SHAFT (WELDED)

SN: 5005-UP

1шт.

|42

232-71-12322

SHAFT (WELDED)

SN: 2591-5004

1шт.

43

232-71-12331

PIN

SN: 2101-UP

1шт.

44

232-71-12341

BOLT

SN: 2975-UP

3шт.

45

01602-21030

WASHER

SN: 2101-UP

3шт.

46

232-60-14380

TUBE

SN: 5354-UP

1шт.

47

232-870-8320

BAND

SN: 5354-UP

1шт.

48

232-870-8330

BAND

SN: 5354-UP

1шт.

49

01010-50830

BOLT

SN: 5354-UP

2шт.

50

01643-30823

WASHER

SN: 5354-UP

4шт.

51

01602-20825

WASHER

SN: 5354-UP

2шт.

52

01580-10806

NUT

SN: 5354-UP

2шт.

53

07283-22236

CLIP

SN: 5354-UP

1шт.

54

01599-01011

NUT

SN: 5354-UP

2шт.

55

01643-31032

WASHER

SN: 5354-UP

2шт.

56

07235-10422

ELBOW

SN: 5354-UP

1шт.

57

07002-12034

O-RING

SN: 5354-UP

1шт.

Выбрано товаров: 64