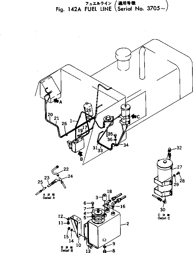
Запчасти Komatsu GD37-6H ТОПЛИВН. ЛИНИЯ(№7-) КОМПОНЕНТЫ ДВИГАТЕЛЯ И ЭЛЕКТРИКА

Схема запчастей Komatsu GD37-6H - ТОПЛИВН. ЛИНИЯ(№7-) КОМПОНЕНТЫ ДВИГАТЕЛЯ И ЭЛЕКТРИКА
FIT
1:1
100%

Артикул

Название

Примечание

Количество

1

02750-04060

HOSE

SN: .-UP

1шт.

|1

0

HOSE

SN: .-.

1шт.

2

234-01-11210

TANK

SN: 3513-UP

1шт.

3

6684-71-8911

BREATHER

SN: .-UP

1шт.

4

6610-71-8704

VALVE ASS'Y

SN: .-UP

1шт.

5

6610-71-8820

GASKET

SN: .-UP

1шт.

6

01010-50616

BOLT

SN: 2975-UP

8шт.

7

01602-20619

WASHER

SN: 2101-UP

8шт.

8

07040-11409

PLUG

SN: .-UP

1шт.

9

07002-11423

O-RING

SN: .-UP

1шт.

|9

07003-01419

GASKET

SN: .-.

1шт.

10

232-801-1280

BRACKET

SN: 2101-UP

2шт.

11

01010-51020

BOLT

SN: 2975-UP

4шт.

12

01602-21030

WASHER

SN: 2101-UP

4шт.

13

01010-51025

BOLT

SN: 2975-UP

4шт.

14

01602-21030

WASHER

SN: 2101-UP

4шт.

15

01580-11008

NUT

SN: 2975-UP

4шт.

16

6610-71-8490

ELBOW

SN: .-UP

1шт.

17

02750-04095

HOSE

SN: .-UP

1шт.

|17

0

HOSE

SN: .-.

1шт.

18

02700-31206

ELBOW

SN: .-UP

1шт.

19

6679-71-9412

HOSE

SN: .-UP

1шт.

20

232-801-1335

TUBE

SN: 3705-UP

1шт.

21

232-801-1325

TUBE

SN: 3705-UP

1шт.

22

232-801-1312

TUBE

SN: 3705-UP

1шт.

23

6610-81-3501

HAND PRIMER ASS'Y

SN: .-UP

1шт.

24

6610-81-3711

TEE

SN: .-UP

1шт.

25

6610-81-8820

ELBOW

SN: .-UP

1шт.

26

232-04-22130

CLIP

SN: 2101-UP

2шт.

27

6684-51-5000

BYPASS FILTER A.

SN: .-UP

1шт.

|27

6610-51-5000

BYPASS FILTER A.

SN: 2101-.

1шт.

28

01010-50816

BOLT

SN: 2975-UP

8шт.

29

01602-20825

WASHER

SN: 2101-UP

8шт.

30

6600-01-3242

ELBOW

SN: .-UP

1шт.

31

02750-03105

HOSE

SN: .-UP

1шт.

|31

0

HOSE

SN: .-.

1шт.

32

02701-31006

ELBOW

SN: .-UP

1шт.

33

6679-51-9312

HOSE

SN: .-UP

1шт.

34

232-04-22130

CLIP

SN: 2101-UP

1шт.

35

01010-51016

BOLT

SN: 2975-UP

1шт.

36

01602-21030

WASHER

SN: .-UP

1шт.

Выбрано товаров: 41