Запчасти Komatsu GD37-6H ГИДРОЦИЛИНДР ПОДЪЕМА ДЛЯ SNOW WING (OP)(№9-) ГИДРАВЛИКА

Схема запчастей Komatsu GD37-6H - ГИДРОЦИЛИНДР ПОДЪЕМА ДЛЯ SNOW WING (OP)(№9-) ГИДРАВЛИКА
FIT
1:1
100%

Артикул

Название

Примечание

Количество

|1

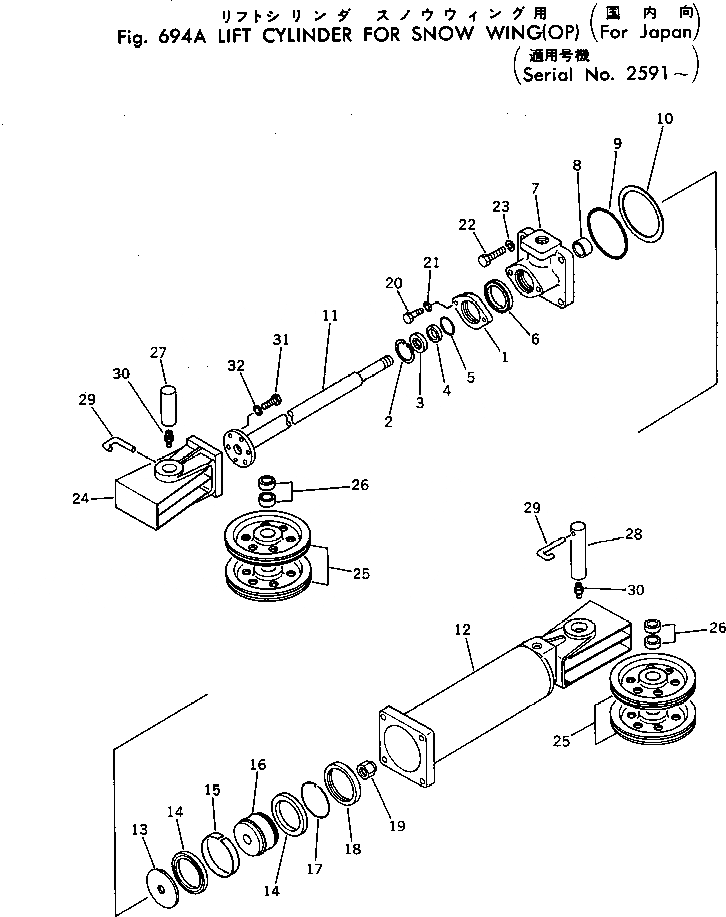
232-63-72100

CYLINDER ASS'Y

SN: 2591-UP

1шт.

1

07178-04035

GLAND

SN: 2591-UP

1шт.

2

07179-00059

RING

SN: 2591-UP

1шт.

3

07016-00407

SEAL

SN: 2591-UP

1шт.

4

07177-04012

BUSHING

SN: 2591-UP

1шт.

5

07000-13055

O-RING

SN: 2591-UP

1шт.

6

236-63-11170

U-PACKING

SN: 2591-UP

1шт.

7

232-63-72130

HEAD

SN: 2591-UP

1шт.

8

07177-04025

BUSHING

SN: 2591-UP

1шт.

9

07000-12085

O-RING

SN: 2591-UP

1шт.

10

07146-02086

RING

SN: 2591-UP

1шт.

11

232-63-72120

ROD

SN: 2591-UP

1шт.

12

232-63-72140

CYLINDER

SN: 2591-UP

1шт.

13

07159-00906

RETAINER

SN: 2591-UP

1шт.

14

07157-00907

PACKING

SN: 2591-UP

2шт.

15

07155-00925

RING

SN: 2591-UP

1шт.

16

07150-00927

PISTON

SN: 2591-UP

1шт.

17

07168-00924

STOPPER

SN: 2591-UP

1шт.

18

07160-00907

RETAINER

SN: 2591-UP

1шт.

19

07165-12729

NUT

SN: 2591-UP

1шт.

20

01010-31240

BOLT

SN: 2591-UP

2шт.

21

01602-01236

WASHER

SN: 2591-UP

2шт.

22

01010-31645

BOLT

SN: 2591-UP

4шт.

23

01602-01648

WASHER

SN: 2591-UP

4шт.

24

232-971-4130

BRACKET

SN: 2101-UP

1шт.

25

232-971-4140

PULLEY

SN: 2101-UP

4шт.

26

232-971-4150

BUSHING

SN: 2101-UP

4шт.

27

232-971-4160

SHAFT

SN: 2101-UP

1шт.

28

232-971-4170

SHAFT

SN: 2101-UP

1шт.

29

232-971-4180

PIN

SN: 2101-UP

2шт.

30

07020-00000

FITTING

SN: 2101-UP

2шт.

31

01010-51030

BOLT

SN: 2975-UP

6шт.

|31

01040-31030

BOLT

SN: 2101-2974

6шт.

32

01602-21030

WASHER

SN: 2591-UP

6шт.

Выбрано товаров: 34