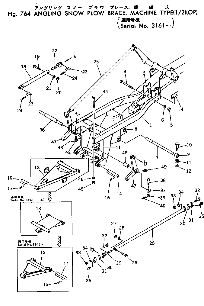
Запчасти Komatsu GD37-6H ПОВОРОТН. ОТВАЛ Д/СНЕГА БАЛКА (/) (OP) (MACHINE ТИП)(№-) РАБОЧЕЕ ОБОРУДОВАНИЕ

Схема запчастей Komatsu GD37-6H - ПОВОРОТН. ОТВАЛ Д/СНЕГА БАЛКА (/) (OP) (MACHINE ТИП)(№-) РАБОЧЕЕ ОБОРУДОВАНИЕ
FIT
1:1
100%

Артикул

Название

Примечание

Количество

1

232-970-1511

FRAME

SN: 3641-UP

1шт.

|1

232-970-1510

FRAME

SN: 3161-3640

1шт.

2

232-970-1931

BRACKET

SN: .-UP

1шт.

|2

232-979-3430

BRACKET

SN: 3161-.

1шт.

3

232-970-1941

BOLT

SN: 3161-UP

2шт.

4

232-970-1950

LOCK

SN: 3161-UP

2шт.

5

01580-12016

NUT

SN: 3161-UP

2шт.

6

01643-32060

WASHER

SN: .-UP

2шт.

|6

01602-22060

WASHER

SN: 3161-.

2шт.

7

232-970-1550

SHAFT

SN: 3161-UP

1шт.

8

232-970-1560

SPACER

SN: 3161-UP

2шт.

9

232-70-13210

COLLAR

SN: 3161-UP

2шт.

10

01013-51400

BOLT

SN: 3161-UP

2шт.

11

01590-11416

NUT

SN: 3161-UP

2шт.

12

04050-03028

PIN

SN: 3161-UP

2шт.

13

232-979-3174

ARM

SN: 3641-UP

1шт.

|13

232-979-3172

ARM

SN: 3398-3640

1шт.

|13

232-979-3170

ARM

SN: 3161-3397

1шт.

14

232-970-1521

PIN

SN: 3641-UP

2шт.

|14

232-970-1520

PIN

SN: 3161-3640

2шт.

15

04050-06060

PIN

SN: 3641-UP

4шт.

|15

04050-06060

PIN

SN: 3161-3640

2шт.

16

232-979-3250

SHAFT

SN: 3641-UP

1шт.

|16

232-970-1650

SHAFT

SN: 3161-3640

1шт.

17

04050-06060

PIN

SN: 3161-UP

2шт.

18

232-979-3240

ROD

SN: 3398-UP

1шт.

|18

232-970-1850

ROD

SN: 3161-3397

1шт.

19

01010-51680

BOLT

SN: 3161-UP

1шт.

20

01580-11613

NUT

SN: 3161-UP

1шт.

21

01602-21648

WASHER

SN: 3161-UP

1шт.

22

232-970-1820

JOINT

SN: 3161-UP

1шт.

23

232-970-1840

SHAFT

SN: 3161-UP

2шт.

24

04050-05040

PIN

SN: 3161-UP

4шт.

25

232-970-1810

ROD,L.H.

SN: 3161-UP

1шт.

|25

232-970-1860

ROD,R.H.

SN: 3161-UP

1шт.

26

01010-51680

BOLT

SN: 3161-UP

2шт.

27

01580-11613

NUT

SN: 3161-UP

2шт.

28

01602-21648

WASHER

SN: 3161-UP

2шт.

29

234-970-2150

JOINT ASS'Y

SN: 3161-UP

2шт.

30

232-71-11340

SHIM¤ 0.2MM

SN: 3161-UP

16шт.

31

232-71-11330

CAP

SN: 3161-UP

4шт.

32

01010-51665

BOLT

SN: 3161-UP

8шт.

33

01580-11613

NUT

SN: 3161-UP

8шт.

34

01602-21648

WASHER

SN: 3161-UP

8шт.

35

07020-00000

FITTING

SN: 3161-UP

4шт.

36

232-970-1531

SHAFT

SN: 3161-UP

1шт.

37

232-70-13210

COLLAR

SN: 3161-UP

2шт.

38

01013-51400

BOLT

SN: 3161-UP

2шт.

39

01590-11416

NUT

SN: 3161-UP

2шт.

40

04050-03028

PIN

SN: 3161-UP

2шт.

41

232-970-1620

BRACKET,L.H.

SN: 3161-UP

1шт.

|41

232-970-1632

BRACKET,R.H.

SN: 3161-UP

1шт.

42

232-970-1570

SCREW

SN: 3161-UP

1шт.

43

04059-01640

WIRE

SN: 3161-UP

1шт.

44

232-970-1641

BOLT

SN: 3161-UP

4шт.

45

01580-11613

NUT

SN: 3161-UP

4шт.

46

01602-21648

WASHER

SN: 3161-UP

4шт.

47

232-970-1910

ARM,L.H.

SN: 3161-UP

1шт.

|47

232-970-1920

ARM,R.H.

SN: 3161-UP

1шт.

48

232-970-1660

BUSHING

SN: 3161-UP

2шт.

49

07020-00000

FITTING

SN: 3161-UP

2шт.

Выбрано товаров: 61