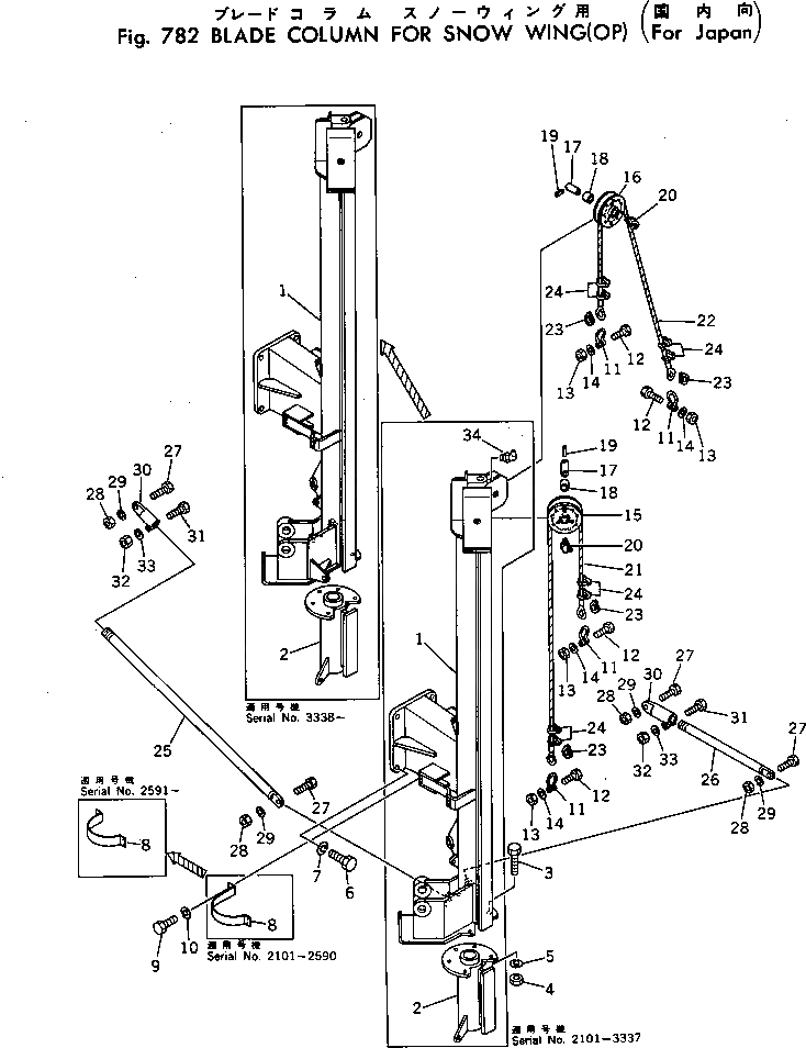
Запчасти Komatsu GD37-6H ОТВАЛ КОЛОНКА (ДЛЯ SNOW WING) (OP) (ДЛЯ ЯПОН.) РАБОЧЕЕ ОБОРУДОВАНИЕ

Схема запчастей Komatsu GD37-6H - ОТВАЛ КОЛОНКА (ДЛЯ SNOW WING) (OP) (ДЛЯ ЯПОН.) РАБОЧЕЕ ОБОРУДОВАНИЕ
FIT
1:1
100%

Артикул

Название

Примечание

Количество

1

232-971-6312

COLUMN

SN: 3338-UP

1шт.

|1

232-971-6311

COLUMN

SN: 2591-3337

1шт.

|1

232-971-6310

COLUMN

SN: 2101-2590

1шт.

2

232-971-6331

COLUMN

SN: 3338-UP

1шт.

|2

232-971-6330

COLUMN

SN: 2101-3337

1шт.

3

01010-51445

BOLT

SN: 2975-UP

5шт.

|3

01040-31445

BOLT

SN: 2101-2974

5шт.

4

01580-11411

NUT

SN: 2975-UP

5шт.

|4

01503-31411

NUT

SN: 2101-2974

5шт.

5

01602-21442

WASHER

SN: 2101-UP

5шт.

6

01010-52260

BOLT

SN: 2975-UP

4шт.

|6

01040-32260

BOLT

SN: 2101-2974

4шт.

7

01602-22268

WASHER

SN: 2101-UP

4шт.

8

232-971-6341

BRACKET

SN: 2591-UP

2шт.

|8

232-971-6340

BRACKET

SN: 2101-2590

2шт.

9

01010-51235

BOLT

SN: 2975-UP

8шт.

|9

01040-31235

BOLT

SN: 2101-2974

8шт.

10

01602-21236

WASHER

SN: 2101-UP

8шт.

11

232-971-6190

SHACKLE

SN: 2101-UP

4шт.

12

01010-51680

BOLT

SN: 2975-UP

4шт.

|12

01000-31680

BOLT

SN: 2101-2974

4шт.

13

01580-11613

NUT

SN: 2975-UP

4шт.

|13

01500-31613

NUT

SN: 2101-2974

4шт.

14

01640-21626

WASHER

SN: 2101-UP

4шт.

15

232-971-4140

PULLEY

SN: 2101-UP

1шт.

16

232-971-6210

PULLEY

SN: 2101-UP

1шт.

17

232-971-6350

SHAFT

SN: 2101-UP

2шт.

18

232-971-4150

BUSHING

SN: 2101-UP

2шт.

19

04025-00640

PIN

SN: 2101-UP

2шт.

20

07020-00900

FITTING

SN: 2101-UP

2шт.

21

232-971-6361

ROPE

SN: 2387-UP

1шт.

|21

232-971-6360

ROPE

SN: 2101-2386

1шт.

22

232-971-6371

ROPE

SN: 2387-UP

1шт.

|22

232-971-6370

ROPE

SN: 2101-2386

1шт.

23

232-971-6270

LOCK

SN: 2101-UP

4шт.

24

232-971-6260

CLIP

SN: 2101-UP

8шт.

25

232-971-6380

ROD

SN: 2101-UP

1шт.

26

232-971-6390

ROD

SN: 2101-UP

1шт.

27

01010-82465

BOLT

SN: 2975-UP

4шт.

|27

01000-62465

BOLT

SN: 2101-2974

4шт.

28

01580-12419

NUT

SN: 2975-UP

4шт.

|28

01500-32418

NUT

SN: 2101-2974

4шт.

29

01602-22472

WASHER

SN: .-UP

4шт.

|29

01602-02472

WASHER

SN: 2101-.

4шт.

30

232-971-6411

END

SN: 2101-UP

2шт.

31

01010-51480

BOLT

SN: 2975-UP

2шт.

|31

01000-31480

BOLT

SN: 2101-2974

2шт.

32

01580-11411

NUT

SN: 2975-UP

2шт.

|32

01500-01411

NUT

SN: 2101-2974

2шт.

33

01602-21442

WASHER

SN: 2101-UP

2шт.

34

07020-00900

FITTING

SN: 2101-UP

2шт.

Выбрано товаров: 51