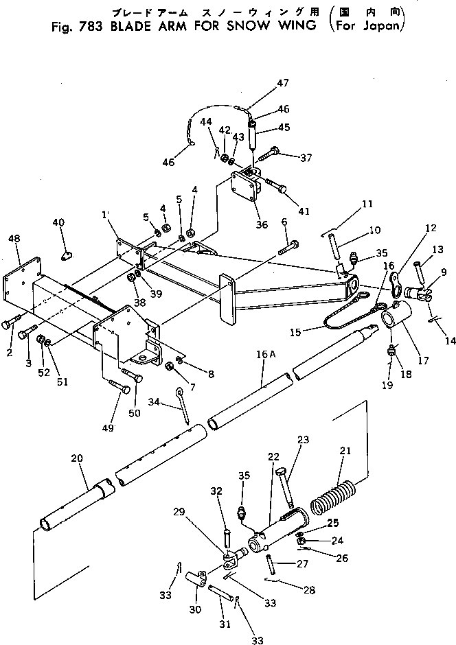
Запчасти Komatsu GD37-6H ОТВАЛ РУКОЯТЬ (ДЛЯ SNOW WING) (OP) (ДЛЯ ЯПОН.) РАБОЧЕЕ ОБОРУДОВАНИЕ

Схема запчастей Komatsu GD37-6H - ОТВАЛ РУКОЯТЬ (ДЛЯ SNOW WING) (OP) (ДЛЯ ЯПОН.) РАБОЧЕЕ ОБОРУДОВАНИЕ
FIT
1:1
100%

Артикул

Название

Примечание

Количество

1

232-971-6511

FRAME

SN: 2101-UP

1шт.

2

01010-51665

BOLT

SN: 2975-UP

3шт.

|2

01000-31665

BOLT

SN: 2101-2974

3шт.

3

01010-51670

BOLT

SN: 2975-UP

1шт.

|3

01000-31670

BOLT

SN: 2101-2974

1шт.

4

01580-11613

NUT

SN: 2975-UP

4шт.

|4

01500-01613

NUT

SN: 2101-2974

4шт.

5

01602-21648

WASHER

SN: 2101-UP

4шт.

6

01010-82490

BOLT

SN: 2975-UP

2шт.

|6

01000-62490

BOLT

SN: 2101-2974

2шт.

7

01580-12419

NUT

SN: 2975-UP

2шт.

|7

01500-02418

NUT

SN: 2101-2974

2шт.

8

01602-22472

WASHER

SN: 2101-UP

2шт.

9

232-971-6530

YOKE

SN: 3705-UP

1шт.

|9

232-971-6531

YOKE

SN: 2591-3704

1шт.

|9

232-971-6530

YOKE

SN: 2101-2590

1шт.

10

232-971-6540

PIN

SN: 2101-UP

2шт.

11

232-971-6550

LOCK

SN: 2101-UP

2шт.

12

232-971-6560

PLATE

SN: 3705-UP

1шт.

|12

232-971-6560

PLATE

SN: 2101-2590

1шт.

13

232-971-6570

PIN

SN: 3705-UP

1шт.

|13

232-971-6571

PIN

SN: 2591-3704

1шт.

|13

232-971-6570

PIN

SN: 2101-2590

1шт.

14

04050-15030

PIN

SN: 3705-UP

1шт.

|14

04050-03018

PIN

SN: 2101-3704

1шт.

15

232-971-6580

ROPE

SN: 3705-UP

1шт.

|15

232-971-6580

ROPE

SN: 2101-3704

1шт.

16

232-971-6260

CLIP

SN: 3705-UP

2шт.

|16

232-971-6260

CLIP

SN: 2101-3704

2шт.

16A

232-971-5411

SHAFT

SN: 3705-UP

1шт.

|16A

232-971-5410

SHAFT

SN: 2591-3704

1шт.

|16A

232-971-6590

SHAFT

SN: 2101-2590

1шт.

17

232-971-6610

LOCK

SN: 3705-UP

1шт.

|17

232-971-6610

LOCK

SN: 2101-3704

1шт.

18

01050-51035

BOLT

SN: 3705-UP

2шт.

|18

01014-31020

BOLT

SN: 2101-3704

2шт.

19

01582-11008

NUT

SN: 3705-UP

2шт.

|19

04059-01010

WIRE

SN: 2101-3704

1шт.

20

232-971-6620

SHAFT

SN: 2101-UP

1шт.

21

232-971-6630

SPRING

SN: 2101-UP

1шт.

22

232-971-6640

BRACE

SN: 2101-UP

1шт.

23

232-971-6651

BOLT

SN: 2975-UP

1шт.

|23

232-971-6650

BOLT

SN: 2101-2974

1шт.

24

01590-11416

NUT

SN: 2975-UP

1шт.

|24

01511-01411

NUT

SN: 2101-2974

1шт.

25

01641-21423

WASHER

SN: .-UP

1шт.

|25

01641-01423

WASHER

SN: 2101-.

1шт.

26

04050-13028

PIN

SN: 2101-UP

1шт.

27

232-971-6660

PIN

SN: 2101-UP

2шт.

28

232-971-6730

LOCK

SN: 2101-UP

2шт.

29

232-971-6670

YOKE

SN: 2101-UP

1шт.

30

232-971-6680

JOINT

SN: 2101-UP

1шт.

31

232-971-6690

PIN

SN: 2101-UP

1шт.

32

232-971-6710

PIN

SN: 2101-UP

1шт.

33

04050-15050

PIN

SN: 2101-UP

3шт.

34

232-971-6720

PIN

SN: 2101-UP

1шт.

35

07020-00000

FITTING

SN: 2101-UP

2шт.

36

232-971-6750

DRAWBAR

SN: 2101-UP

1шт.

37

01010-51665

BOLT

SN: 2975-UP

4шт.

|37

01000-31665

BOLT

SN: 2101-2974

4шт.

38

01580-11613

NUT

SN: 2975-UP

4шт.

|38

01500-01613

NUT

SN: 2101-2974

4шт.

39

01602-21648

WASHER

SN: 2101-UP

4шт.

40

232-46-11590

HOOK

SN: 2101-UP

1шт.

41

01012-50845

BOLT

SN: 2975-UP

1шт.

|41

01002-30845

BOLT

SN: 2101-2974

1шт.

42

01590-10809

NUT

SN: 2975-UP

1шт.

|42

01511-00808

NUT

SN: 2101-2974

1шт.

43

01640-20816

WASHER

SN: 2101-UP

1шт.

44

04050-12015

PIN

SN: 2101-UP

1шт.

45

232-971-6760

PIN

SN: 2101-UP

1шт.

46

232-971-6770

RING

SN: 2101-UP

2шт.

47

232-971-6780

CHAIN

SN: 2101-UP

1шт.

48

232-971-6813

BOX

SN: 2387-UP

1шт.

|48

232-971-6812

BOX

SN: 2101-2386

1шт.

49

01000-31685

BOLT

SN: 2101-2386

4шт.

50

01000-31660

BOLT

SN: 2101-2386

8шт.

51

01602-01648

WASHER

SN: 2101-2386

12шт.

52

01500-01613

NUT

SN: 2101-2386

12шт.

Выбрано товаров: 79