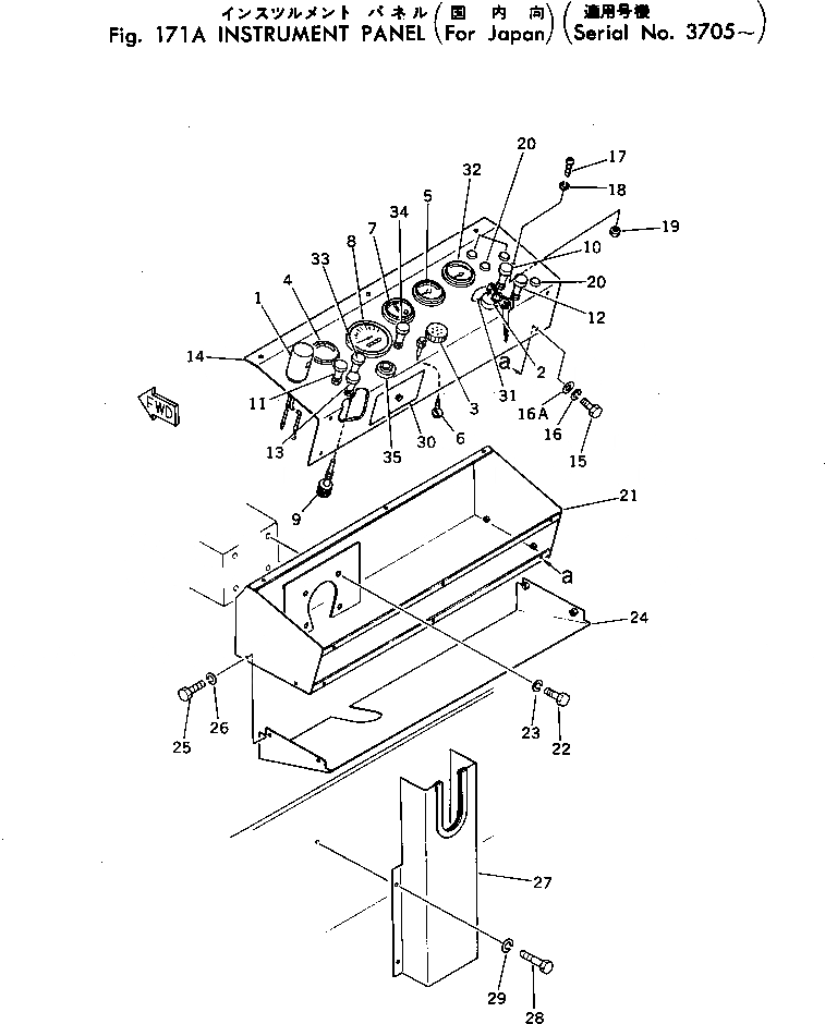
Запчасти Komatsu GD37-6H ПАНЕЛЬ ПРИБОРОВ (ДЛЯ ЯПОН.)(№7-) КОМПОНЕНТЫ ДВИГАТЕЛЯ И ЭЛЕКТРИКА

Схема запчастей Komatsu GD37-6H - ПАНЕЛЬ ПРИБОРОВ (ДЛЯ ЯПОН.)(№7-) КОМПОНЕНТЫ ДВИГАТЕЛЯ И ЭЛЕКТРИКА
FIT
1:1
100%

Артикул

Название

Примечание

Количество

1

08144-02400

LAMP,PANEL

SN: 3705-UP

1шт.

2

08086-10000

SWITCH,STARTING

SN: 5965-UP

1шт.

|2

0

SWITCH,STARTING

SN: 3326-5964

1шт.

3

600-815-2210

SIGNAL

SN: 5603-UP

1шт.

|3

6610-81-4520

SIGNAL

SN: 2101-5602

1шт.

4

232-06-23121

GAUGE,WATER TEMPERATURE

SN: 2975-UP

1шт.

5

08631-02000

GAUGE,OIL PRESSURE

SN: 2975-UP

1шт.

6

232-801-1981

TUBE

SN: 3705-UP

1шт.

7

08601-43000

AMMETER

SN: .-UP

1шт.

|7

08601-13000

AMMETER

SN: .-.

1шт.

8

08602-00500

SPEEDOMETER

SN: 2975-UP

1шт.

|8

08111-02430

BULB¤ 3W

SN: 2101-UP

1шт.

9

08603-00023

CABLE

SN: 2771-UP

1шт.

10

236-06-23310

SWITCH,HEAD LAMP

SN: 4435-UP

1шт.

|10

0

SWITCH,HEAD LAMP

SN: 3705-4434

1шт.

11

236-06-23320

SWITCH,WORK LAMP

SN: 4435-UP

1шт.

|11

0

SWITCH,WORK LAMP

SN: 3705-4434

1шт.

12

236-06-23330

SWITCH,PARKING LAMP

SN: 4435-UP

1шт.

|12

0

SWITCH,PARKING LAMP

SN: 3705-4434

1шт.

13

236-06-23350

SWITCH,BEACON LAMP

SN: 4435-UP

1шт.

|13

0

SWITCH,BEACON LAMP

SN: 3705-4434

1шт.

14

232-801-3363

PANEL

SN: 6061-UP

1шт.

|14

232-801-3362

PANEL

SN: .-6060

1шт.

|14

232-801-3361

PANEL

SN: 5603-.

1шт.

|14

232-801-3360

PANEL

SN: 4435-5602

1шт.

15

01010-50610

BOLT

SN: 3705-UP

7шт.

16

01602-20619

WASHER

SN: 3705-UP

7шт.

16A

01640-20610

WASHER

SN: 4837-UP

7шт.

17

01210-40412

SCREW

SN: 3705-UP

1шт.

18

01601-20410

WASHER

SN: 3705-UP

1шт.

19

01580-10403

NUT

SN: 3705-UP

1шт.

20

130-911-1640

PLUG

SN: 3705-UP

4шт.

21

232-06-15470

BRACKET

SN: 3705-UP

1шт.

22

01010-51016

BOLT

SN: 3705-UP

4шт.

23

01602-21030

WASHER

SN: 3705-UP

4шт.

24

232-06-15480

COVER

SN: 3705-UP

1шт.

25

01010-50616

BOLT

SN: 4741-UP

4шт.

|25

0

BOLT

SN: 3705-4740

4шт.

26

01602-20619

WASHER

SN: 3705-UP

4шт.

27

232-06-15490

COVER

SN: 3705-UP

1шт.

28

01010-50616

BOLT

SN: 3705-UP

4шт.

29

01602-20619

WASHER

SN: 3705-UP

4шт.

30

08043-16000

BOX

SN: 2975-UP

1шт.

|30

08040-01000

FUSE¤ 10A

SN: 3326-UP

6шт.

31

130-06-12140

PLATE¤ OPERATING

SN: 2101-UP

1шт.

32

08632-02000

GAUGE,FUEL

SN: 2975-UP

1шт.

33

600-815-1170

BREAKER

SN: 3191-5602

1шт.

34

236-06-23340

SWITCH,GLOW

SN: 4435-UP

1шт.

|34

0

SWITCH,GLOW

SN: 3705-4434

1шт.

35

08147-32400

LAMP,BRAKE

SN: 4503-UP

1шт.

Выбрано товаров: 0