Запчасти Komatsu GD37-6H СТАЛЬНАЯ КАБИНА РАМА И ЭЛЕКТРОПРОВОДКА DIAGRAM (ДЛЯ ЯПОН.)(№-) ОПЦИОННЫЕ КОМПОНЕНТЫ

Схема запчастей Komatsu GD37-6H - СТАЛЬНАЯ КАБИНА РАМА И ЭЛЕКТРОПРОВОДКА DIAGRAM (ДЛЯ ЯПОН.)(№-) ОПЦИОННЫЕ КОМПОНЕНТЫ
FIT
1:1
100%

Артикул

Название

Примечание

Количество

|1

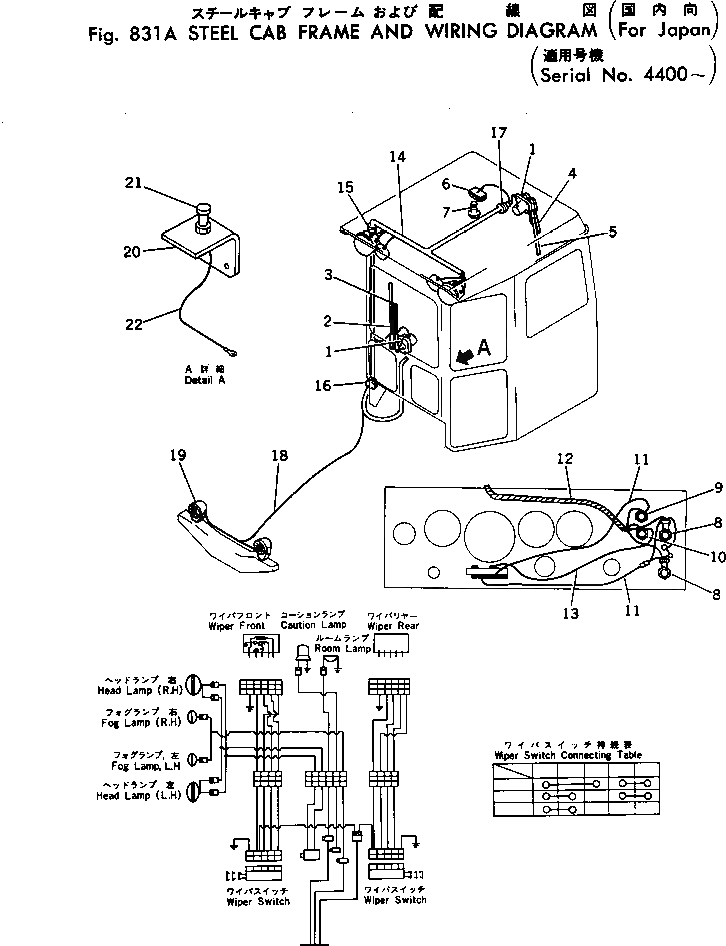
232-855-0026

CAB ASS'Y

SN: 4400-UP

1шт.

1

08181-02490

WIPER MOTOR ASS'Y

SN: 4400-UP

2шт.

2

08184-10500

ARM

SN: 4400-UP

1шт.

3

08185-10400

BLADE

SN: 4400-UP

1шт.

4

08184-10400

ARM

SN: 4400-UP

1шт.

5

08185-00350

BLADE

SN: 4400-UP

1шт.

6

08140-02400

LAMP,ROOM

SN: 4400-UP

1шт.

7

01380-00416

SCREW

SN: 4400-UP

2шт.

8

08182-00000

SWITCH,WIPER

SN: 4400-UP

2шт.

9

236-06-23360

SWITCH,ROOM LAMP

SN: 4400-UP

1шт.

10

236-06-23370

SWITCH,FOG LAMP

SN: 4400-UP

1шт.

11

232-55-11772

CABLE

SN: 4400-UP

2шт.

12

232-855-8561

HARNESS

SN: 4400-UP

1шт.

13

232-855-2260

CABLE

SN: 4400-UP

1шт.

14

232-855-2140

HARNESS

SN: 4400-UP

1шт.

15

232-855-8280

GROMMET

SN: 4400-UP

2шт.

16

08037-01610

GROMMET

SN: 4400-UP

3шт.

17

08037-01008

GROMMET

SN: 4400-UP

8шт.

18

232-855-2270

CABLE

SN: 4400-UP

1шт.

19

232-855-1520

LAMP,FOG

SN: .-UP

2шт.

|19

08127-02400

LAMP,FOG

SN: 4400-.

2шт.

20

232-807-3150

PLATE (OP)

SN: 2387-UP

1шт.

21

232-807-3160

SWITCH,HEAT GLASS (OP)

SN: 2387-UP

1шт.

22

232-807-3130

CABLE (OP)

SN: 2387-UP

1шт.

Выбрано товаров: 24