Запчасти Komatsu GD37-6H МАСЛ. STOVE(№7-) ОПЦИОННЫЕ КОМПОНЕНТЫ

Схема запчастей Komatsu GD37-6H - МАСЛ. STOVE(№7-) ОПЦИОННЫЕ КОМПОНЕНТЫ
FIT
1:1
100%

Артикул

Название

Примечание

Количество

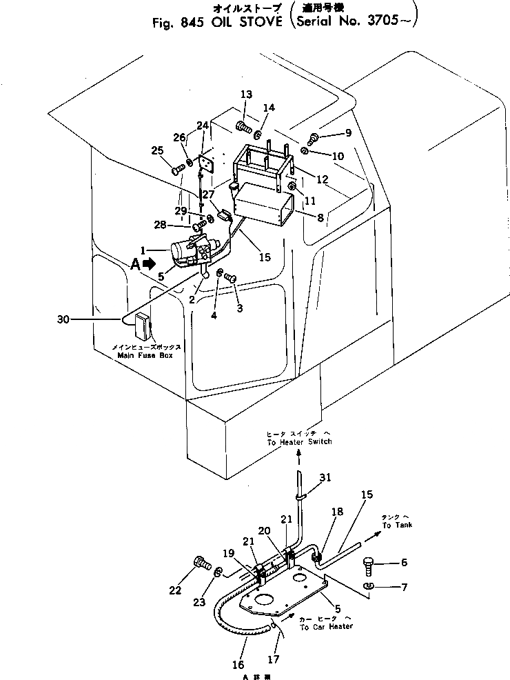
1

232-807-6511

HEATER

SN: 3705-UP

1шт.

2

234-807-2230

TUBE

SN: 3705-UP

1шт.

3

01220-40408

SCREW

SN: 3705-UP

2шт.

4

01601-20410

WASHER

SN: 3705-UP

2шт.

5

232-807-6570

PLATE

SN: 3705-UP

1шт.

6

01010-51020

BOLT

SN: 3705-UP

3шт.

7

01602-21030

WASHER

SN: 3705-UP

3шт.

8

140-924-2110

RESERVOIR

SN: 3705-UP

1шт.

9

01010-50612

BOLT

SN: 3705-UP

8шт.

10

01602-20619

WASHER

SN: 3705-UP

8шт.

11

01580-10605

NUT

SN: 3705-UP

8шт.

12

232-807-6590

BRACKET

SN: 3705-UP

1шт.

13

01010-51025

BOLT

SN: 3705-UP

4шт.

14

01602-21030

WASHER

SN: 3705-UP

4шт.

15

232-807-6720

TUBE

SN: 3705-UP

1шт.

16

07270-10750

TUBE

SN: 3705-UP

1шт.

17

04059-01010

WIRE

SN: 3705-UP

2шт.

18

08037-02512

GROMMET

SN: 3705-UP

1шт.

19

08036-31210

CLIP

SN: 3705-UP

1шт.

20

08036-30610

CLIP

SN: 3705-UP

1шт.

21

08036-30810

CLIP

SN: 3705-UP

2шт.

22

01010-50820

BOLT

SN: 3705-UP

2шт.

23

01602-20825

WASHER

SN: 3705-UP

2шт.

24

232-807-6640

SWITCH

SN: 3705-UP

1шт.

25

01220-40408

SCREW

SN: 3705-UP

4шт.

26

01601-20410

WASHER

SN: 3705-UP

4шт.

27

232-807-9610

BOX

SN: 3705-UP

1шт.

28

01220-40406

SCREW

SN: 3705-UP

4шт.

29

01601-20410

WASHER

SN: 3705-UP

4шт.

30

232-807-6650

CABLE

SN: 3705-UP

1шт.

31

08035-30814

CLIP

SN: 3705-UP

2шт.

Выбрано товаров: 0