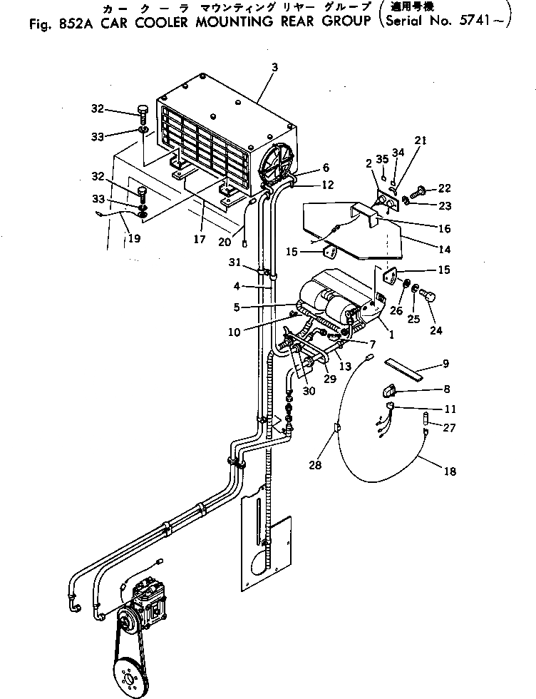
Запчасти Komatsu GD37-6H CAR ОХЛАДИТЕЛЬ КРЕПЛЕНИЕ ЗАДН. ГРУППА(№7-) ОПЦИОННЫЕ КОМПОНЕНТЫ

Схема запчастей Komatsu GD37-6H - CAR ОХЛАДИТЕЛЬ КРЕПЛЕНИЕ ЗАДН. ГРУППА(№7-) ОПЦИОННЫЕ КОМПОНЕНТЫ
FIT
1:1
100%

Артикул

Название

Примечание

Количество

1

232-809-2200

COOLING UNIT

SN: 4482-UP

1шт.

2

232-809-1680

PANEL

SN: 5741-UP

1шт.

3

232-809-2400

CONDENSER UNIT

SN: 5741-UP

1шт.

4

232-809-3250

HOSE

SN: 5764-UP

1шт.

|4

0

HOSE

SN: 5741-5763

1шт.

5

232-809-1510

HOSE

SN: 5741-UP

1шт.

6

232-809-1790

NIPPLE

SN: 5741-5763

2шт.

7

232-809-1660

ELBOW

SN: 5741-UP

1шт.

8

232-809-1590

RELAY

SN: 5741-UP

1шт.

9

232-809-1570

TAPE

SN: 5741-UP

3шт.

10

232-809-1690

HARNESS

SN: 5741-UP

1шт.

11

232-809-1610

HARNESS

SN: 5741-UP

1шт.

12

232-809-1760

CLAMP

SN: 5741-UP

4шт.

13

232-809-3240

HOSE

SN: 5764-UP

1шт.

|13

0

HOSE

SN: 5741-5763

1шт.

|14

232-809-1410

PANEL

SN: 5741-UP

1шт.

14

232-809-1350

PLATE

SN: 5741-UP

1шт.

15

232-809-1340

PLATE (WELDED)

SN: 5741-UP

2шт.

16

232-809-1330

BRACKET (WELDED)

SN: 5741-UP

1шт.

|17

232-809-2120

ROOF

SN: 5741-UP

1шт.

17

232-809-1391

PLATE (WELDED)

SN: 5741-UP

2шт.

18

232-809-1290

CABLE

SN: 5741-UP

1шт.

19

232-809-1950

CABLE

SN: 5741-UP

1шт.

20

232-809-1970

CABLE

SN: 5741-UP

1шт.

21

232-809-2150

PLATE

SN: 5741-UP

1шт.

22

01220-40410

SCREW

SN: 5741-UP

2шт.

23

01602-20410

WASHER

SN: 5741-UP

2шт.

24

01010-50816

BOLT

SN: 5741-UP

4шт.

25

01602-20825

WASHER

SN: 5741-UP

4шт.

26

01640-20816

WASHER

SN: 5741-UP

4шт.

27

08040-02000

FUSE¤ 20A

SN: 5741-UP

1шт.

28

232-856-5250

CLIP

SN: 5741-UP

5шт.

29

08034-00834

BAND

SN: 5741-UP

4шт.

30

08037-02512

GROMMET

SN: 5741-UP

5шт.

31

08036-02514

CLIP

SN: 5741-UP

9шт.

32

01010-50820

BOLT

SN: 5741-UP

4шт.

33

01602-20825

WASHER

SN: 5741-UP

4шт.

34

232-809-2160

PLATE

SN: 5741-UP

1шт.

35

232-809-2170

PLATE

SN: 5741-UP

1шт.

Выбрано товаров: 39