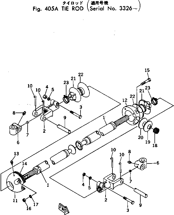
Запчасти Komatsu GD37-6H ПОПЕРЕЧНАЯ РУЛЕВ. ТЯГА(№-) СИСТЕМАУПРАВЛЕНИЯ ПОВОРОТОМ

Схема запчастей Komatsu GD37-6H - ПОПЕРЕЧНАЯ РУЛЕВ. ТЯГА(№-) СИСТЕМАУПРАВЛЕНИЯ ПОВОРОТОМ
FIT
1:1
100%

Артикул

Название

Примечание

Количество

|1

232-40-00114

TIE ROD ASS'Y

SN: 3512-UP

1шт.

|1

232-40-00113

TIE ROD ASS'Y

SN: 3326-3511

1шт.

1

232-40-15117

ROD

SN: 4477-UP

2шт.

|1

0

ROD

SN: 3967-4476

2шт.

|1

0

ROD

SN: 3512-3968

2шт.

|1

232-40-15114

ROD

SN: 3326-3511

2шт.

2

232-40-15181

YOKE

SN: 3326-UP

2шт.

3

01010-51260

BOLT

SN: 3326-UP

2шт.

4

01580-11210

NUT

SN: 3326-UP

2шт.

5

01602-21236

WASHER

SN: 3326-UP

2шт.

6

232-40-15193

JOINT

SN: 4137-UP

2шт.

|6

0

JOINT

SN: 3326-4136

2шт.

7

07043-30108

PLUG

SN: 3326-4860

2шт.

8

07020-00900

FITTING

SN: 4861-UP

2шт.

|8

07020-00000

FITTING

SN: 3326-4860

2шт.

9

232-40-15211

PIN

SN: 3326-UP

2шт.

10

232-40-15220

PIN

SN: 3326-UP

4шт.

|11

232-40-00150

CAP ASS'Y

SN: 3326-UP

1шт.

11

0

CAP

SN: 3326-UP

1шт.

12

0

CAP

SN: 3326-UP

1шт.

13

07020-00000

FITTING

SN: 3326-UP

1шт.

14

231-40-05020

SHIM ASS'Y

SN: 3326-UP

4шт.

|14

232-40-15580

SHIM¤ 0.2MM

SN: 3326-UP

4шт.

|14

232-40-15590

SHIM¤ 0.1MM

SN: 3326-UP

2шт.

15

01010-51040

BOLT

SN: 3326-UP

4шт.

16

01580-11008

NUT

SN: 3326-UP

4шт.

17

01602-21030

WASHER

SN: 3326-UP

4шт.

18

232-40-15550

SPRING

SN: 3326-UP

1шт.

19

232-40-15570

FENDER

SN: 3326-UP

1шт.

20

232-40-15560

GASKET

SN: 3326-UP

1шт.

21

234-40-15192

COVER

SN: 3326-UP

2шт.

22

234-40-15182

PACKING

SN: 3326-UP

2шт.

23

07281-00609

CLAMP

SN: 4669-UP

2шт.

|23

0

CLAMP

SN: 3326-4668

2шт.

Выбрано товаров: 34