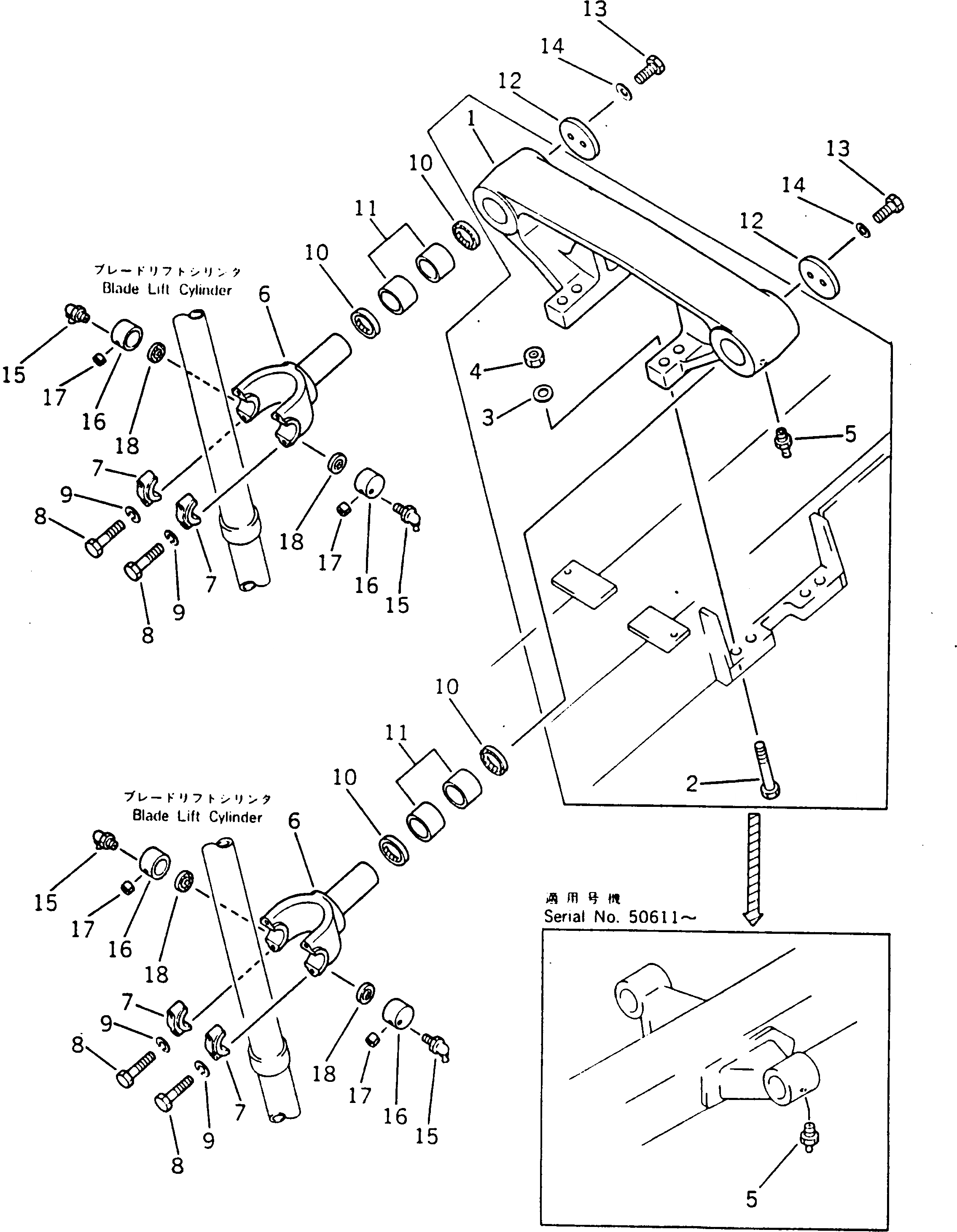
Запчасти Komatsu GD405A-1 ПОДЪЕМ ОТВАЛА РАБОЧЕЕ ОБОРУДОВАНИЕ

Схема запчастей Komatsu GD405A-1 - ПОДЪЕМ ОТВАЛА РАБОЧЕЕ ОБОРУДОВАНИЕ
FIT
1:1
100%

Артикул

Название

Примечание

Количество

1

233-70-24110

BRACKET

SN: 50002-50610

1шт.

2

01019-12035

BOLT

SN: 50002-50610

8шт.

3

01643-32060

WASHER

SN: 50002-50610

16шт.

4

01580-12016

NUT

SN: 50002-50610

8шт.

5

07020-00000

FITTING

SN: 50002-UP

2шт.

|$5

233-70-00200

YOKE ASS'Y

SN: 50002-UP

2шт.

6

0

YOKE

SN: 50002-UP

1шт.

7

0

CAP

SN: 50002-UP

2шт.

8

01010-51255

BOLT

SN: 50002-UP

8шт.

9

01602-21236

WASHER

SN: 50002-UP

8шт.

10

07145-00065

SEAL

SN: 50002-UP

4шт.

11

233-71-11441

BUSHING

SN: 50002-UP

4шт.

12

233-71-11522

HOLDER

SN: 50002-UP

2шт.

13

01010-51440

BOLT

SN: 50002-UP

4шт.

14

01643-31445

WASHER

SN: 50002-UP

4шт.

15

07020-00900

FITTING

SN: 50002-UP

4шт.

16

232-70-53140

BUSHING

SN: 50002-UP

4шт.

17

144-70-15251

PIN

SN: 50002-UP

4шт.

18

07145-00040

SEAL

SN: 50002-UP

4шт.

Выбрано товаров: 19