Запчасти Komatsu GD405A-1 ДВОРНИКИ ОПЦИОННЫЕ КОМПОНЕНТЫ

Схема запчастей Komatsu GD405A-1 - ДВОРНИКИ ОПЦИОННЫЕ КОМПОНЕНТЫ
FIT
1:1
100%

Артикул

Название

Примечание

Количество

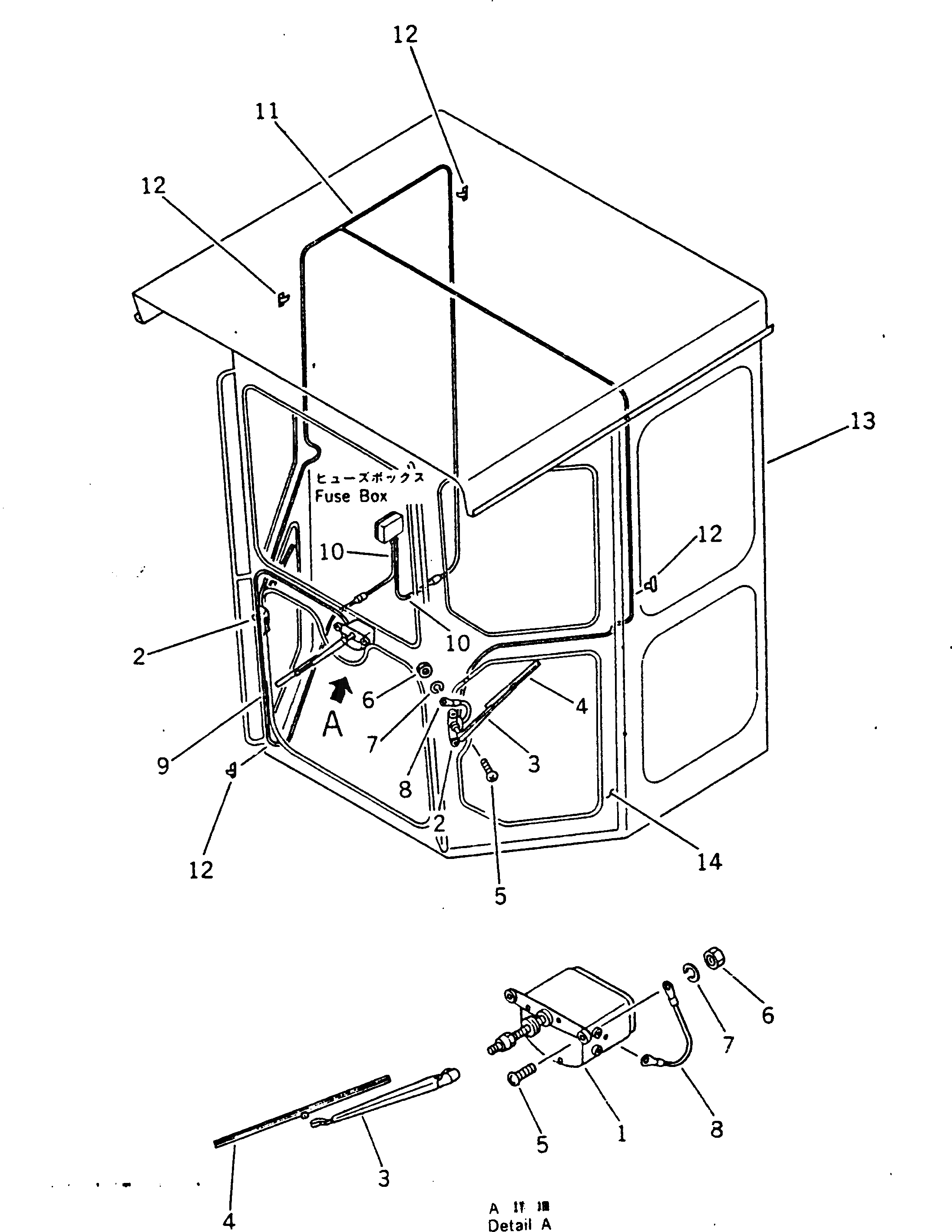
1

232-950-5410

MOTOR

SN: 50002-UP

1шт.

2

232-950-5510

WIPER

SN: 50002-UP

2шт.

3

232-950-5420

ARM

SN: 50002-UP

3шт.

4

232-950-5430

BLADE

SN: 50002-UP

3шт.

5

01220-40520

SCREW

SN: 50002-UP

6шт.

6

01580-10504

NUT

SN: 50002-UP

6шт.

7

01601-20513

WASHER

SN: 50002-UP

6шт.

8

232-855-8970

WIRE

SN: 50002-UP

2шт.

9

232-950-5450

CABLE

SN: 50002-UP

1шт.

10

232-950-5460

CABLE

SN: 50002-UP

2шт.

11

232-950-5540

CABLE

SN: 50002-UP

1шт.

12

232-856-5250

CLIP

SN: 50002-UP

30шт.

13

232-950-5440

CABIN,(MODIFIED PARTS)

SN: 50002-UP

1шт.

14

232-950-5520

DOOR,L.H. (MODIFIED PARTS)

SN: 50002-UP

1шт.

14

232-950-5530

DOOR,R.H. (MODIFIED PARTS)

SN: 50002-UP

1шт.

Выбрано товаров: 15