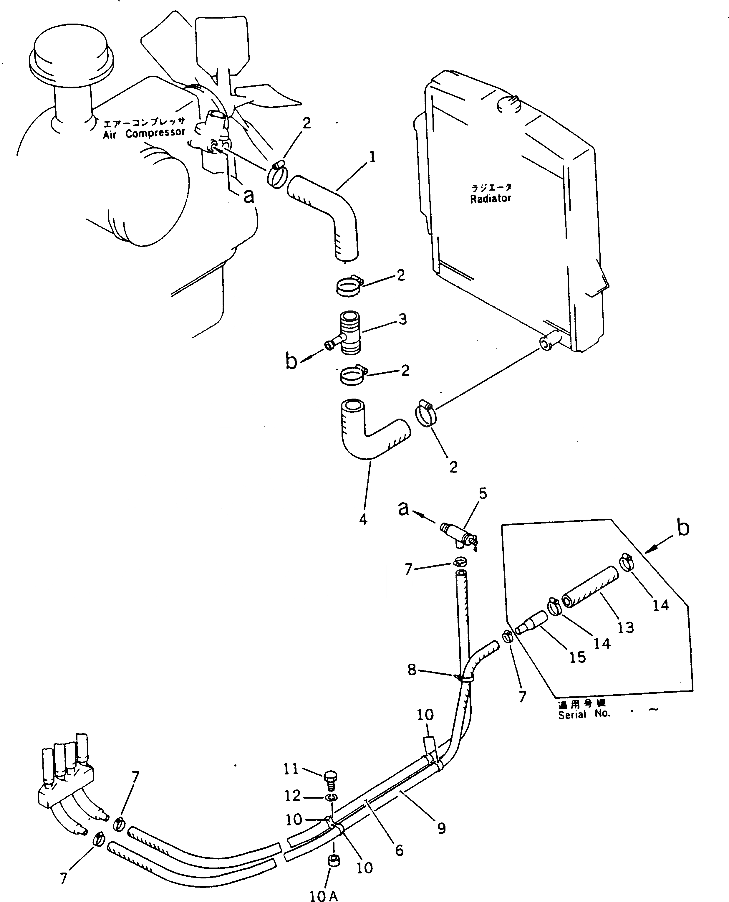
Запчасти Komatsu GD405A-1 ОБОГРЕВАТЕЛЬ. (/)(№-) ОПЦИОННЫЕ КОМПОНЕНТЫ

Схема запчастей Komatsu GD405A-1 - ОБОГРЕВАТЕЛЬ. (/)(№-) ОПЦИОННЫЕ КОМПОНЕНТЫ
FIT
1:1
100%

Артикул

Название

Примечание

Количество

|$0

238-807-0011

CAR HEATER ASS'Y,(EXCEPT JAPAN)

SN: 50551-UP

1шт.

|$1

233-807-0100

CAR HEATER ASS'Y,(FOR JAPAN)

SN: 50551-UP

1шт.

|$2

238-807-0010

CAR HEATER ASS'Y

SN: 50002-50550

1шт.

1

238-807-1190

HOSE

SN: 50002-UP

1шт.

1

238-807-2320

HOSE,(FOR JAPAN)

SN: 50563-UP

1шт.

2

07281-00709

CLAMP

SN: 50002-UP

4шт.

3

238-807-1210

TUBE

SN: 50002-UP

1шт.

4

238-807-1130

HOSE

SN: 50002-UP

1шт.

4

238-807-2330

HOSE,(FOR JAPAN)

SN: 50563-UP

1шт.

5

09482-20000

VALVE

SN: .-UP

1шт.

5

09482-10000

VALVE

SN: 50002-.

1шт.

6

09483-00420

HOSE

SN: .-UP

1шт.

6

09483-00538

HOSE

SN: 50002-.

1шт.

7

07281-02229

CLAMP

SN: .-UP

4шт.

7

07281-00259

CLAMP

SN: 50002-.

4шт.

8

08034-00536

BAND

SN: 50002-UP

1шт.

9

09483-00420

HOSE

SN: .-UP

1шт.

9

09483-00539

HOSE

SN: 50002-.

1шт.

10

232-807-1570

CLIP

SN: 50002-UP

4шт.

10A

01571-01016

SEAT,(MODIFIED PARTS)

SN: 50002-UP

2шт.

11

01010-51016

BOLT

SN: 50002-UP

2шт.

12

01602-21030

WASHER

SN: 50002-UP

2шт.

13

09483-00501

HOSE

SN: .-UP

1шт.

14

07281-00259

CLAMP

SN: .-UP

2шт.

15

238-809-1290

CONNECTOR

SN: .-UP

1шт.

Выбрано товаров: 25