Запчасти Komatsu GD405A-1 КОМПОНЕНТЫ (ОБСЛУЖИВ-Е) (ДЛЯ ПОВОРОТН. ОТВАЛ Д/СНЕГА) ОПЦИОННЫЕ КОМПОНЕНТЫ

Схема запчастей Komatsu GD405A-1 - КОМПОНЕНТЫ (ОБСЛУЖИВ-Е) (ДЛЯ ПОВОРОТН. ОТВАЛ Д/СНЕГА) ОПЦИОННЫЕ КОМПОНЕНТЫ
FIT
1:1
100%

Артикул

Название

Примечание

Количество

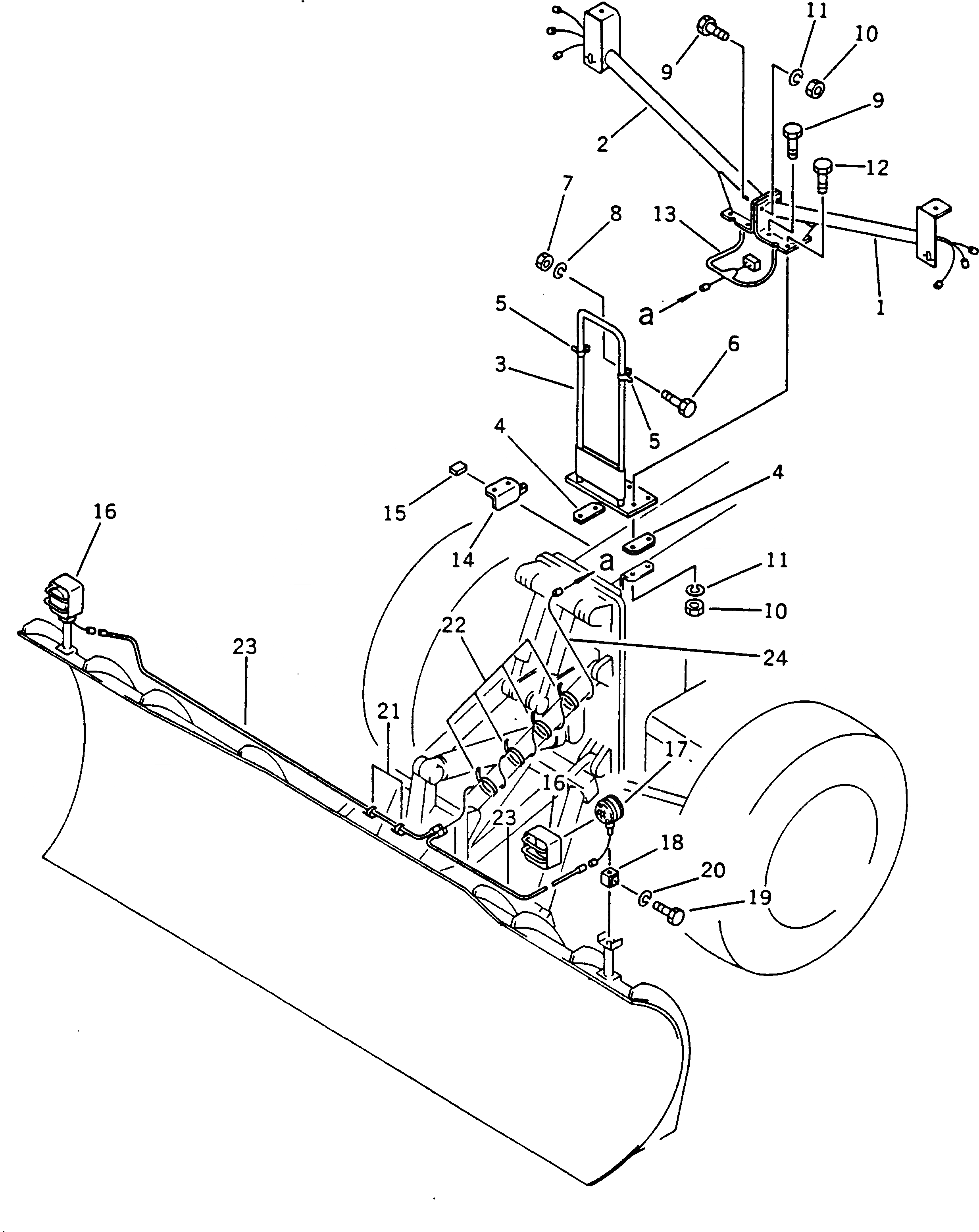
1

238-806-9110

BRACKET,L.H.

SN: 50002-UP

1шт.

2

238-806-9120

BRACKET,R.H.

SN: 50002-UP

1шт.

3

238-806-9130

STAY

SN: 50002-UP

1шт.

4

238-806-9140

PLATE

SN: 50002-UP

2шт.

5

232-06-15151

PIVOT

SN: 50002-UP

2шт.

6

01010-50825

BOLT

SN: 50002-UP

2шт.

7

01580-10806

NUT

SN: 50002-UP

2шт.

8

01602-20825

WASHER

SN: 50002-UP

2шт.

9

01010-51235

BOLT

SN: 50002-UP

6шт.

10

01580-11210

NUT

SN: 50002-UP

6шт.

11

01602-21236

WASHER

SN: 50002-UP

10шт.

12

01010-51260

BOLT

SN: 50002-UP

4шт.

13

238-806-9180

HARNESS

SN: 50002-UP

1шт.

14

238-806-2150

BRACKET,(MODIFIED PARTS)

SN: 50002-UP

1шт.

15

238-806-2140

SEAT

SN: 50002-UP

1шт.

16

233-979-1381

PROTECTOR

SN: 50002-UP

2шт.

17

232-806-9341

LAMP ASS'Y

SN: 50002-UP

2шт.

17

232-806-9580

LENS,ORANGE

SN: 50002-UP

1шт.

17

232-806-9590

LENS,YELLOW

SN: 50002-UP

1шт.

17

08102-02403

BULB, 3W

SN: 50002-UP

1шт.

18

232-806-9241

BRACKET

SN: 50002-UP

2шт.

19

01010-50818

BOLT

SN: 50002-UP

4шт.

20

01602-20825

WASHER

SN: 50002-UP

4шт.

21

232-856-5250

CLIP

SN: 50002-UP

4шт.

22

08034-00536

BAND

SN: 50002-UP

4шт.

23

233-806-6150

CABLE

SN: 50002-UP

2шт.

24

233-806-6160

CABLE

SN: 50002-UP

1шт.

Выбрано товаров: 27