Запчасти Komatsu GD405A-1 ГИДРОЛИНИЯ ТРАНСМИССИИ (OUT) СИЛОВАЯ ПЕРЕДАЧА

Схема запчастей Komatsu GD405A-1 - ГИДРОЛИНИЯ ТРАНСМИССИИ (OUT) СИЛОВАЯ ПЕРЕДАЧА
FIT
1:1
100%

Артикул

Название

Примечание

Количество

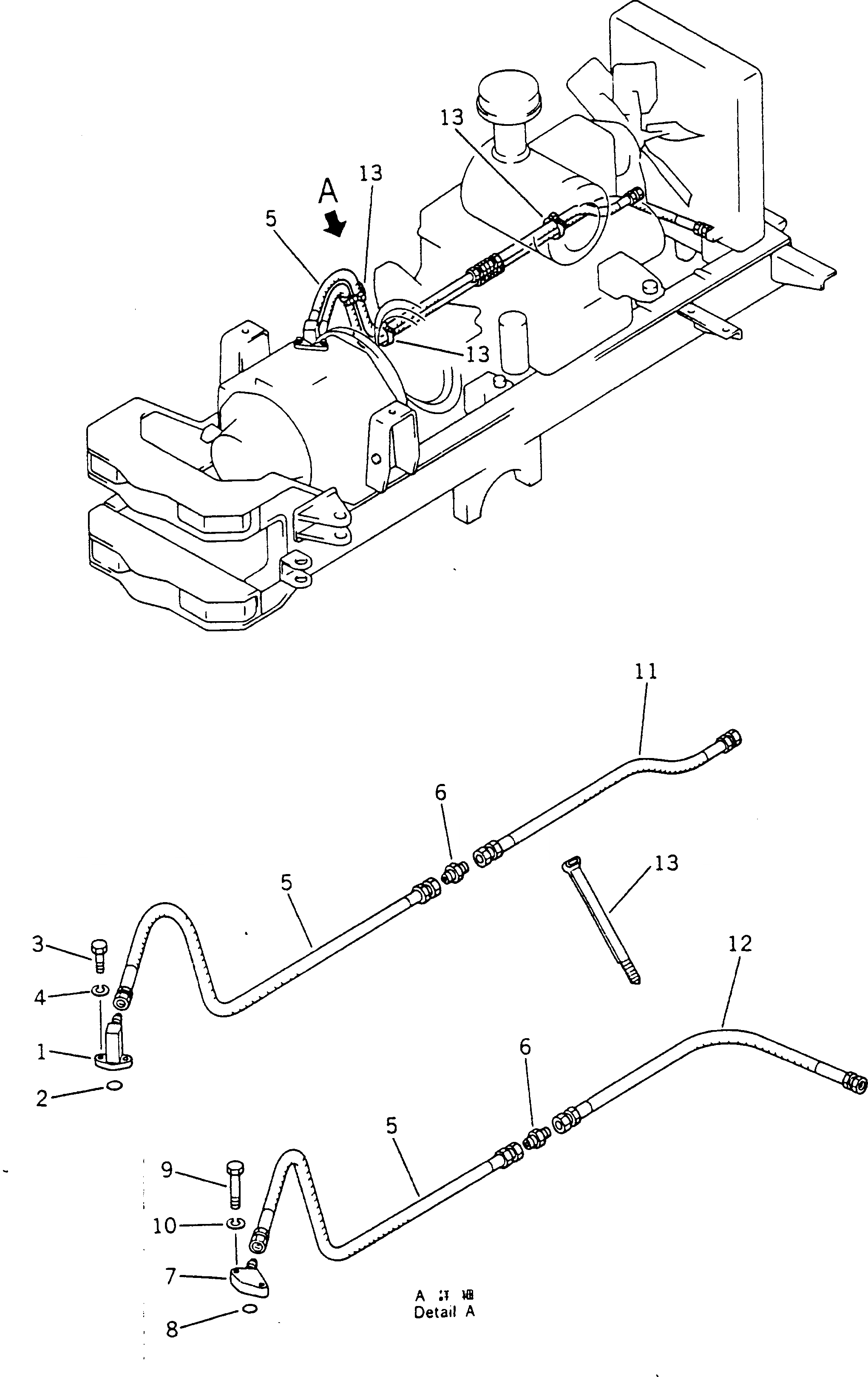
1

238-16-11130

FLANGE

SN: 50002-UP

1шт.

2

07000-13028

O-RING

SN: 50002-UP

1шт.

3

01010-51035

BOLT

SN: 50002-UP

2шт.

4

01602-21030

WASHER

SN: 50002-UP

2шт.

5

07102-20615

HOSE

SN: 50005-UP

2шт.

5

0

HOSE

SN: 50002-50004

2шт.

6

238-16-11220

NIPPLE

SN: 50002-UP

2шт.

7

238-16-11120

FLANGE

SN: 50002-UP

1шт.

8

07000-13028

O-RING

SN: 50002-UP

1шт.

9

01010-51060

BOLT

SN: 50002-UP

2шт.

10

01602-21030

WASHER

SN: 50002-UP

2шт.

11

07102-20607

HOSE

SN: 50002-UP

1шт.

12

07102-20609

HOSE, 900MM

SN: 50002-UP

1шт.

13

08034-00834

BAND

SN: 50002-UP

3шт.

Выбрано товаров: 14