Запчасти Komatsu GD405A-1 НИЗ. PRESSURE ТРУБЫ (/)(№-) ГИДРАВЛИКА

Схема запчастей Komatsu GD405A-1 - НИЗ. PRESSURE ТРУБЫ (/)(№-) ГИДРАВЛИКА
FIT
1:1
100%

Артикул

Название

Примечание

Количество

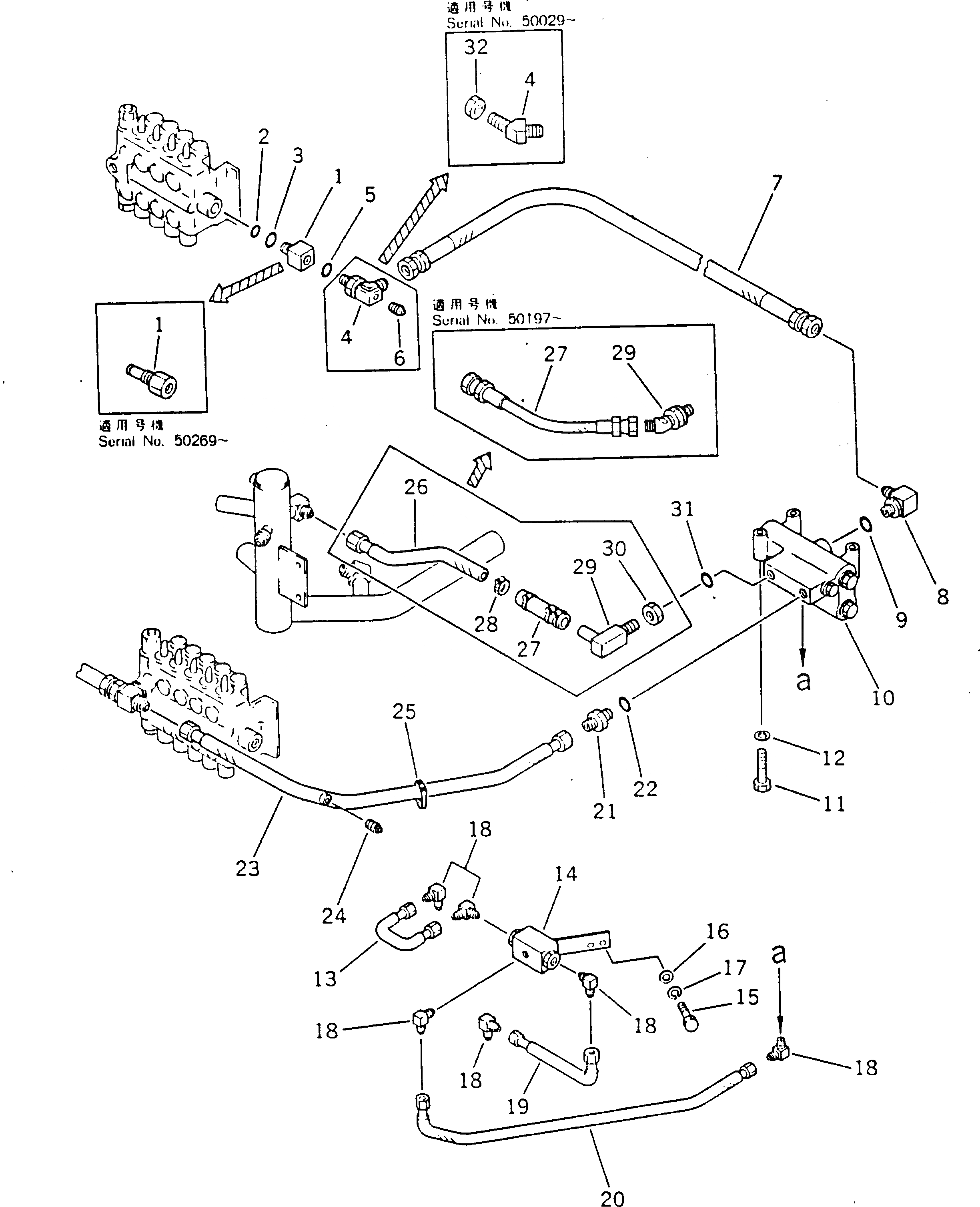
1

232-60-66410

NIPPLE

SN: 50269-50610

1шт.

|1

0

NIPPLE

SN: 50002-50268

1шт.

2

700-22-11410

O-RING (KIT)

SN: 50002-50610

1шт.

3

07002-12434

O-RING (KIT)

SN: 50002-50610

1шт.

4

233-60-28310

ELBOW

SN: 50029-50610

1шт.

|4

0

ELBOW

SN: 50002-50028

1шт.

5

07002-12034

O-RING (KIT)

SN: 50002-50610

1шт.

6

07042-20108

PLUG

SN: 50002-50028

1шт.

7

07108-20510

HOSE

SN: 50029-50610

1шт.

|7

0

HOSE

SN: 50017-50028

1шт.

|7

0

HOSE

SN: 50002-50016

1шт.

8

238-60-31550

ELBOW

SN: 50005-50610

1шт.

|8

07235-10522

ELBOW

SN: 50002-50004

1шт.

9

07002-12434

O-RING (KIT)

SN: 50002-50610

1шт.

10

233-61-00010

VALVE ASS'Y

SN: 50002-50610

1шт.

11

01010-51075

BOLT

SN: 50005-50610

3шт.

|11

01010-51070

BOLT

SN: 50002-50004

3шт.

12

01602-21030

WASHER

SN: 50002-50610

3шт.

13

233-60-28150

TUBE

SN: 50002-50610

1шт.

14

233-61-00050

VALVE ASS'Y

SN: 50002-50610

1шт.

15

01010-50825

BOLT

SN: 50002-50610

2шт.

16

01643-30823

WASHER

SN: 50002-50610

2шт.

17

01602-20825

WASHER

SN: 50002-50610

2шт.

18

234-60-22672

ELBOW

SN: 50002-50610

6шт.

19

233-60-28160

TUBE

SN: 50002-50610

1шт.

20

233-60-28170

TUBE

SN: 50002-50610

1шт.

21

07230-10522

UNION

SN: 50002-50610

1шт.

22

07002-12434

O-RING (KIT)

SN: 50002-50610

1шт.

23

233-60-28130

TUBE

SN: 50002-50610

1шт.

24

07042-20108

PLUG

SN: 50002-50610

1шт.

25

07281-00359

CLAMP

SN: 50002-50610

1шт.

26

233-60-28180

TUBE

SN: 50002-50196

1шт.

27

233-60-28320

HOSE

SN: 50197-50610

1шт.

|27

07260-22011

HOSE

SN: 50002-50196

1шт.

28

07281-00359

CLAMP

SN: 50002-50196

4шт.

29

07236-10522

ELBOW

SN: 50197-50610

1шт.

|29

232-60-57420

ELBOW

SN: 50002-50196

1шт.

30

07239-12410

NUT

SN: 50002-50196

1шт.

31

07002-12434

O-RING (KIT)

SN: 50002-50610

1шт.

32

07239-12009

NUT

SN: 50029-50610

1шт.

Выбрано товаров: 40