Запчасти Komatsu GD405A-1 ГИДРАВЛ РЫЧАГ УПРАВЛ-Я (/)(№-9) ГИДРАВЛИКА

Схема запчастей Komatsu GD405A-1 - ГИДРАВЛ РЫЧАГ УПРАВЛ-Я (/)(№-9) ГИДРАВЛИКА
FIT
1:1
100%

Артикул

Название

Примечание

Количество

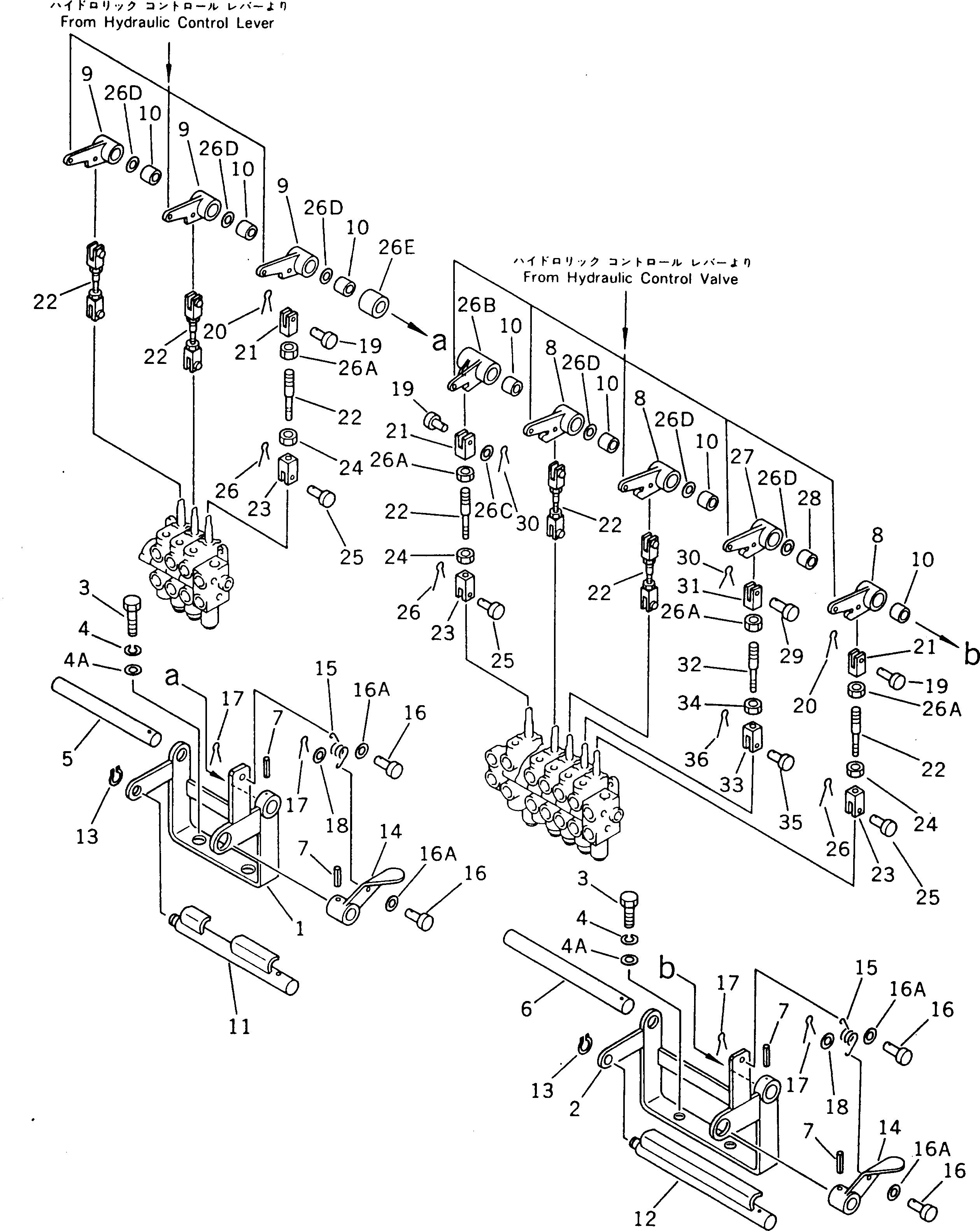
1

233-43-28740

BRACKET

SN: 50611-50694

1шт.

|1

233-43-27180

BRACKET

SN: 50002-50610

1шт.

2

233-43-28770

BRACKET

SN: 50611-@

1шт.

|2

233-43-27260

BRACKET

SN: 50002-50610

1шт.

3

01010-51230

BOLT

SN: .-@

4шт.

|3

0

BOLT

SN: 50002-.

4шт.

4

01602-21236

WASHER

SN: 50002-@

4шт.

4A

01643-31232

WASHER

SN: 50002-@

4шт.

5

233-43-28640

SHAFT

SN: 50611-@

1шт.

|5

232-43-58530

SHAFT

SN: 50002-50610

1шт.

6

233-43-28670

SHAFT

SN: 50611-@

1шт.

|6

232-43-58730

SHAFT

SN: 50002-50610

1шт.

7

04025-00532

PIN

SN: 50002-@

4шт.

8

232-43-58480

LEVER

SN: 50611-@

3шт.

|8

232-43-58480

LEVER

SN: 50002-50610

4шт.

9

232-43-58490

LEVER

SN: 50002-@

3шт.

10

234-885-1610

BUSHING

SN: 50611-@

6шт.

|10

234-885-1620

BUSHING

SN: 50002-50610

7шт.

11

233-43-28690

LOCK

SN: 50611-50694

1шт.

|11

233-43-27190

LOCK

SN: 50002-50610

1шт.

12

233-43-28730

LOCK

SN: 50611-@

1шт.

|12

233-43-27270

LOCK

SN: 50002-50610

1шт.

13

04064-01410

RING

SN: 50002-@

2шт.

14

233-43-27210

LEVER

SN: 50002-@

2шт.

15

232-855-1320

SPRING

SN: 50002-@

2шт.

16

04025-10616

PIN

SN: 50002-@

4шт.

16A

01643-30623

WASHER

SN: 50149-@

4шт.

17

04050-11610

PIN

SN: 50002-@

4шт.

18

01641-20608

WASHER

SN: 50002-@

2шт.

19

04205-10822

PIN

SN: 50002-@

7шт.

20

04050-12012

PIN

SN: 50002-@

7шт.

21

04221-20844

YOKE

SN: 50002-@

7шт.

22

232-43-58740

ROD

SN: 50002-@

7шт.

23

04210-20624

YOKE

SN: 50002-@

7шт.

24

01580-10605

NUT

SN: 50002-@

7шт.

25

04205-10618

PIN

SN: 50002-@

7шт.

26

233-43-27750

PIN

SN: 50599-@

7шт.

|26

04050-11610

PIN

SN: 50002-50598

7шт.

26A

01580-20806

NUT

SN: 50002-@

7шт.

26B

233-43-28680

LEVER

SN: 50611-@

1шт.

26C

01642-20840

WASHER

SN: 50611-@

1шт.

26D

232-975-5490

SPACER

SN: 50611-@

6шт.

26E

232-43-58390

COLLAR

SN: 50611-@

1шт.

27

232-43-58470

ROD

SN: 50611-50694

1шт.

|27

232-43-58480

LEVER

SN: 50002-50610

1шт.

28

234-885-1610

BUSHING

SN: 50611-@

1шт.

|28

0

BUSHING

SN: 50002-50610

1шт.

29

04205-10822

PIN

SN: 50002-@

1шт.

30

234-43-18710

PIN

SN: 50599-@

1шт.

|30

04050-12012

PIN

SN: 50002-50598

1шт.

31

04221-20844

YOKE

SN: 50002-@

1шт.

32

232-43-58740

ROD

SN: 50002-@

1шт.

33

04210-20624

YOKE

SN: 50002-@

1шт.

34

01580-10605

NUT

SN: 50002-@

1шт.

35

04205-10618

PIN

SN: 50002-@

1шт.

36

233-43-21150

PIN

SN: 50599-@

1шт.

|36

04050-11610

PIN

SN: 50002-50598

1шт.

Выбрано товаров: 57