Запчасти Komatsu GD405A-1 ЭЛЕКТРИКА¤ ПЕРЕДН. (/)(№-98) КОМПОНЕНТЫ ДВИГАТЕЛЯ И ЭЛЕКТРИКА

Схема запчастей Komatsu GD405A-1 - ЭЛЕКТРИКА¤ ПЕРЕДН. (/)(№-98) КОМПОНЕНТЫ ДВИГАТЕЛЯ И ЭЛЕКТРИКА
FIT
1:1
100%

Артикул

Название

Примечание

Количество

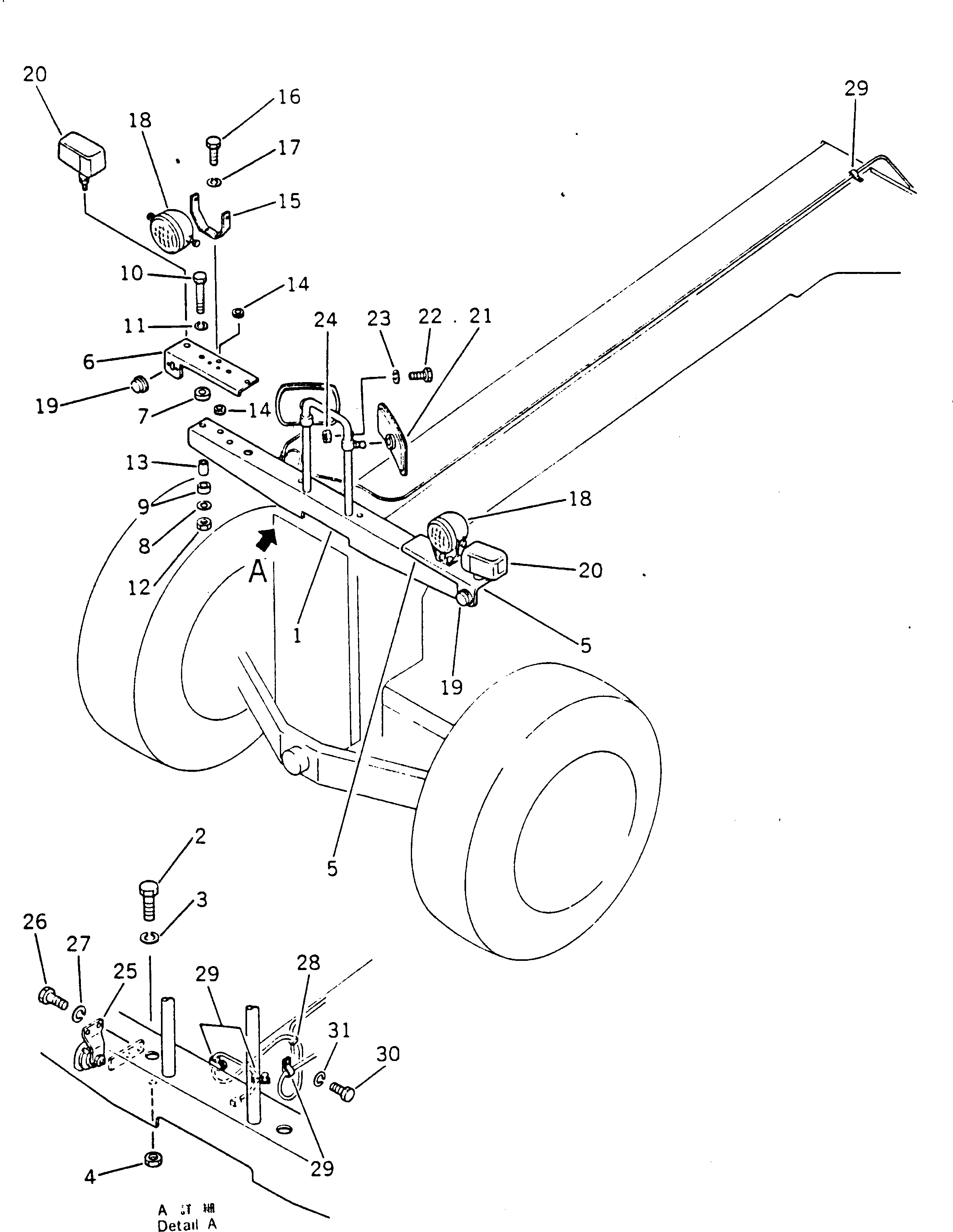
1

233-06-25110

BRACKET

SN: 50002-50598

1шт.

2

01010-51230

BOLT

SN: 50002-@

4шт.

3

01602-21236

WASHER

SN: 50002-@

4шт.

4

01580-11210

NUT

SN: 50002-@

4шт.

5

238-06-14520

BRACKET,L.H.

SN: 50002-50598

1шт.

6

238-06-14530

BRACKET,R.H.

SN: 50002-50598

1шт.

7

565-54-12810

CUSHION

SN: 50002-50598

4шт.

8

232-06-53190

WASHER

SN: 50002-50598

4шт.

9

232-06-53170

CUSHION

SN: 50002-50598

4шт.

10

01010-51070

BOLT

SN: 50002-50598

4шт.

11

01602-21030

WASHER

SN: 50002-50598

4шт.

12

01580-11008

NUT

SN: 50002-50598

4шт.

13

232-06-53120

COLLAR

SN: 50002-50598

4шт.

14

08037-01008

GROMMET

SN: 50002-@

4шт.

15

232-06-15520

BRACKET

SN: 50002-@

2шт.

16

01010-51025

BOLT

SN: 50002-@

4шт.

17

01602-21030

WASHER

SN: 50002-@

4шт.

18

08121-22400

LAMP,HEAD

SN: 50002-@

2шт.

|18

08121-20005

LENS

SN: 50002-@

1шт.

|18

08100-02460

BULB¤ 60/60W

SN: 50002-@

1шт.

|18

08125-02410

LAMP ASS'Y,FOG (OP)

SN: 50002-@

2шт.

|18

08107-12460

BULB¤ 60W (OP)

SN: 50002-@

1шт.

|18

08125-00006

LENS (OP)

SN: 50002-@

1шт.

19

08139-02400

LAMP,PARKING

SN: 50002-@

2шт.

|19

08139-00009

LENS

SN: 50002-@

1шт.

|19

08102-02403

BULB¤ 3W

SN: 50002-@

1шт.

20

236-06-25290

COMBINATION LAMP A.,FRONT COMBINATION¤ L.H.

SN: 50002-@

1шт.

|20

236-06-25280

COMBINATION LAMP A.,FRONT COMBINATION¤ R.H.

SN: 50002-@

1шт.

|20

08130-60007

LENS,FRONT¤ L.H.

SN: 50002-@

1шт.

|20

08130-80007

LENS,FRONT¤ R.H.

SN: 50002-@

1шт.

|20

08130-60008

LENS,REAR¤ L.H.

SN: 50002-@

1шт.

|20

08130-80008

LENS,REAR¤ R.H.

SN: 50002-@

1шт.

|20

08105-12420

BULB¤ 25W

SN: 50002-@

1шт.

|20

08110-12410

BULB¤ 12W

SN: 50002-@

1шт.

21

08174-10001

MIRROR

SN: 50002-@

2шт.

22

01010-50825

BOLT

SN: 50002-@

2шт.

23

01602-20825

WASHER

SN: 50002-@

2шт.

24

01580-10806

NUT

SN: 50002-@

2шт.

25

08160-42400

HORN

SN: 50552-@

1шт.

|25

0

HORN

SN: 50002-50551

1шт.

26

01010-50816

BOLT

SN: 50002-@

2шт.

27

01602-20825

WASHER

SN: 50002-@

2шт.

28

08034-00519

BAND

SN: 50002-@

1шт.

29

08036-00814

CLIP

SN: 50002-50004

3шт.

29A

08036-00814

CLIP

SN: 50002-@

1шт.

30

01010-51016

BOLT

SN: 50002-@

3шт.

31

01602-21030

WASHER

SN: 50002-@

3шт.

Выбрано товаров: 47