Запчасти Komatsu GD405A-1 ПОГРУЗ. ПОДВЕСН. КРОНШТЕЙН ОПЦИОННЫЕ КОМПОНЕНТЫ

Схема запчастей Komatsu GD405A-1 - ПОГРУЗ. ПОДВЕСН. КРОНШТЕЙН ОПЦИОННЫЕ КОМПОНЕНТЫ
FIT
1:1
100%

Артикул

Название

Примечание

Количество

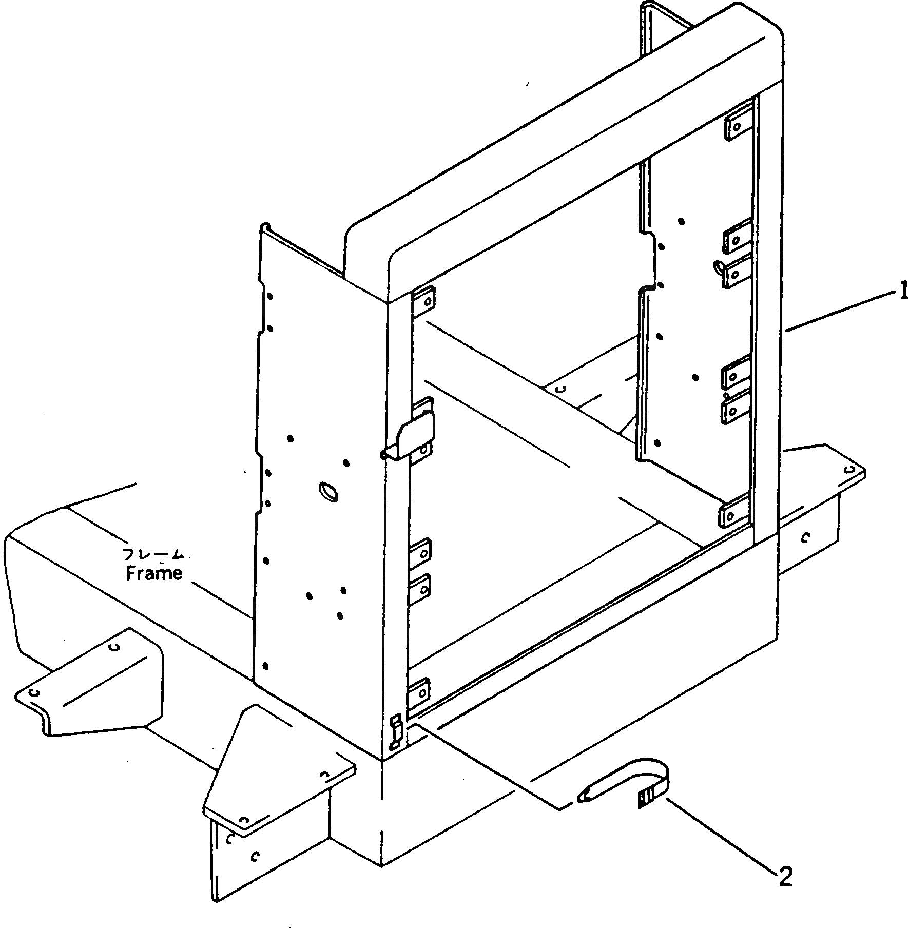
1

233-901-8210

GRILLE,(MODIFIED PARTS)

SN: 50002-UP

1шт.

2

232-971-6460

BAND

SN: 50002-UP

1шт.

Выбрано товаров: 2