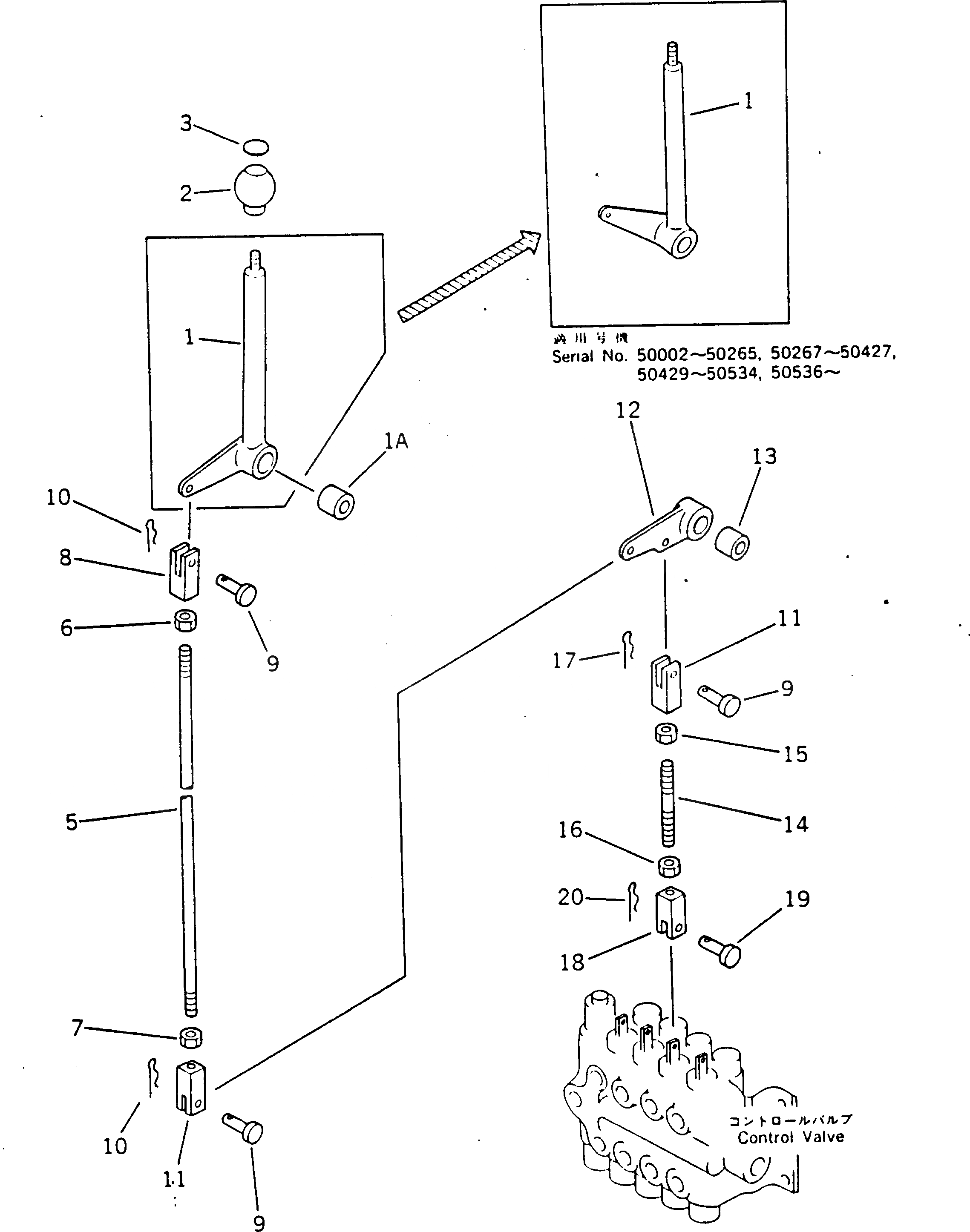
Запчасти Komatsu GD405A-1 РЕГУЛИР. РЫЧАГ УПРАВЛЕНИЯ ОТВАЛОМ ОПЦИОННЫЕ КОМПОНЕНТЫ

Схема запчастей Komatsu GD405A-1 - РЕГУЛИР. РЫЧАГ УПРАВЛЕНИЯ ОТВАЛОМ ОПЦИОННЫЕ КОМПОНЕНТЫ
FIT
1:1
100%

Артикул

Название

Примечание

Количество

1

233-43-27620

LEVER

SN: 50536-UP

1шт.

|1

233-43-27610

LEVER

SN: 50535-50535

1шт.

|1

233-43-27620

LEVER

SN: 50429-50534

1шт.

|1

233-43-27610

LEVER

SN: 50428-50428

1шт.

|1

233-43-27620

LEVER

SN: 50267-50427

1шт.

|1

233-43-27610

LEVER

SN: 50266-50266

1шт.

|1

233-43-27620

LEVER

SN: 50002-50265

1шт.

1A

234-885-1610

BUSHING

SN: 50002-UP

1шт.

|2

237-43-00140

KNOB ASS'Y

SN: 50002-UP

1шт.

2

237-43-17480

KNOB

SN: 50002-UP

1шт.

3

233-53-21510

PLATE¤ OPERATING

SN: 50002-UP

1шт.

5

233-43-27280

ROD

SN: 50002-UP

1шт.

6

01580-10806

NUT

SN: 50002-UP

1шт.

7

01508-10805

NUT¤ L.H. THREAD,L.H. THREAD

SN: 50002-UP

1шт.

8

04211-20844

YOKE

SN: 50002-UP

1шт.

9

04205-10822

PIN

SN: 50002-UP

3шт.

10

234-43-18710

PIN

SN: .-UP

2шт.

|10

0

PIN

SN: 50002-.

2шт.

11

04221-20844

YOKE,L.H. THREAD

SN: 50002-UP

2шт.

12

232-43-58490

LEVER

SN: 50002-UP

1шт.

|12

232-43-58480

LEVER

SN: 50002-50411

1шт.

13

234-885-1610

BUSHING

SN: 50611-UP

1шт.

|13

0

BUSHING

SN: 50412-50610

1шт.

14

232-43-38740

ROD

SN: 50002-UP

1шт.

15

01508-20805

NUT,L.H. THREAD

SN: 50002-UP

1шт.

16

01580-10605

NUT

SN: 50002-UP

1шт.

17

234-43-18710

PIN

SN: .-UP

1шт.

|17

0

PIN

SN: 50002-.

1шт.

18

04210-20624

YOKE

SN: 50002-UP

1шт.

19

04205-10618

PIN

SN: 50002-UP

1шт.

20

233-43-27750

PIN

SN: .-UP

1шт.

|20

0

PIN

SN: 50002-.

1шт.

Выбрано товаров: 32