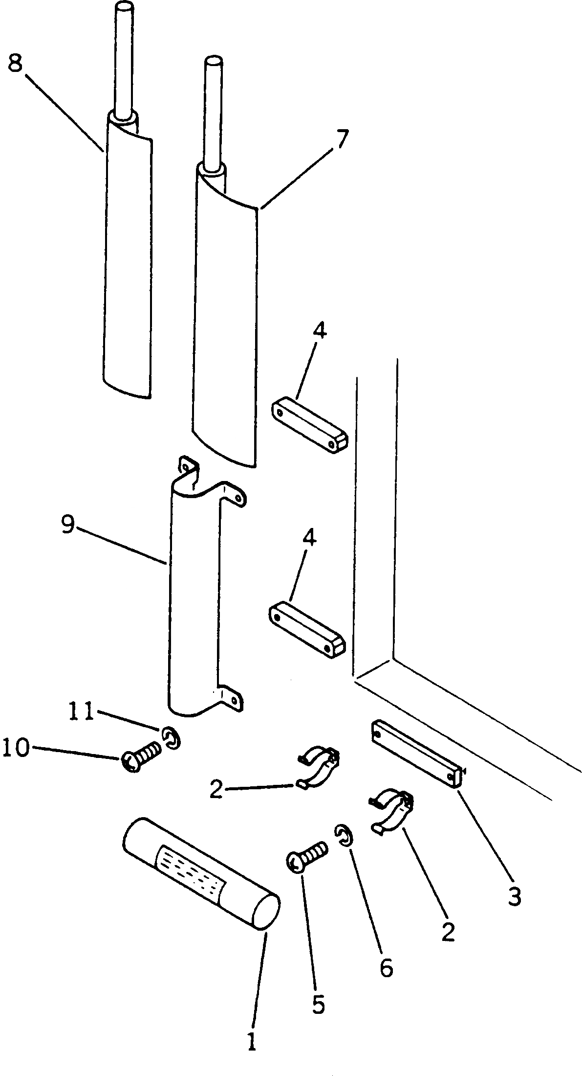
Запчасти Komatsu GD405A-1 FLAG И SMOKE CANDLE ОПЦИОННЫЕ КОМПОНЕНТЫ

Схема запчастей Komatsu GD405A-1 - FLAG И SMOKE CANDLE ОПЦИОННЫЕ КОМПОНЕНТЫ
FIT
1:1
100%

Артикул

Название

Примечание

Количество

1

09496-00000

FUSEE

SN: 50002-UP

1шт.

2

232-955-5570

SPRING

SN: 50002-UP

2шт.

3

232-855-8880

SEAT

SN: 50002-UP

1шт.

4

232-901-6130

SEAT

SN: 50002-UP

2шт.

5

01220-40508

SCREW

SN: 50002-UP

2шт.

6

01601-20513

WASHER

SN: 50002-UP

2шт.

7

232-955-5580

FLAG,RED

SN: 50002-UP

1шт.

8

232-955-5590

FLAG,WHITE

SN: 50002-UP

1шт.

9

232-901-6120

BRACKET

SN: 50002-UP

1шт.

10

01220-40612

SCREW

SN: 50002-UP

4шт.

11

01602-20619

WASHER

SN: 50002-UP

4шт.

Выбрано товаров: 11