Запчасти Komatsu GD405A-1 ПЕРЕДАЧА СИЛОВАЯ ПЕРЕДАЧА

Схема запчастей Komatsu GD405A-1 - ПЕРЕДАЧА СИЛОВАЯ ПЕРЕДАЧА
FIT
1:1
100%

Артикул

Название

Примечание

Количество

|1

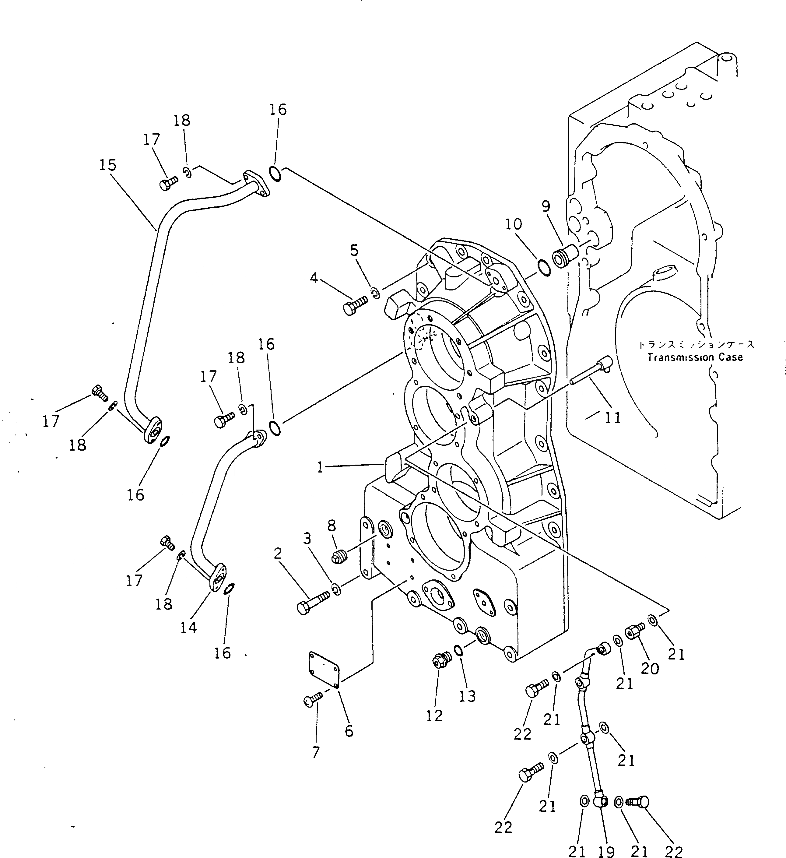
238-15-00012

TRANSMISSION ASS'Y

SN: .-UP

1шт.

|1

0

TRANSMISSION ASS'Y

SN: 50002-.

1шт.

1

238-15-13110

CASE

SN: 50002-UP

1шт.

2

01011-51465

BOLT

SN: 50002-UP

6шт.

3

01602-21442

WASHER

SN: 50002-UP

6шт.

4

01010-51440

BOLT

SN: 50002-UP

14шт.

5

01602-21442

WASHER

SN: 50002-UP

14шт.

6

09608-05080

PLATE¤ NAME

SN: 50002-UP

1шт.

7

04418-03060

SCREW

SN: 50002-UP

4шт.

8

07042-00617

PLUG

SN: 50002-UP

1шт.

9

238-15-11330

SLEEVE

SN: 50002-UP

1шт.

10

07000-63030

O-RING (KIT)

SN: 50002-UP

1шт.

11

238-15-11380

TUBE

SN: 50002-UP

1шт.

12

07044-12412

PLUG

SN: 50002-UP

1шт.

13

07002-02434

O-RING (KIT)

SN: 50002-UP

1шт.

14

238-15-11350

TUBE

SN: 50002-UP

1шт.

15

238-15-11360

TUBE

SN: 50002-UP

1шт.

16

07000-63025

O-RING (KIT)

SN: 50002-UP

4шт.

17

01010-51030

BOLT

SN: 50002-UP

8шт.

18

01602-21030

WASHER

SN: 50002-UP

8шт.

19

238-15-11370

TUBE

SN: 50002-UP

1шт.

20

238-15-11340

BOLT

SN: 50002-UP

1шт.

21

07005-01412

GASKET (KIT)

SN: 50002-UP

9шт.

22

07206-11014

BOLT

SN: 50002-UP

4шт.

Выбрано товаров: 24