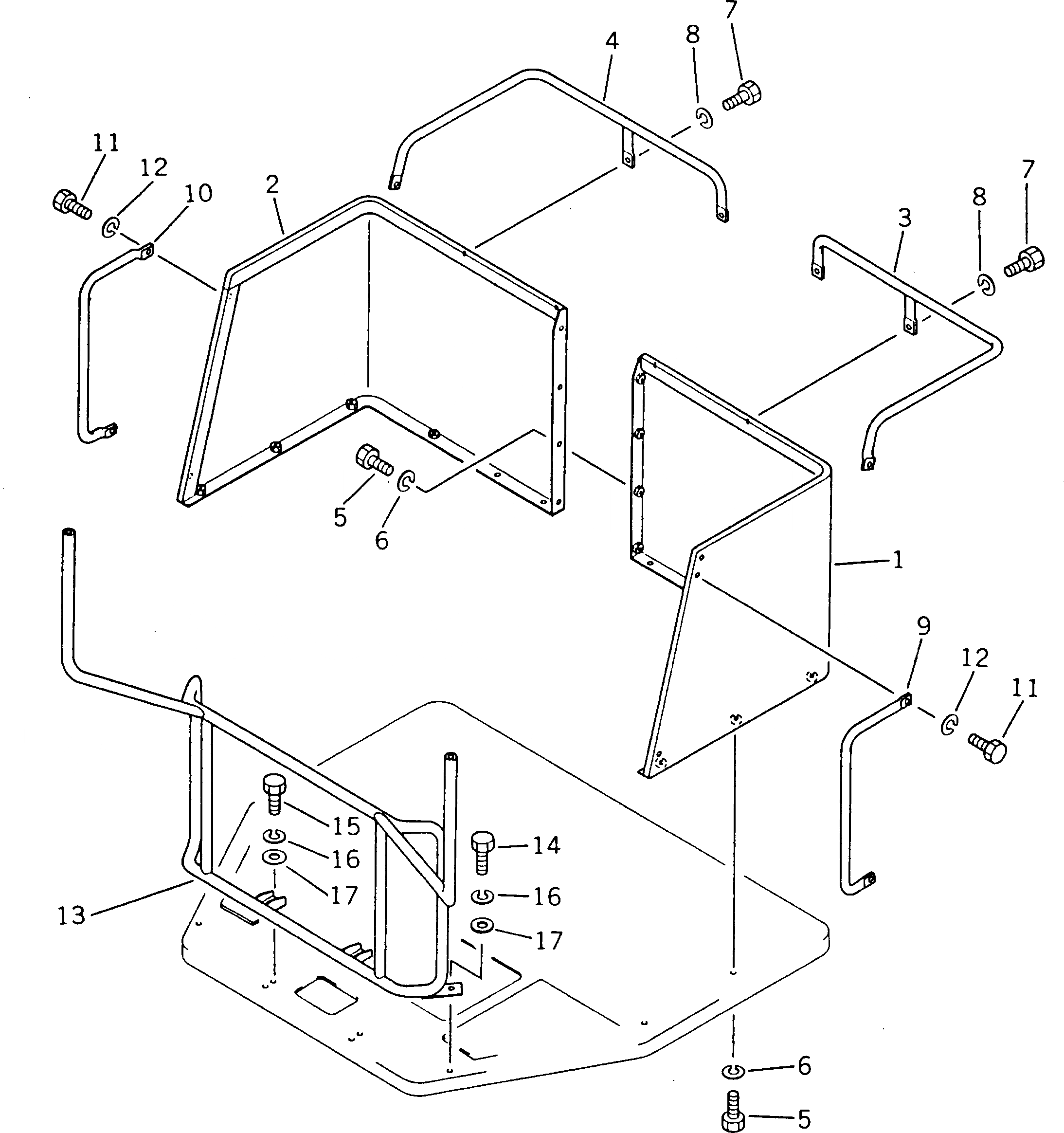
Запчасти Komatsu GD405A-1 КАБИНА ОПЕРАТОРА (/) (ДЛЯ ЯПОН.)(№-98) РАМА И ЧАСТИ КОРПУСА

Схема запчастей Komatsu GD405A-1 - КАБИНА ОПЕРАТОРА (/) (ДЛЯ ЯПОН.)(№-98) РАМА И ЧАСТИ КОРПУСА
FIT
1:1
100%

Артикул

Название

Примечание

Количество

1

233-54-21430

GUARD,L.H.

SN: 50503-50598

1шт.

|1

0

GUARD,L.H.

SN: 50002-50502

1шт.

2

233-54-21420

GUARD,R.H.

SN: 50503-50598

1шт.

|2

0

GUARD,R.H.

SN: 50002-50502

1шт.

3

233-54-21230

RAIL,L.H.

SN: 50002-50598

1шт.

4

233-54-21240

RAIL,R.H.

SN: 50002-50598

1шт.

5

01010-31225

BOLT

SN: 50002-@

12шт.

6

01602-21236

WASHER

SN: 50002-@

12шт.

7

01010-51020

BOLT

SN: 50002-50598

6шт.

8

01602-21030

WASHER

SN: 50002-50598

6шт.

9

234-54-11361

HAND RAIL,L.H.

SN: 50002-50598

1шт.

10

234-54-11371

HAND RAIL,R.H.

SN: 50002-50598

1шт.

11

01010-51020

BOLT

SN: 50002-50598

4шт.

12

01602-21030

WASHER

SN: 50002-50598

4шт.

13

233-54-21250

BRACKET

SN: 50002-@

1шт.

14

01010-51235

BOLT

SN: 50002-@

2шт.

15

01010-51230

BOLT

SN: 50002-@

4шт.

16

01602-01236

WASHER

SN: 50002-@

6шт.

17

01643-31232

WASHER

SN: 50002-@

6шт.

Выбрано товаров: 19