Запчасти Komatsu GD405A-1 КАБИНА ОПЕРАТОРА (/) (ДЛЯ ЯПОН.)(№99-) РАМА И ЧАСТИ КОРПУСА

Схема запчастей Komatsu GD405A-1 - КАБИНА ОПЕРАТОРА (/) (ДЛЯ ЯПОН.)(№99-) РАМА И ЧАСТИ КОРПУСА
FIT
1:1
100%

Артикул

Название

Примечание

Количество

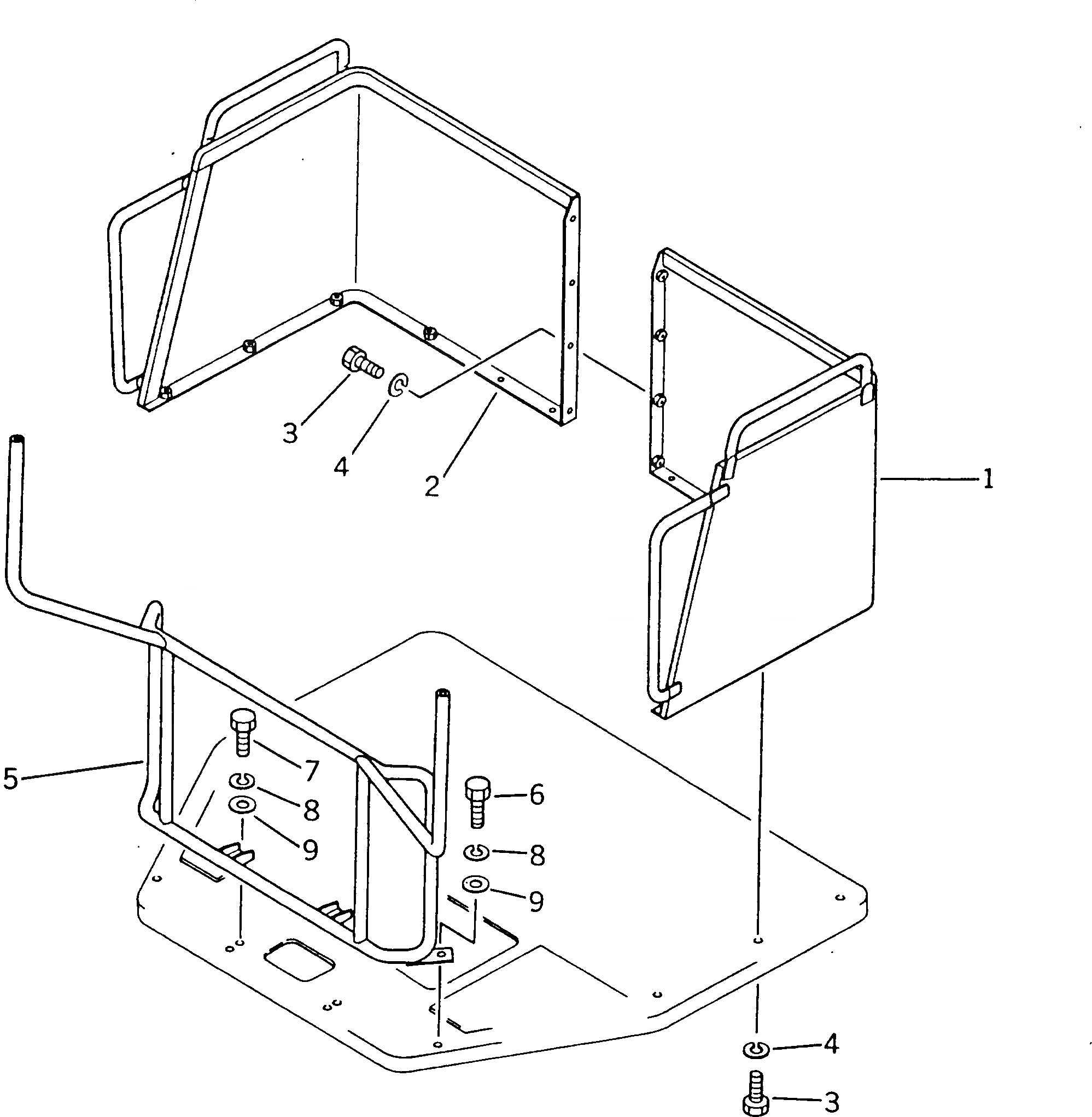
1

233-54-21431

GUARD,L.H.

SN: 50599-UP

1шт.

|1

0

GUARD,L.H.

SN: 50502-50598

1шт.

2

233-54-21421

GUARD,R.H.

SN: 50599-UP

1шт.

|2

0

GUARD,R.H.

SN: 50502-50598

1шт.

3

01010-51225

BOLT

SN: 50002-UP

12шт.

4

01602-21236

WASHER

SN: 50002-UP

12шт.

5

233-54-21250

BRACKET

SN: 50002-UP

1шт.

6

01010-51235

BOLT

SN: 50002-UP

2шт.

7

01010-51230

BOLT

SN: 50002-UP

4шт.

8

01602-01236

WASHER

SN: 50002-UP

6шт.

9

01643-31232

WASHER

SN: 50002-UP

6шт.

Выбрано товаров: 0