Запчасти Komatsu 6D105-1P - -

Схема запчастей Komatsu 6D105-1P - - -
FIT
1:1
100%

Артикул

Название

Примечание

Количество

|1

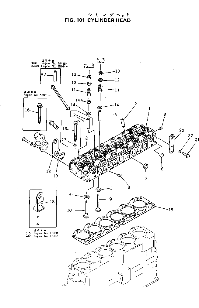
6136-12-1011

CYLINDER HEAD A

SN: 50543-UP

1шт.

|1

0

CYLINDER HEAD A

SN: 50001-50542

1шт.

|1

6136-11-1011

CYLINDER HEAD A

SN: 16877-49999

1шт.

|1

6136-12-1101

CYLINDER HEAD A

SN: 50543-UP

1шт.

|1

0

CYLINDER HEAD A

SN: 50001-50542

1шт.

|1

6136-11-1201

CYLINDER HEAD A

SN: 16877-49999

1шт.

1

0

SN: 50543-UP

1шт.

|1

0

SN: 50001-50542

1шт.

|1

0

SN: 16877-49999

1шт.

2

6136-11-1130

SLEEVE

SN: 16877-UP

6шт.

3

6136-12-1310

VALVE SEAT

SN: 50001-UP

6шт.

|3

6136-11-1311

VALVE SEAT

SN: 16877-49999

6шт.

|3

6136-19-1410

VALVE SEAT

SN: 50001-UP

6шт.

|3

6136-19-1311

VALVE SEAT

SN: 16877-49999

6шт.

|3

6136-18-1410

VALVE SEAT

SN: 50001-UP

6шт.

|3

6136-18-1311

VALVE SEAT

SN: 16877-49999

6шт.

|3

6136-17-1410

VALVE SEAT

SN: 50001-UP

6шт.

|3

6136-17-1311

VALVE SEAT

SN: 16877-49999

6шт.

|3

6136-16-1410

VALVE SEAT

SN: 50001-UP

6шт.

|3

6136-16-1311

VALVE SEAT

SN: 16877-49999

6шт.

4

6136-12-1320

VALVE SEAT

SN: 50001-UP

6шт.

|4

6136-11-1321

SEAT

SN: 16877-49999

6шт.

|4

6136-19-1420

VALVE SEAT

SN: 50001-UP

6шт.

|4

6136-19-1321

VALVE SEAT

SN: 16877-49999

6шт.

|4

6136-18-1420

VALVE SEAT

SN: 50001-UP

6шт.

|4

6136-18-1321

VALVE SEAT

SN: 16877-49999

6шт.

|4

6136-17-1420

VALVE SEAT

SN: 50001-UP

6шт.

|4

6136-17-1321

VALVE SEAT

SN: 16877-49999

6шт.

|4

6136-16-1420

VALVE SEAT

SN: 50001-UP

6шт.

|4

6136-16-1321

VALVE SEAT

SN: 16877-49999

6шт.

5

6136-19-1430

VALVE GUIDE

SN: 50001-UP

12шт.

|5

6136-19-1331

VALVE GUIDE

SN: 16877-49999

12шт.

6

07046-42816

PLUG

SN: 16877-UP

13шт.

7

07046-44016

PLUG

SN: 16877-UP

4шт.

8

07043-50108

PLUG

SN: .-UP

7шт.

|8

0

PLUG

SN: 16877-.

7шт.

9

6136-42-4110

INTAKE VALVE

SN: 50001-UP

6шт.

|9

6136-41-4110

INTAKE VALVE

SN: 16877-49999

6шт.

10

6136-42-4210

EXHAUST VALVE

SN: 50001-UP

6шт.

|10

6136-41-4210

VALVE

SN: 16877-49999

6шт.

11

6136-42-4410

VALVE SPRING

SN: 50001-UP

12шт.

|11

6136-41-4410

VALVE SPRING

SN: 16877-49999

12шт.

12

6136-42-4510

SEAT

SN: 50001-UP

12шт.

|12

6136-41-4510

GUIDE

SN: 16877-49999

12шт.

13

6136-42-4520

COTTER

SN: 50001-UP

24шт.

|13

6136-41-4520

COTTER

SN: 16877-49999

24шт.

14

6136-41-4530

SEAT

SN: 16877-UP

12шт.

15

6136-11-1813

GASKET

SN: 24519-UP

1шт.

|15

0

GASKET

SN: (24519-68686)

1шт.

|15

0

GASKET

SN: 16877-24518

1шт.

16

6136-12-1610

BOLT

SN: 50001-UP

26шт.

|16

6136-11-1610

BOLT

SN: 16877-49999

26шт.

17

6138-11-1621

WASHER

SN: .-49999

26шт.

|17

0

WASHER

SN: 16877-.

26шт.

18

6136-11-1910

HANGER

SN: 16877-UP

1шт.

19

6136-11-1821

GASKET

SN: 16877-UP

1шт.

20

6136-11-1920

HANGER

SN: 16877-UP

1шт.

21

01010-31025

BOLT

SN: 16877-UP

2шт.

22

01602-01030

WASHER

SN: 16877-UP

2шт.

|1

6136-12-1011

CYLINDER HEAD A

SN: 50543-UP

1шт.

|1

0

CYLINDER HEAD A

SN: 50001-50542

1шт.

|1

6136-11-1011

CYLINDER HEAD A

SN: 16877-49999

1шт.

|1

6136-12-1101

CYLINDER HEAD A

SN: 50543-UP

1шт.

|1

0

CYLINDER HEAD A

SN: 50001-50542

1шт.

|1

6136-11-1201

CYLINDER HEAD A

SN: 16877-49999

1шт.

1

0

SN: 50543-UP

1шт.

|1

0

SN: 50001-50542

1шт.

|1

0

SN: 16877-49999

1шт.

2

6136-11-1130

SLEEVE

SN: 16877-UP

6шт.

3

6136-12-1310

VALVE SEAT

SN: 50001-UP

6шт.

|3

6136-11-1311

VALVE SEAT

SN: 16877-49999

6шт.

|3

6136-19-1410

VALVE SEAT

SN: 50001-UP

6шт.

|3

6136-19-1311

VALVE SEAT

SN: 16877-49999

6шт.

|3

6136-18-1410

VALVE SEAT

SN: 50001-UP

6шт.

|3

6136-18-1311

VALVE SEAT

SN: 16877-49999

6шт.

|3

6136-17-1410

VALVE SEAT

SN: 50001-UP

6шт.

|3

6136-17-1311

VALVE SEAT

SN: 16877-49999

6шт.

|3

6136-16-1410

VALVE SEAT

SN: 50001-UP

6шт.

|3

6136-16-1311

VALVE SEAT

SN: 16877-49999

6шт.

4

6136-12-1320

VALVE SEAT

SN: 50001-UP

6шт.

|4

6136-11-1321

SEAT

SN: 16877-49999

6шт.

|4

6136-19-1420

VALVE SEAT

SN: 50001-UP

6шт.

|4

6136-19-1321

VALVE SEAT

SN: 16877-49999

6шт.

|4

6136-18-1420

VALVE SEAT

SN: 50001-UP

6шт.

|4

6136-18-1321

VALVE SEAT

SN: 16877-49999

6шт.

|4

6136-17-1420

VALVE SEAT

SN: 50001-UP

6шт.

|4

6136-17-1321

VALVE SEAT

SN: 16877-49999

6шт.

|4

6136-16-1420

VALVE SEAT

SN: 50001-UP

6шт.

|4

6136-16-1321

VALVE SEAT

SN: 16877-49999

6шт.

5

6136-19-1430

VALVE GUIDE

SN: 50001-UP

12шт.

|5

6136-19-1331

VALVE GUIDE

SN: 16877-49999

12шт.

6

07046-42816

PLUG

SN: 16877-UP

13шт.

7

07046-44016

PLUG

SN: 16877-UP

4шт.

8

07043-50108

PLUG

SN: .-UP

7шт.

|8

0

PLUG

SN: 16877-.

7шт.

9

6136-42-4110

INTAKE VALVE

SN: 50001-UP

6шт.

|9

6136-41-4110

INTAKE VALVE

SN: 16877-49999

6шт.

10

6136-42-4210

EXHAUST VALVE

SN: 50001-UP

6шт.

|10

6136-41-4210

VALVE

SN: 16877-49999

6шт.

11

6136-42-4410

VALVE SPRING

SN: 50001-UP

12шт.

|11

6136-41-4410

VALVE SPRING

SN: 16877-49999

12шт.

12

6136-42-4510

SEAT

SN: 50001-UP

12шт.

|12

6136-41-4510

GUIDE

SN: 16877-49999

12шт.

13

6136-42-4520

COTTER

SN: 50001-UP

24шт.

|13

6136-41-4520

COTTER

SN: 16877-49999

24шт.

14

6136-41-4530

SEAT

SN: 16877-UP

12шт.

15

6136-11-1813

GASKET

SN: 24519-UP

1шт.

|15

0

GASKET

SN: (24519-68686)

1шт.

|15

0

GASKET

SN: 16877-24518

1шт.

16

6136-12-1610

BOLT

SN: 50001-UP

26шт.

|16

6136-11-1610

BOLT

SN: 16877-49999

26шт.

17

6138-11-1621

WASHER

SN: .-49999

26шт.

|17

0

WASHER

SN: 16877-.

26шт.

18

6136-11-1910

HANGER

SN: 16877-UP

1шт.

19

6136-11-1821

GASKET

SN: 16877-UP

1шт.

20

6136-11-1920

HANGER

SN: 16877-UP

1шт.

21

01010-31025

BOLT

SN: 16877-UP

2шт.

22

01602-01030

WASHER

SN: 16877-UP

2шт.

Выбрано товаров: 118