Запчасти Komatsu 6D105-1P - -

Схема запчастей Komatsu 6D105-1P - - -
FIT
1:1
100%

Артикул

Название

Примечание

Количество

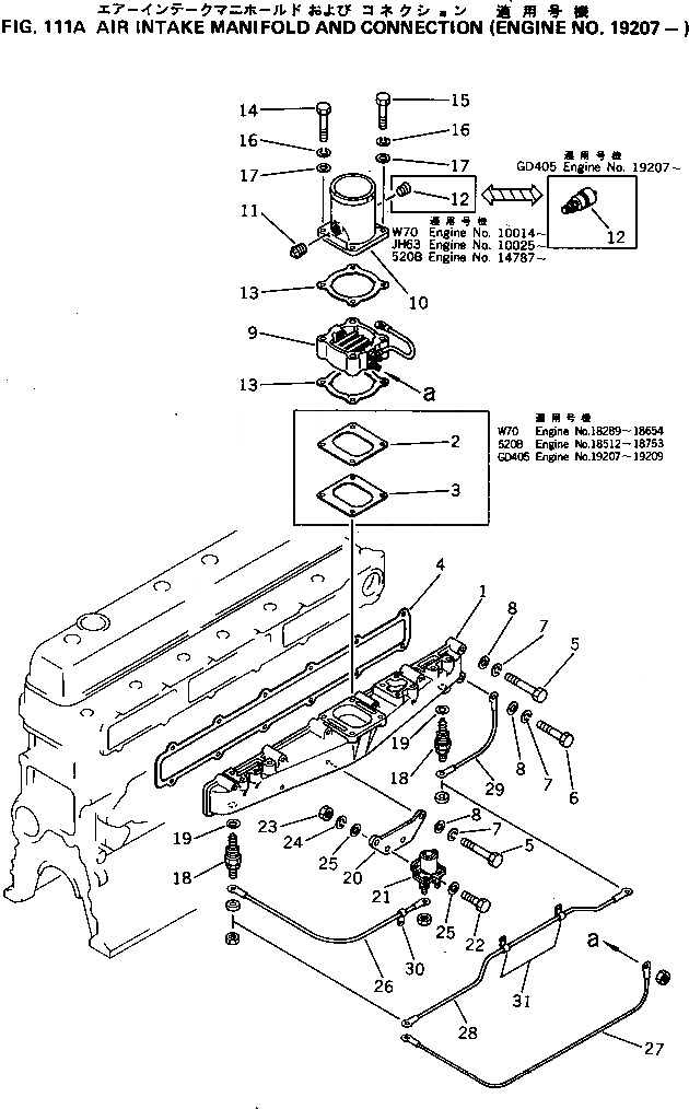
1

6136-11-4123

INTAKE MANIFOLD

SN: 19210-UP

1шт.

|1

6136-11-4122

INTAKE MANIFOLD

SN: 19207-19209

1шт.

2

6136-11-4890

SPACER

SN: 19207-19209

1шт.

3

6136-11-4880

GASKET

SN: 19207-19209

1шт.

4

6136-11-4811

GASKET

SN: 16877-UP

1шт.

5

01010-30865

BOLT

SN: 16877-UP

10шт.

6

01010-30850

BOLT

SN: 16877-UP

2шт.

7

01602-00825

WASHER

SN: 16877-UP

12шт.

8

01640-00816

WASHER

SN: 16877-UP

12шт.

9

600-815-2341

HEATER

SN: 16877-UP

1шт.

10

6136-11-4210

AIR CONNECTOR

SN: 16877-UP

1шт.

11

07042-00108

PLUG

SN: 16877-UP

1шт.

12

08670-50001

DUST INDICATOR

SN: 19207-UP

1шт.

13

6136-11-4820

GASKET

SN: 16877-UP

2шт.

14

01010-30870

BOLT

SN: 19210-UP

3шт.

|14

01010-30875

BOLT

SN: 19207-19209

3шт.

15

01010-30875

BOLT

SN: 16877-UP

1шт.

16

01602-00825

WASHER

SN: 16877-UP

4шт.

17

01640-00816

WASHER

SN: 16877-UP

4шт.

18

600-815-2350

GLOW PLUG

SN: 16877-UP

2шт.

19

07003-02228

GASKET

SN: 16877-UP

1шт.

20

6136-81-4111

PLATE

SN: 16877-UP

1шт.

21

600-815-2170

RELAY SWITCH

SN: .-UP

1шт.

22

01010-30620

BOLT

SN: 16877-UP

2шт.

23

01580-00605

NUT

SN: 16877-UP

2шт.

24

01602-00619

WASHER

SN: 16877-UP

2шт.

25

01641-20608

WASHER

SN: 16877-UP

4шт.

26

6136-81-4210

WIRE

SN: 16877-UP

1шт.

27

6136-81-4220

WIRE

SN: 16877-UP

1шт.

28

6136-81-4230

WIRE

SN: 16877-UP

1шт.

29

6136-81-4240

WIRE

SN: 16877-UP

1шт.

30

08036-11210

CLIP

SN: 16877-UP

1шт.

31

08036-10814

CLIP

SN: 16877-UP

2шт.

1

6136-11-4123

INTAKE MANIFOLD

SN: 19210-UP

1шт.

|1

6136-11-4122

INTAKE MANIFOLD

SN: 19207-19209

1шт.

2

6136-11-4890

SPACER

SN: 19207-19209

1шт.

3

6136-11-4880

GASKET

SN: 19207-19209

1шт.

4

6136-11-4811

GASKET

SN: 16877-UP

1шт.

5

01010-30865

BOLT

SN: 16877-UP

10шт.

6

01010-30850

BOLT

SN: 16877-UP

2шт.

7

01602-00825

WASHER

SN: 16877-UP

12шт.

8

01640-00816

WASHER

SN: 16877-UP

12шт.

9

600-815-2341

HEATER

SN: 16877-UP

1шт.

10

6136-11-4210

AIR CONNECTOR

SN: 16877-UP

1шт.

11

07042-00108

PLUG

SN: 16877-UP

1шт.

12

08670-50001

DUST INDICATOR

SN: 19207-UP

1шт.

13

6136-11-4820

GASKET

SN: 16877-UP

2шт.

14

01010-30870

BOLT

SN: 19210-UP

3шт.

|14

01010-30875

BOLT

SN: 19207-19209

3шт.

15

01010-30875

BOLT

SN: 16877-UP

1шт.

16

01602-00825

WASHER

SN: 16877-UP

4шт.

17

01640-00816

WASHER

SN: 16877-UP

4шт.

18

600-815-2350

GLOW PLUG

SN: 16877-UP

2шт.

19

07003-02228

GASKET

SN: 16877-UP

1шт.

20

6136-81-4111

PLATE

SN: 16877-UP

1шт.

21

600-815-2170

RELAY SWITCH

SN: .-UP

1шт.

22

01010-30620

BOLT

SN: 16877-UP

2шт.

23

01580-00605

NUT

SN: 16877-UP

2шт.

24

01602-00619

WASHER

SN: 16877-UP

2шт.

25

01641-20608

WASHER

SN: 16877-UP

4шт.

26

6136-81-4210

WIRE

SN: 16877-UP

1шт.

27

6136-81-4220

WIRE

SN: 16877-UP

1шт.

28

6136-81-4230

WIRE

SN: 16877-UP

1шт.

29

6136-81-4240

WIRE

SN: 16877-UP

1шт.

30

08036-11210

CLIP

SN: 16877-UP

1шт.

31

08036-10814

CLIP

SN: 16877-UP

2шт.

Выбрано товаров: 66